Expanding

Patents tagged Expanding

Oct 28, 2025

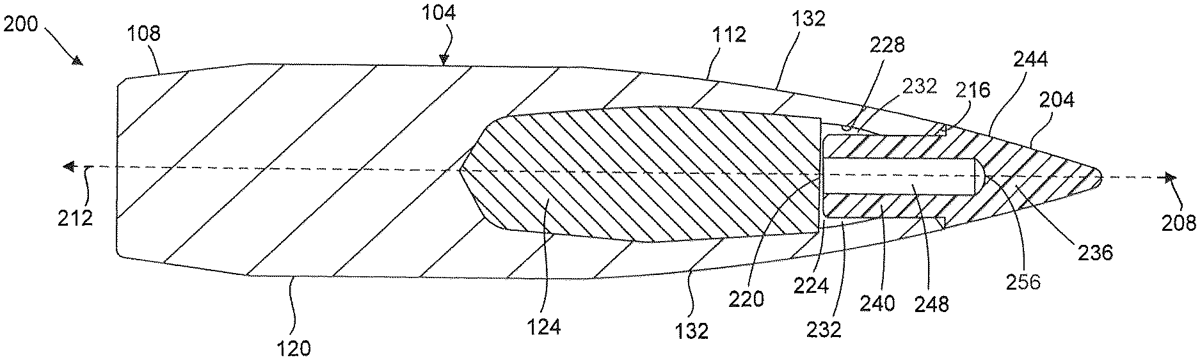
US12455150 - Extended range bullet

A cartridge with an expanding bullet that has advantageous terminal effects over an extended range. The expanding bullet including a bullet body including a metal jacket extending from a tail portion to a nose portion and surrounding an interior solid core and defining a forward opening and interior cavity. A tip has an exterior surface substantially flush with an exterior surface of the metal jacket. The tip has a main portion forward of the opening and a tip retention portion that at least partially fills the interior cavity. In certain embodiments the tip retention portion includes one or more fluid entry facilitation means such as a fracture regions configured to, upon impact of the bullet with a target, fracture or deform to expose one or more fluid pathways into the interior cavity and to a forward facing interior surface for initiating expansion of the expanding bullet.