Filling_tool

Patents tagged Filling_tool

May 6, 2025

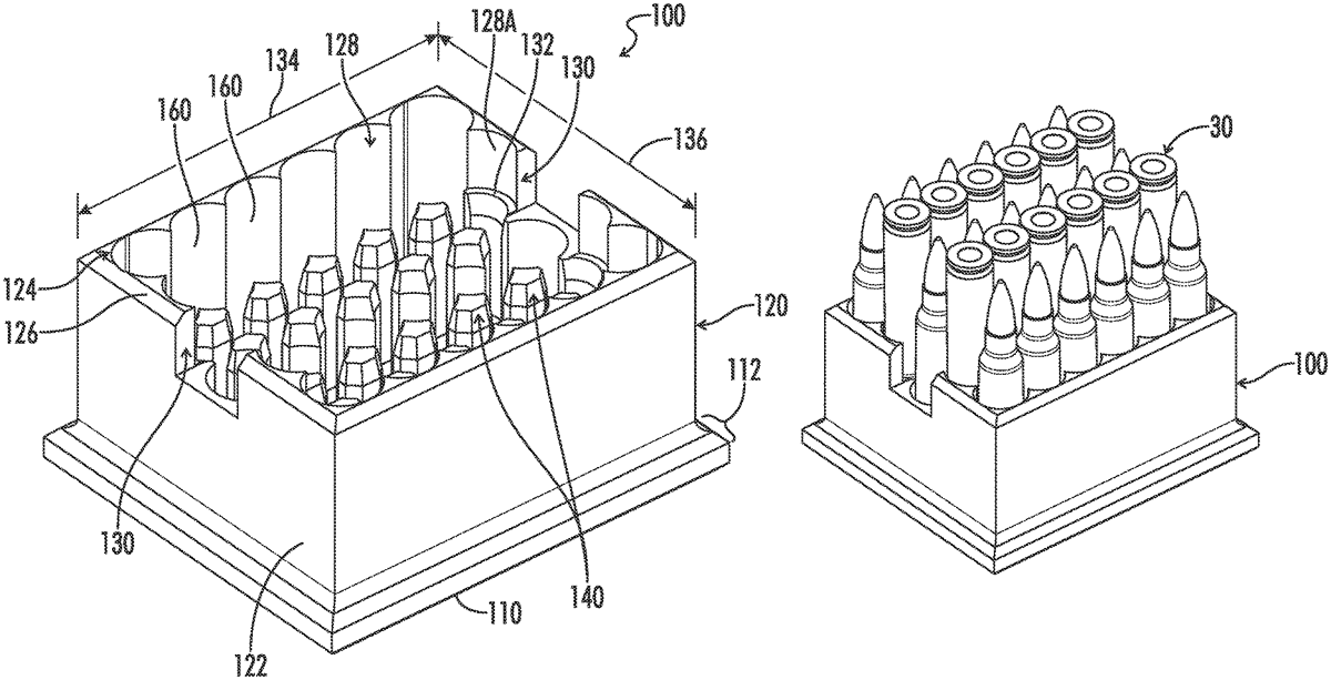
US12292267 - Ammo box filling tool

An ammunition box filling tool apparatus and method for filling a pre-folded card stock box having an open top portion with a plurality of units of ammunition is disclosed herein. The ammunition box filling tool apparatus includes a base portion, a perimeter wall extending upwardly from the base portion, a plurality of fingers extending upwardly from the base portion and surrounded by the perimeter wall, and a plurality of sectioned compartments defined one or more of the perimeter wall or the plurality of fingers. Each of the plurality of sectioned compartments is configured receive one of the plurality of units of ammunition. The method includes at least filling ammunition box filling tool apparatus with the plurality of units of ammunition, engaging the open top portion of the pre-folded card stock box with an upper edge of the perimeter wall and simultaneously flipping the two to transfer the ammunition.