Firearm

Patents tagged Firearm

May 19, 2026

US12629732 - Firearm bore cleaner

A firearm bore cleaner for cleaning a bore of a firearm includes a cleaning segment and a pulling segment. The cleaning segment cleans the bore of the firearm when the cleaning segment is moved along the bore. The cleaning segment includes a tail end connector adjacent a tail end portion. The pulling segment is sized and shaped to be inserted into the bore. The pulling segment includes a head end connector adjacent the head end portion of the pulling segment. A tail end portion of the pulling segment is connected to a head end portion of the cleaning segment. The head end connector of the pulling segment and the tail end connector of the cleaning segment can be releasably connect to each other to couple the head end portion of the pulling segment and the tail end portion of the cleaning segment together in order to form a closed loop.

May 19, 2026

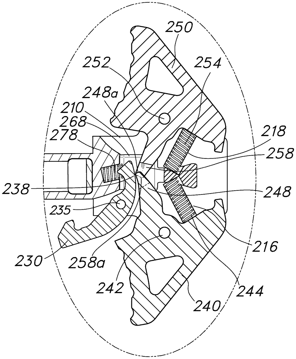
US12631092 - Kinetic energy perforating round and methods of use

Perforation devices including gas supply structures and methods of utilizing the same. The perforation devices include a magazine, a barrel, an action, and the gas supply structure. The magazine is configured to contain a plurality of cartridges. The barrel extends between a breech, which is configured to receive a selected cartridge of the plurality of cartridges that includes a selected projectile, and a muzzle, which is configured, upon firing of the selected cartridge, to permit the selected projectile to exit the barrel at a muzzle velocity and with a muzzle trajectory. The action is configured to transfer the selected cartridge from the magazine to the breech of the barrel and to fire the selected cartridge. The gas supply structure is configured to provide a gas stream to the barrel and includes a surface gas source and a gas supply conduit extending between the surface gas source and the barrel.

May 19, 2026

US12631411 - Pistol compensator components, systems, and methods

In a preferred embodiment, a pistol compensator system comprises a compensator, an elastomeric spacer, an assortment of variously sized shims, a spring guide rod, and a spring plug. The compensator of this system comprises a body, a barrel cavity, a threaded bore, an oval rod cavity, and a plug cavity. The spring plug of this system comprises a latch extension. The spring guide rod of this system comprises a muzzle end. When this preferred embodiment is installed on a pistol, if the pistol is in battery (slide closed) the latch extension is disposed in the plug cavity, and if the pistol is out of battery (slide back) the muzzle end of the guide rod is disposed in the rod cavity. In this preferred embodiment, the compensator is tensioned to the end of the barrel by the elastomeric spacer and a shim.

May 19, 2026

US12631412 - Tapered barrel guides for firearms

A recoil operated gun or firearm utilizes a tapered guide face on a barrel guide and/or a tapered barrel face on a barrel of the gun to realign or zero the barrel relative to a sight device (e.g., optic or iron signs) mounted on the slide or forend supporting the barrel guide.

May 19, 2026

US12631413 - Arrangement for feeding ammunition to a weapon

The present invention relates to an arrangement for feeding ammunition to a weapon mounted to an elevation device for elevation about an elevation axis, the arrangement comprising an ammunition feeding device arranged between an ammunition channel, from which ammunition is guided, and said weapon, said feeding device being rotatably arranged about a feeding axis, said feeding device having at least one ammunition grip member configured to rotate about said feeding axis between an ammunition collection location at said ammunition channel and an ammunition release location at said weapon, wherein said arrangement is configured such that said at least one ammunition grip member is configured to be rotatably adaptable relative to said feeding axis based on the elevation of said weapon so as to facilitate feeding the ammunition to the weapon in connection to the ammunition release location independent of elevation of said weapon.

May 19, 2026

US12631414 - Gun magazine including spring with uneven stack height upon compression

A gun magazine spring and magazine assembly having a novel design. The coils of the spring are configured to nest in certain regions and overlap in others. The result is that—as the spring nears its fully compressed state—the spring has an uneven stack height from left to right. The uneven stack height produces a predictable lateral displacement of the follower. The higher of the two stacked sides of the spring protrudes laterally outward through a lateral relief in the follower. This feature allows the spring and follower to overlap in the vertical direction to a greater extent than would be possible with conventional laterally-even spring nesting. The additional overlap produces additional internal space while also ensuring that the spring and follower assembly behave in a predictable manner.

May 19, 2026

US12631415 - 3D-printed support structures for sound suppressors

Sound suppressors are provided. The sound suppressor includes an engagement, attachable to a barrel of a firearm, and one or more baffle structures manufactured by 3D printing and forming a baffle stack. Each baffle structure includes one or more baffles housed within a wall. The baffles are connected to one another and to the wall by one or more supports, which provide for improved structural strength. The supports further define channels between the baffles and the wall, decreasing weight without sacrificing structural strength. The channels are open or sealed to facilitate flow of pressurized gas between chambers defined by the baffles and the wall, the pressurized gas being generated during discharge of the firearm. The pressurized gas decompresses and cools while traveling between the chambers and the channels, thereafter exiting the sound suppressor at a decreased pressure, temperature, and velocity, which may attenuate a noise associated with the discharge.

May 19, 2026

US12631416 - Suppression systems for firearms

The present disclosure relates to a suppression system for a firearm, including: a barrel having first and second portions, wherein a wall thickness of the second portion is less than that of the first portion; and an integrally mounted suppressor.

May 19, 2026

US12631417 - Firearm accessory mounts

A firearm accessory mounting device is disclosed, comprising a nut, a collar coupled to the nut, and a follower captured between the collar and within a cam track of the nut. When the nut is rotated relative to the collar, threaded engagement secures the nut to the collar. Once the threaded engagement causes a torque threshold to be reached, further rotation of the nut causes the follower to extend radially inward to create a compressive force on a muzzle device and quickly and stably attach the firearm accessory mounting device.

May 19, 2026

US12631418 - Takedown firearm

A takedown firearm that may utilize removable barrels of different calibers. The disclosed firearm does not require a barrel extension, instead providing positioning of the barrel that is sufficiently precise and repeatable. Tensioning of the barrel is provided passively during installation of the removable barrel, without need for adjustment or additional tightening. Securing the removable barrel to the receiver does not structurally involve the fore end, thereby avoiding harmonics effects associated with fore end interfaces to the receiver. The firearm takes advantage of an “underspaced” chamber arrangement to provide additional tolerance for manufacturing and assembly of the firearm.

May 19, 2026

US12631419 - Combined surveillance camera and scope firearm apparatus

The embodiment of this invention is a combined zoom surveillance camera and zoom scope firearm interconnected on a bipole shaft apparatus, including: A top end ball-bearing which is partially encompassed by one end of a peg brace connected to a rotatable overhead pulley rim; A off-middle tripod of three circular level pivotal surveillance cameras; A off-middle ball-bearing which is partially encompassed by a bearing ring affixed with three hook shaped rods for attachably hanging the bipole shaft apparatus from a ceiling; and, a bottom end base of at least one to three scope firearms for targeting a threatening mass human shooter. The entire bipole shaft apparatus of said top end ball-bearing, off-middle three cameras, off-middle ball-bearing, and bottom end one to three firearms may be simultaneously tilt shifted and circularly rotated on a downward angle whenever a local or distal computer terminal operator activate the necessary electrical wire or wireless torque energy conveyed to the bipole shaft's top end ball-bearing's said connected peg brace and pulley rim band via an electric motor and generator box.

May 19, 2026

US12631421 - Firearm training system and method of operation supporting programmable settings

A firearm training system comprises a firearm training device that includes: a device body; a trigger; a trigger sensor; a laser emitter; and an electronic control system. The electronic control system has settings data stored thereon that includes one or more laser settings that defines a pulse length and/or an emission duration of the laser. The electronic control system is configured to: responsive to actuation of the trigger, control the laser emitter to emit the laser at the pulse length and/or the emission duration defined by the one or more laser settings; receive a command to change a laser setting of the one or more laser settings; and update the laser setting based on the command to vary the pulse length and/or the emission duration of the laser to be emitted by the laser emitter responsive to actuation of the trigger.

May 19, 2026

US12631422 - Magwell for use with firearms

The invention is related to a magwell ( 7 ) which provides for a more practical placement of the magazine into the magazine bearing and speeding of the magazine changing procedure. The magwell body ( 1 ) of the mentioned magwell ( 7 ) aims to be detachably attached to the grip secondary element ( 5 ) which defines the grip and which can be detachably attached to the grip primary element ( 4 ) that is part of the firearm grip.

May 19, 2026

US12631423 - Firearm stock

A firearm stock includes a comb and a storage cavity that includes an opening extending through at least a portion of the comb. A storage lid is configured to at least partially cover the opening, wherein the storage lid has an open position and a closed position. In some embodiments, a cheek riser is attached to the storage lid. Other firearm stocks and firearm stock accessories are disclosed.

May 19, 2026

US12631426 - Adjustable rear sight used for adjusting height and direction during firearm aiming

The invention relates to the design of an adjustable rear sight assembly which is developed for improving the low hit rate that is caused by user or external errors in the daily use of firearms ( 4 ) and/or professional marksmanship contests; which provides a more stable shooting for the user by producing the fixed rear sight piece used in aiming the firearm ( 4 ) with adjustable height and direction. The rear sight lever ( 1 ), sliding rear sight ( 3 ) and closure part ( 2 ) form the rear sight assembly by being mounted to each other. The adjustable rear sight assembly is also formed on the firearm ( 4 ) and can be connected to the mounting surface ( 12 ).

May 19, 2026

US12631427 - Firearm foregrip with illuminator

A firearm accessory and associated components and methods. The firearm accessory can include a foregrip and/or an illuminator (e.g., light and/or laser). The firearm accessory can include a support body selectively operatively connectable to a support body receiver in a first orientation and in a second orientation. The support body can include an actuator configured to change an operational state of the illuminator and/or a port configured to connect a remote actuator to the support body.

May 12, 2026

US12624908 - Break-barrel firearm

The present invention concerns a firearm comprising at least one frame; and a barrel group comprising at least one barrel, the barrel group being mounted in a tilting manner with respect to the frame, wherein the frame houses at least one closing device configured to act between the frame and the barrel group so as to selectively prevent the frame of the barrel group from tilting with respect to the frame, and is characterized in that the closing device comprises at least one pair of clamping elements with longitudinal development independent of each other, the clamping elements being slidably housed inside the frame, each along its own longitudinal development axis; and at least one pair of buffers each coupled to a respective clamping element so as to exert an axial thrust force on the respective clamping element substantially in parallel to and/or substantially along the respective longitudinal development axis.

May 12, 2026

US12624909 - Firearm buffer systems

A buffer system for a firearm includes a buffer body with an internal passage, a guide rod at least partially disposed in the internal passage such that the guide rod includes a slot, a buffer bumper, an end cap, a magnet attached to the guide rod, and at least one spring. The buffer bumper and the end cap are disposed near a rear end of the guide rod. The magnet creates a force acting on the buffer body.

May 12, 2026

US12624910 - Reduced weapon system blowback

A reloading firearm featuring a mechanism to reduce the blowback of toxic propellant gasses towards the warfighter. The reloading assembly acts in plural segments to increase the firing chamber-closed dwell time, while limiting adverse impact to the overall nominal rate of fire. Greater dwell time corresponds with reduced exposure of the warfighter to propellant gasses. Moreover, increasing the dwell time without otherwise altering the firing cycle has the additional effect of delaying the breech opening after the cartridge is fired. This delay in breech opening permits gas pressure at the muzzle, which may be elevated and/or constrained by flash and/or sound suppression, to dissipate before the breech is opened. Accordingly, when the breech opens later in the firing cycle, there is a reduced pressure gradient across the combination of barrel and firing chamber, which reduces a driving force of propellant gasses towards the warfighter via the open breech.

May 12, 2026

US12624911 - Firearm receiver assembly with ammunition belt feeding capability and firearm comprising same

A firearm receiver assembly comprises a receiver body, a top cover, and an ammunition advancing mechanism mounted on the top cover. The top cover is pivotably attached at a mounting portion thereof to a mounting portion of a receiver body for enabling the top cover to be pivotable about a top cover pivot axis between an open position and a closed position with respect to the receiver body. The top cover pivot axis extends parallel to a bore axis of the receiver body.

May 12, 2026

US12624912 - Slide assembly for a firearm, as well as an indicator for use in the slide assembly, and a firearm comprising the slide assembly, and a method for assembling the slide assembly

The invention relates to a slide assembly ( 2 ) for a firearm ( 1 ), the slide assembly ( 2 ) comprising: a slide ( 5 ); a barrel ( 7 ) with a cartridge chamber ( 21 ); an indicator ( 23 ) for indicating whether a cartridge ( 22 ) may be loaded in the cartridge chamber ( 21 ), wherein the indicator ( 23 ) has a first lever arm ( 24 ) and a second lever arm ( 25 ), wherein a pivot bearing ( 26 ) for pivotably receiving the indicator ( 23 ) in the slide ( 5 ) is formed between the first lever arm ( 24 ) and the second lever arm ( 25 ). The pivot bearing ( 26 ) has a first pin ( 34 ) on a first side ( 33 ) and has a second pin ( 36 ) on a second side ( 35 ) with respect to a transverse direction ( 13 ). The first pin ( 34 ) is received in the slide ( 5 ) in a first pin receptacle ( 38 ) and the second pin ( 36 ) is received in the slide ( 5 ) in a second pin receptacle ( 39 ).

May 12, 2026

US12624914 - Weapon usage monitoring system having predictive maintenance and performance metrics

A method for initiating a responsive action based on an operational status event of a firearm is provided. The method can include receiving, by an event detection module, acceleration and rotation input signals from an inertial measurement unit configured on the firearm. An occurrence of an operational status event based on the acceleration and rotation input signals are identified by the event detection module. A tipping signal is generated by the event detection module based on the identified operational status event. The tipping signal is received at a responsive infrastructure. The responsive infrastructure performs a responsive action based on the tipping signal.

May 12, 2026

US12624915 - Suppression device with purposely induced porosity for firearm

A suppression device includes a body including an outermost external surface of the suppression device, a first end, and a second end; a core configured to be inserted into the body and including a baffle; and a bore extending completely through and along a longitudinal axis of the suppression device, wherein porosity is a fraction of a volume of pores per volume of mass in a material of the suppression device, a structure of the pores is not random, and the porosity of a portion of the core including the baffle is different than the porosity of a portion of the body.

May 12, 2026

US12624917 - Hybrid stabilizer rod

A hybrid stabilizer rod preferably includes a stabilizer tube, a first end cap and a second end cap. The stabilizer tube preferably includes a base tube, a first carbon fiber sheet and a second carbon fiber sheet. The first carbon fiber sheet includes a plurality of parallel fibers. The second carbon fiber sheet includes a plurality of first and second fibers. The first carbon fiber sheet is wrapped around the base tube. The second carbon fiber sheet is wrapped around the first carbon fiber sheet. The first and second end caps preferably include a thin head formed on a first end of a cap body and a tapered bore formed in a second end of the cap body. A threaded tap is formed in the first end of the cap body. An outer perimeter of cap body is sized to be received by an inner perimeter of the base tube.

May 12, 2026

US12624921 - Firearm sighting device and system

A targeting device for a firearm having a sighting device, the targeting device having a mount capable of being secured to the fire arm, and a camera capable of capturing images in a field of view including the sighting device, the camera being adjustable relative to the sighting device such that it can be aligned with the sighting device.

May 12, 2026

US12624922 - LED emergent light adjusting mechanism and inner-red-dot aiming device therefor

An LED emergent light adjusting mechanism and an inner-red-dot aiming device therefor, wherein the LED emergent light adjusting mechanism comprises a vertical adjusting assembly and a horizontal adjusting assembly; the vertical adjusting assembly comprises an up-and-down adjusting sliding block, a vertical adjustment screw and two vertical adjustment spring sets arranged on two sides of the vertical adjustment screw; a nut member and a spring guiding and limiting column set are fixed at the bottom of a rear end of the up-and-down adjusting sliding block; the horizontal adjusting assembly comprises a left-and-right sliding block, a return spring, a vertical spring ejector pin assembly, a horizontal spring ejector pin assembly, a horizontal adjusting screw coupled with the other end of the left-and-right sliding block by means of a square nut, and an LED chip assembly arranged on a front end surface of the left-and-right sliding block.

May 12, 2026

US12624925 - Hinged scope ring

A scope ring for attaching a rifle scope to a mounting rail of an armament includes a lower component that is attached onto the mounting rail and an upper component that is fastened to the lower component to define and extend along an outer perimeter of a scope ring through-hole that receives and holds the scope. The upper component member extends at least one hundred eighty (180) degrees along the perimeter but is constructed to enable a scope to be received into the scope ring or be removed from the scope ring if the scope ring extends more than one hundred eighty (180) degrees to present a slimmer profile. The upper component can be attached to different compatible lower components that enable the scope ring to define different scope ring heights.

May 5, 2026

US12618624 - Modular bolt action rifle

The present disclosure presents a modular bolt action rifle system with roller bearings having an upper receiver assembly housing a barrel, a lower receiver assembly comprising an AR-style fire control system and a magazine well, a bolt carrier group assembly including a bolt carrier, top roller bearings and side roller bearings, and a handguard assembly, wherein the lower receiver assembly and its AR-style fire control and magazine well are releasably attached to the upper receiver, and prior to attachment of the barrel assembly the bolt carrier group assembly, consisting of the bolt carrier, bolt head, bolt charging handle, top roller bearings, and side roller bearings is inserted unto the upper receiver. An extension of the barrel assembly is releasably attached to the upper receiver. The barrel assembly is releasably secured by releasable attachment of the handguard assembly to a barrel extension receiver of the upper receiver assembly.

May 5, 2026

US12618625 - Compact stock for AR-style firearms

A compact stock for an AR-style firearm includes a receiver extension configured to attach to a lower receiver, a buffer assembly receivable in the receiver extension, a buffer biasing member receivable in the receiver extension, and a buffer locking mechanism. The buffer assembly is configured to reciprocate between a retracted position wherein the buffer assembly is contained within the receiver extension, and an extended position wherein the buffer assembly is in-battery within an upper receiver. The buffer biasing member is configured to bias the buffer assembly toward the extended position. The buffer locking mechanism is configured to selectably retain the buffer assembly and the buffer biasing member within the receiver extension when the buffer assembly is in the retracted position such that the upper receiver is rotatable relative to the lower receiver about a forward take down pin of the firearm unimpeded by the buffer assembly and buffer biasing member.

May 5, 2026

US12618626 - Charging handle and upper receiver assembly for a firearm

A charging handle assembly for a firearm may include a charging handle body including a handle portion and a shaft portion, a first actuation wing rotatably coupled to the handle portion and configured to rotate about a first rotational axis between a first position and a second position, and a biasing mechanism engaging the first actuation wing and biasing the first actuation wing to the first position. The first actuation wing may include a latch configured to selectively engage an upper receiver assembly of the firearm, and the first actuation wing may have a center of mass disposed along the first rotational axis.

May 5, 2026

US12618628 - Forged carbon fiber rifle barrel

A method of forming a carbon fiber rifle barrel may include the steps of heating a barrel core to increase the length of the barrel, placing the barrel core inside a mold and holding the lengthened barrel in place, adding a carbon fiber mix to the mold in which the carbon fiber mix includes a blend of resin and chopped carbon fibers, sealing the mold, curing the carbon fiber mix surrounding the lengthened barrel core in which the cured carbon fiber mix holds the length of the barrel core creating a tension on the cooled barrel core which increases a rigidity of the rifle barrel thereby increasing the accuracy of the rifle barrel, removing the rifle barrel from the mold, and finishing the rifle barrel via grinding to a desired finish.

May 5, 2026

US12618630 - Modular firearm suppressor

A firearm suppressor that includes a mount configured to connect the firearm suppressor to a barrel of a firearm. The firearm suppressor includes a first module connected to the mount. The interior of the first module is a first chamber and the first module does not include a baffle. The firearm suppressor includes a second module connected to the first module. The second module includes a plurality of baffles and at least one peripheral pathway that bypasses a second baffle of the plurality of baffles by fluidly connecting an exterior of a first baffle of the plurality of baffles with an exterior of an exterior of a third baffle of the plurality of baffles. The firearm suppressor includes an end cap connected to the second module.

May 5, 2026

US12618631 - Suppressor

A suppressor assembly is disclosed. The suppressor can comprise an outer tube defining a barrel axis, a first endcap configured to couple to a barrel of a firearm at a first end of the outer tube, and a spacer assembly in the outer tube. The spacer assembly can be positioned and/or captured between the first endcap and an exit side of the outer tube. The spacer assembly can comprise a plurality of spacers comprising a plurality of small and large diameter baffles oriented in different desirable positions within the spacer assembly. The baffles and spacers can be constructed from different materials so the weight of the baffles are greater than the weight of the spacers.

May 5, 2026

US12618632 - Off-axis serpentine flow chamber for firearm suppressors

A firearm sound suppressor can include an outer housing that defines a bore axis and an inner wall disposed at least partially within the outer housing. The inner wall can be oriented along the bore axis and includes a cylindrical central chamber. An annular chamber can be disposed between the outer housing and the inner wall. At least one helical partition can be disposed in the annular chamber to define at least one interleaved helical pathway through the annular chamber. Each interleaved helical pathway includes a first forward helical segment, a reverse helical segment sharing a first common wall with the first forward helical segment, and a second forward helical segment sharing a second common wall with the reverse helical segment. The first and second common walls can be distinct from one another.

May 5, 2026

US12618633 - Gun barrel brush

A cleaning tool for ported firearm barrels with integrated suppressors is disclosed. The tool comprises a cylindrical brush housing with an inner cavity to accommodate a barrel brush insert featuring radially extending bristles for removing carbon deposits and debris. A retaining washer and clip secure the brush insert within the housing. The assembly includes a cylindrical handle with internal threading to engage the housing's threaded neck, and an externally knurled surface for improved grip. The brush insert is interchangeable, allowing various cleaning media such as stainless steel, alloy steel, Aluminum, Bronze, Nylon, Brass, Plastic, Polypropylene, rubber, or other metals. The design eliminates the need for firearm disassembly and avoids reliance on the suppressor as a cleaning component, enhancing user safety and preserving firearm integrity. This tool facilitates efficient maintenance of firearms with integrally suppressed systems, promoting reliability and extending the lifespan of the firearm.

May 5, 2026

US12618637 - Muzzle loader

A muzzle loading system includes a ramrod and a muzzle loader. The ramrod includes ramrod body having a ramrod proximal end and a ramrod distal end. The muzzle loader receives the ramrod proximal end, applies a loading pressure to the ramrod, and provides audible and/or haptic feedback in response to the applied loading pressure reaching a target loading pressure.

May 5, 2026

US12618638 - Firearm sling connector with a swivel assembly

A firearm accessory connector includes a mount assembly to connect the firearm accessory connector to a firearm; a swivel assembly coupled to the mount assembly and providing for rotation around the mount assembly, the swivel assembly having a swivel sleeve coupled to the mount assembly and to rotate about the mount assembly; and a flexible member coupled to the swivel sleeve and extending from the swivel sleeve, the flexible member to attach to an accessory such that the accessory is coupled to the firearm.

May 5, 2026

US12618640 - Firearms accessory device

A firearm accessory device removably attachable to a firearm. The accessary device including a finger stop assembly for coupling to a handguard, forestock, barrel or accessory rail of a firearm. The finger stop device may include an illumination device and a power source housed within the device. In embodiments, the device may further include one or more activation devices operably and electrically connected to the illumination device and positioned at an access opening forwardly oriented in a body portion of the device.

May 5, 2026

US12618641 - Firearm shoulder stock assembly

An adjustable firearm butt stock that is constructed to be secured to a rearward facing end of a firearm receiver assembly. The butt stock defines a plurality of magazine wells that are offset from one another along a longitudinal axis of the stock. Each magazine well opens in a generally downward facing direction and is constructed to removeably cooperate with cartridge magazines that removeable cooperate with the receiver magazine well associated with operation of an underlying firearm. The stock includes discrete magazine catches associated with each of the respective wells and which are operable to selectively secure and/or effectuate storage and/or removal of discrete cartridge magazines from a respective one of the first and second magazine wells defined by the butt stock.

May 5, 2026

US12618643 - Handless shoulder-fire firearm carry system

A handless shoulder-fire firearm carry system for securing a shoulder-fire style firearm to a user moving in a walking pace or in a running pace includes a firearm including a frame having a first section, a second section, and a center section. A belt is worn about a waist of the user. An anchor is coupled to the belt and secures the firearm to the belt. A vest is worn on a torso of the user. The vest holds the firearm in a downward position relative to the user. A pair of securing attachments is coupled to the firearm. Each of the securing attachments facilitates securing the firearm to the anchor. The pair of securing attachments includes a first securing attachment facilitating securing the first section of the firearm to the anchor and a second securing attachment facilitating securing the center section of the firearm to the anchor.

May 5, 2026

US12618645 - Scope protector for weapon scope

A scope protector for a weapon scope includes a scope adapter defining a cylindrical bore, the scope adapter having a first end that is configured to connect to an end of the weapon scope to align the cylindrical bore of the scope adapter with a lens of the weapon scope. The scope protector may further include a lens cover defining a cylindrical bore, the lens cover being configured to connect to a second end of the scope adapter opposite the first end (and/or to an intervening diffuser adapter housing a diffuser such as a honeycomb diffuser) to align the cylindrical bore of the lens cover with the lens of the weapon scope. The scope protector may further include one or more transparent polymer films housed within the lens cover so as to cover the cylindrical bore thereof.

Apr 28, 2026

US12613071 - Control-tilt follower for a firearm magazine

A control-tilt follower for a firearm magazine includes a first leg and a second leg. The first leg and the second leg are flexible which allows the follower to tilt upwardly and downwardly inside a firearm magazine. The first leg includes an indent. The second leg includes a protrusion. A follower retainer is disposed on a side of the follower to act as a guide for the follower to move up and down the firearm magazine. The follower connects to a spring inside the firearm magazine.

Apr 28, 2026

US12613072 - Fluid pressure dampener with structurally improved baffles

A suppressor has an outer shell with a bore defined along a central longitudinal axis of the shell and fluidically coupling an entrance port to an exit port. Baffles enclosed within the outer shell each have a central aperture circumvolving the bore and a deflecting channel radially offset from the bore and in fluid communication with the central aperture. Each deflecting channel is formed by opposing sidewalls formed in a baffle and extending to a diversion wall. First and second openings of a deflecting channel fluidically couple the channel with the bore and with the volume enclosed by the outer shell. Each deflecting channel deflects propellant gases in a direction perpendicular to axial flow through the bore.

Apr 28, 2026

US12613073 - Apparatus, methods, and system for retarding heat dissipating from the barrel of a firearm

A heat retardant system for covering a barrel of a firearm is disclosed. The system comprises a tubular sleeve with innermost and outermost layers, first and second end portions each having an opening, and a fastener for securing the sleeve to the firearm. The tubular sleeve spans substantially the entire barrel, enhancing heat management. The innermost layer comprises a heat tolerant material that forms a retardant channel enveloping the barrel. Additional features include a first section on the outermost layer covering portions of the inner layer, vents for improved heat dissipation, and a rigid stabilizer to maintain the sleeve's upright position. An elastic cord fastener and a unique configuration with a cutout facilitate attachment to firearm components. This system is adaptable for various firearm designs, significantly improving heat management while maintaining barrel accessibility and safety during use.

Apr 28, 2026

US12613077 - Barrel shroud for tilting barrel

A weapon accessory includes a barrel shroud that has left and right side walls from which rearwardly extends an attachment member. An upper member extends between upper portions of the left and right side walls. The upper member does not extend to a distal end of the barrel shroud, and instead a distal opening is left between the upper portions of the left and right side walls. This distal opening accommodates barrel tilt of a barrel extension.

Apr 28, 2026

US12613079 - Boresight device, firearm calibration system, and method

A boresight device for calibrating a firearm and insertable into a chamber of the firearm. The boresight device includes a housing, a light-emitting assembly, and a magnet. A boresight device for calibrating a firearm is insertable into a chamber of the firearm. The housing is configured to be placed in the chamber of the firearm, the housing defines an emitting surface at a first end. The light-emitting assembly is received in the housing and is configured to emit a light beam out of the firearm when the housing is placed in the firearm. The magnet is attached to the housing. The magnet is positioned to magnetically engageable with a portion of the firearm, and the magnet is movable relative to the chamber.

Apr 21, 2026

US12607423 - Two part bedding block for a firearm

A firearm including a rear action screw pillar configured to mount in a stock of the firearm and receive a rear action screw therethrough to secure an action of the firearm to the rear action pillar. The firearm further includes a front action screw pillar configured to mount in the stock of the firearm forward of the rear action screw pillar and receive a front action screw therethrough to secure the action of the firearm to the front action screw pillar.

Apr 21, 2026

US12607424 - Last round hold open

An assembly for holding a bolt of a firearm in an open position is disclosed. The assembly comprises a bolt catch pivotable about a first axis toward and away from a catching position. In the catching position, a portion of the bolt catch is within a path of travel of the bolt. A follower transfer adapter is pivotable about a second axis. The follower transfer adapter includes an engagement portion that is configured to engage a follower of a magazine. Optionally, the follower transfer adapter includes an overhang lip that extends transversely to the longitudinal axis of the firearm and into a path of travel of the follower to define the engagement portion. The engagement portion is positioned between the second axis and the bolt catch along the longitudinal axis of the firearm. A linkage transfers rotational movement of the follower transfer adapter to rotation of the bolt catch.

Apr 21, 2026

US12607425 - Opposing force recoil reduction in a firearm

A firearm which provides recoil reduction using the kinetic energy of the hammer to cancel a portion of the bolt's recoil after a round has been fired. After the bolt starts to move rearward in response to the detonation, the hammer's forward kinetic energy is transferred onto the bolt by striking it at the moment the bolt starts to travel rearward or after the bolt has started its rearward motion.

Apr 21, 2026

US12607426 - Semi-automatic shotgun and components thereof

A semiautomatic shotgun comprising a receiver, a barrel, a forward gas block assembly attached to the barrel, a slider assembly rearward of the gas block assembly extending into the receiver. Upon firing a shotshell the explosive gases in the barrel are diverted through two ports into the gas block assembly, specifically into a pair of lateral pressure relief valves positioned on both sides of the barrel. The pressure relief valves further having a gas pathway from the barrel provided by clusters of holes less than a specific size and on-center with the barrel axis. A piston is forced rearwardly and engages a slider of the slider assembly that is linked to a breech block in the receiver. The breech block loads unfired shells and ejects the fired shells accomplishing the semiautomatic recycling. The dual pressure relief valves actuate to moderate and limit the gas pressure that enters the piston chamber when using shotshells of different power levels thereby providing consistency in the recycling operation. The shotgun assembled with a plurality of retention pins having uniformly sized O-rings.

Apr 21, 2026

US12607428 - Blast attenuation device

A blast attenuation device for a gun tube. The blast attenuation device has a first wall section which defines a first chamber, which extends from an inlet end having an inlet aperture to an outlet end having an outlet aperture. The blast attenuation device also has a second wall section which defines a second chamber, which extends from an inlet end having an inlet aperture to an outlet end having an outlet aperture.

Apr 21, 2026

US12607430 - Pistol stabilizer platform

A pistol stabilizer platform includes a platform member including multiple mounting provisions, a forward handgun clasping assembly secured to the platform member at a first one of the multiple mounting provisions, and a rear grip abutment member secured to the platform member at a second one of the multiple mounting provisions. The platform member is located only on one side of the handgun placed in the pistol stabilizer platform.

Apr 21, 2026

US12607431 - Structures for firearms

A buffer tube for a firearm can include a body defining an interior cavity for receiving a buffer spring and a rail disposed on and/or formed from the outer surface of the body. The rail can include one or more pin holes configured to receive a pin of a stock to lock the stock in a position. The buffer tube can also include a slide bar channel defined through at least a portion of the rail and configured to allow a slide bar to slide therein relative to the one or more pin holes to urge a pin out of a respective pin hole and/or to block a pin from being received by the pin holes.

Apr 21, 2026

US12607433 - Method, apparatus, terminal, and storage medium for image processing

A method and device for image processing, a terminal and a storage medium. The method includes acquiring an image generated by an infrared sighting telescope arranged on a firearm; determining a grey level dynamic range of a preset first portion of the image; if a difference value between the grey level dynamic range value and the grey level of the preset second portion reaches a preset starting processing threshold, performing mean filtering processing on each pixel of the preset second portion to obtain a filtered grey level; and if the filtered grey level is greater than a preset grey level expectation threshold, processing the pixel, so that the grey level of the pixel is close to the grey level expectation value.

Apr 21, 2026

US12607438 - Projectile and firearm system

A cartridge is disclosed with a casing and a projectile, wherein external ballistic stability is provided by a center of pressure of the projectile being rearward of a center of mass of the projectile. The projectile includes flight control surfaces that cooperate with the bore of a barrel without requiring rifling or sabots. The projectile can include fin configurations that cooperate with the bore to form a bearing surface with the bore.

Apr 14, 2026

US12601554 - Firearm loader

A firearm loader includes a body defining a cavity with a first open end and a slot communicating with the cavity and an interface arm extending from the body. A method includes positioning a firearm loader on a firearm, the firearm loader comprising a body defining a cavity with a first open end and a slot communicating with the cavity and an interface arm extending from the body and transferring cartridges positioned in the cavity through a magazine opening of the firearm by engaging the cartridges through the slot and pushing the cartridges through the first open end. Positioning the firearm loader on the firearm comprises positioning the interface arm on a trigger guard of the firearm to align the first open end with the magazine opening.