Fragmentation

Patents tagged Fragmentation

May 12, 2026

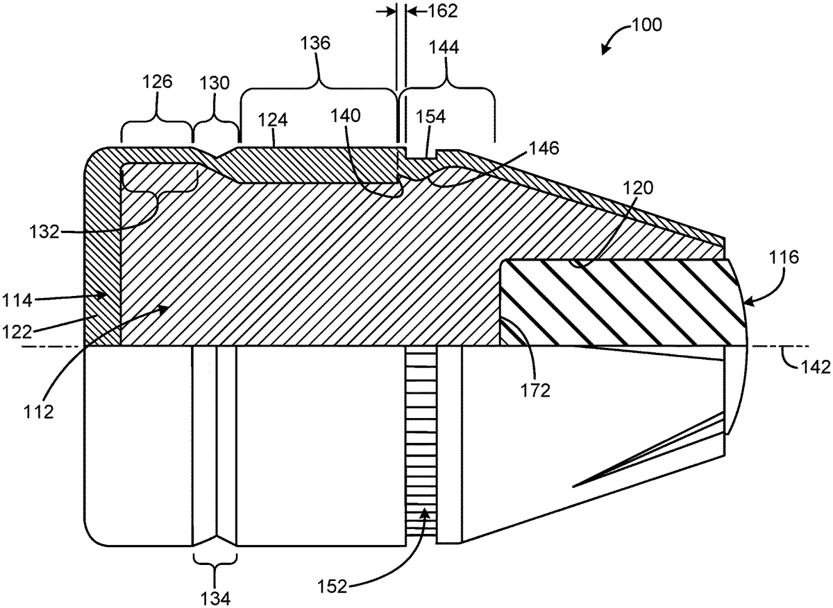
US12623781 - Payload container for unmanned aircraft and associated systems and methods

A payload container includes a nose cone electronics hub assembly, a collar assembly, a canister assembly, and a grid fin system. The nose cone electronics hub assembly has a nose cone housing electronic components in support of flight and detonator systems. The collar assembly includes a collar coupling the nose cone electronics hub and canister together. A canister of the canister assembly houses separate parts when in a shipping configuration that can be attached to an exterior of the payload container in a deployment configuration. A fin assembly facilitates vertical descent of the payload container when dropped from an unmanned aircraft.

Jan 27, 2026

US12536347 - Helical patterning on a curved surface for additive manufacturing of a fragmentation device

Methods of creating geometry for a fragmentation device are presented. The geometry may be generated using computer-aided design tools. An inner body with a curved surface may be generated. An intersection line may be generated on the curved surface by tracing a helical path. A fragment comprising a fragment surface tangent to the curved surface may be generated and aligned with the intersection line. A pattern of fragments may then be generated based on the fragment, the intersection line, and the curved surface. The geometry of the fragmentation device may be stored for manufacture of the fragmentation device by additive manufacturing.

Oct 21, 2025

US12449242 - High-strength munitions structure with tailored fragmentation

A bulk metallic glass (BMG) material includes at least one high strength reactive alloy having a surface on which one or more surface features are formed. The one or more surface features are configured to at least partially control a fragmentation of the BMG material. The BMG material forms a cavity within which an explosive is configured to reside.

Jun 17, 2025

US12332033 - Munition with directional projection explosive

A munition has an explosive charge with direction explosive characteristics, such as a nonuniform detonation velocities. The explosive charge may have multiple portions of explosives with nonuniform characteristics, and/or may have portions with graded nonuniform characteristics. The explosive charge may be used to propel a material from the munition in a desired manner. For example the material may be fragments that are part of a fragmentation munition. Alternatively the material may be a layer of a material, such as a metal, that produces an explosively formed penetrator or shaped charge. The explosive charge may be configured to control the spread and/or direction of the material to be propelled from the munition.

Apr 22, 2025

US12281883 - Bullet with controlled fragmentation

A bullet with controlled fragmentation has a core in the form of a generally cylindrical body having a forward end and a rear end and intermediate side portions extending there between, the forward end of the core defining a cavity, a jacket encompassing the rear end and at least selected portions of the sides of the core, the jacket having a sidewall having a first drive band portion having a first wall thickness, and a second portion immediately forward of the drive band portion having a second thickness less than the first thickness, the exterior of the jacket defining a cannelure groove encircling the bullet, and the cannelure groove being positioned forward of the first drive band portion. The drive band may have forward edge defining a step. The bullet of the present invention may also be received in the case mouth of a rimless case and be partially protruding therefrom.