Gas Block

Patents tagged Gas Block

Jun 24, 2025

US12339087 - Gas block for a firearm

A gas block for a firearm may include a body, a barrel bore extending from a first end to a second end of the body and configured to receive a portion of a barrel therein, a gas tube bore extending from the first end toward the second end and configured to receive a portion of a gas tube therein, a gas port extending from the barrel bore to the gas tube bore, and an alignment aperture extending from the gas tube bore to a top side of the body and coaxial with the gas port, with the alignment aperture being configured to allow visualization of alignment of the gas port with a barrel gas port of the barrel.

May 27, 2025

US12313367 - Adjustable gas block with front adjustment access for firearm direct-impingement gas system

An adjustable gas system for a firearm includes a one-piece gas block body, configured to be fixed to a barrel of the firearm, and a partial annular gas regulator. The gas block includes a gas flow hole that receives a gas tube of the firearm. The gas block body also includes a gas block body bulge and a ring at one end of the gas flow hole. The gas block body clamps to a barrel of the firearm by: (i) set screw(s), and (ii) direct/physical contact of the gas block body bulge and the ring. The gas regulator, when installed on the barrel, rotatably and partially surrounds the barrel such that, as the gas regulator is rotated around the barrel from a first position to a second position, a diameter of a resultant gas port hole changes as controlled by allocation holes on the gas regulator.

May 6, 2025

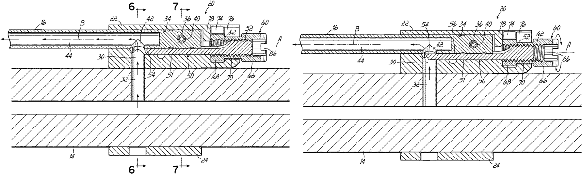
US12292251 - Adjustable gas block for firearm

An adjustable gas block for a firearm comprises a housing adapted to be attached to a barrel of the firearm. The housing has a first passageway adapted to be aligned with a gas port in a barrel of the firearm and a second passageway adapted to receive a gas tube of the firearm, such that a bore of the barrel, the gas port of the barrel, the first passageway, and the gas tube are in fluid communication. A valve member is mounted in the housing for forward and rearward sliding movement and has a first portion and a second portion. The first portion has an upwardly facing surface having a radius of curvature that closely approximates a radius of curvature of an outer diameter of the gas tube, and the second portion has threads. A nut is carried by the housing for rotational movement and has threads mating with the threads on the second portion of the valve. Rotating the nut in a first direction translates the valve member forwardly and rotating the nut in a second opposite direction translates the valve member rearwardly. The axial position of the first portion of the valve member controls the amount of gas passing from the first passageway to the gas tube by completely opening, partially opening, or completely closing the first passageway.