Gas-Operated

Patents tagged Gas-Operated

Feb 17, 2026

US12553684 - Non-lethal gas operated gun

A pre-pack assembly for use with an air gun and for use with a magazine that is removably insertable into the air gun, the pre-pack assembly includes a pre-pack that contains a gas canister, wherein inserting the pre-pack into the chamber of the magazine fluidly connects the gas canister with the magazine.

Jun 17, 2025

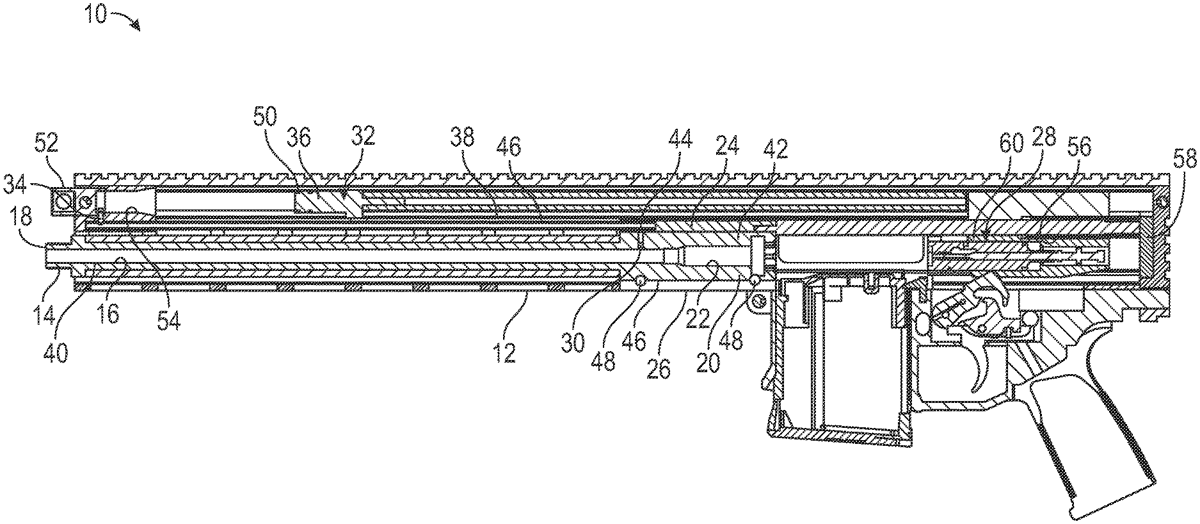
US12332012 - Gas-operated firearm

A gas-operated firearm has a frame, a barrel defining a bore having a forward muzzle end and an opposed rear end defining a chamber, a bolt assembly received in the frame and operable to reciprocate between a battery position and a recoil position, the barrel defining a gas aperture communicating with the bore, a gas operating system connected to the frame, having a gas inlet, and operably connected to the bolt assembly to move the bolt assembly from the battery position toward the recoil position, and the gas inlet being forward of the gas aperture. There may be a gas conduit extending forward from the gas aperture to the gas inlet. The gas aperture may be proximate the rear end of the barrel. Unlike conventional gas-operated firearms, the barrel is free of contact with any other elements except proximate the rear end of the barrel.