Gas_valve

Patents tagged Gas_valve

Apr 15, 2025

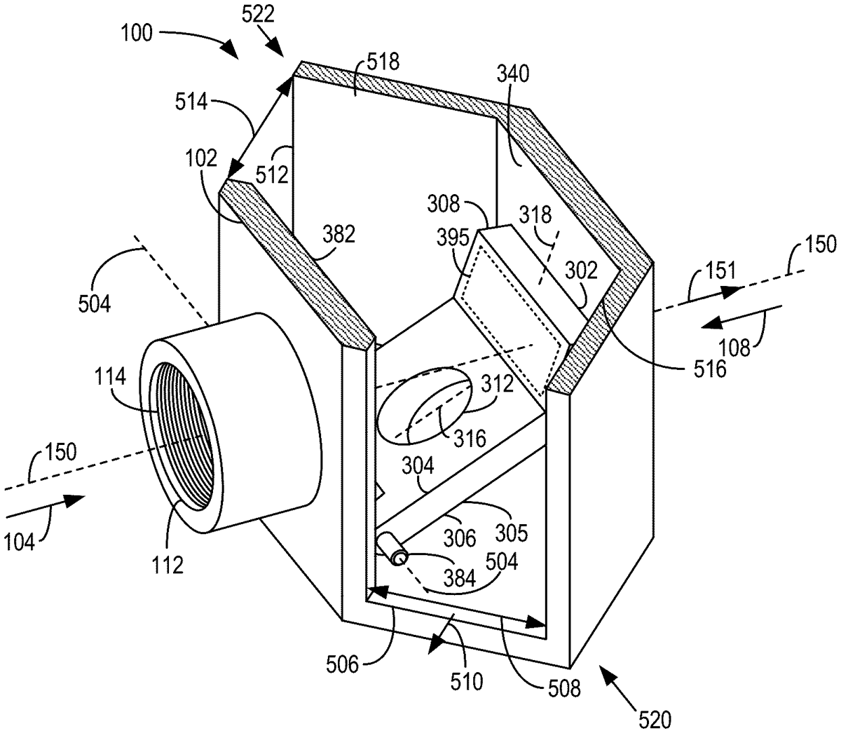
US12276469 - Firearm muzzle brake with gas-actuated valve

Methods and systems are provided for firearm muzzle brakes. In one example, a muzzle brake comprises: a body; a projectile entrance and a projectile exit; a gas-actuated valve biased toward the projectile entrance within an interior of the body; and a projectile opening of the gas-actuated valve arranged along a projectile path between the projectile entrance and the projectile exit.