Guidebar

Patents tagged Guidebar

Dec 30, 2025

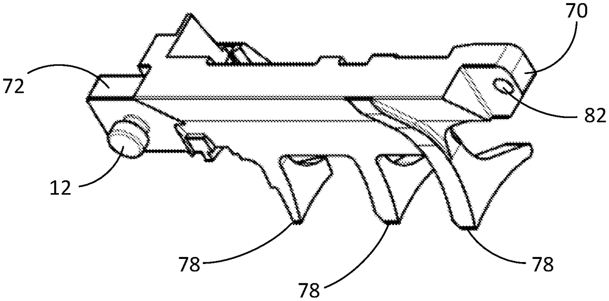
US12510329 - Rotor housing for minigun

An assembly for quickly attaching and detaching the guide bar to and from the rotor housing of a minigun is provided. The assembly comprises a guide bar and a rotor housing. The guide bar includes a front end having a pinhole extending through the front end and a rear end having a locking cam. The rotor housing includes a recessed channel configured to receive the locking cam and a spring-loaded lock pin assembly configured to secure the front end of the guide bar. The guide bar is secured to the rotor housing when the locking cam is inserted into the recessed channel and the spring-loaded lock pin assembly secures the front end of the guide bar. The assembly allows the guide bar to quickly be attached and detached from the rotor housing without the need for tools. The rotor housing may be designed without a yoke to reduce weight.