Gun

Patents tagged Gun

May 12, 2026

US12624577 - Lockable gun mount

A lockable gun mount features a stock receiver, a trigger block, and a barrel lock. The stock receiver includes a base, sidewalls, a receiving aperture, and one or more fasteners. The trigger block includes a trigger rod and a wall member. The barrel lock includes a wall member, a hinged door coupled to the wall member, and a locking mechanism configured to secure the hinged door to the wall member. In some examples, the barrel lock further includes a biometric sensor. A cumulative force between the stock receiver, the trigger receiver, and the barrel lock prevents the gun from being removed from the lockable gun mount when secured to a wall or flat surface.

May 12, 2026

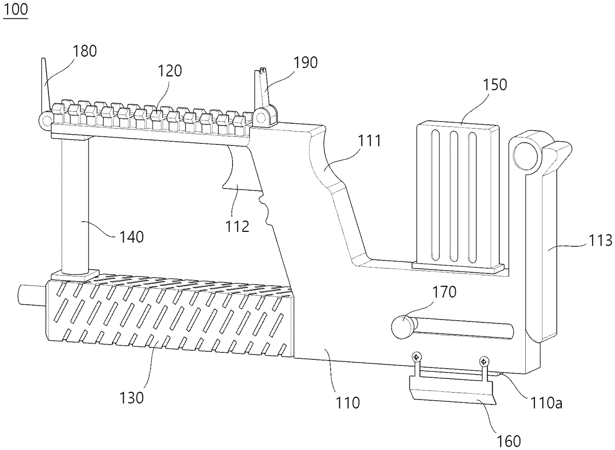
US12624913 - Gun magazine spring state indication system and method

A novel system and method for determining when a magazine spring has exceeded a compressive set tolerance and needs to be replaced. The spring includes a visual indicator. The visual indicator is positioned so that it is visible beyond the bottom of the magazine tube when the follower and magazine spring are inserted into the tube and the follower is raised to its uppermost position. The visual indicator is not visible beyond the bottom of the magazine when the spring has exceeded its compressive set tolerance.

Apr 14, 2026

US12601566 - Howitzer training gun

A howitzer training gun with a gun carriage, a gun cradle supported by the gun carriage, a training gun barrel, and an unloading tray disposed at or near a forward end of the gun cradle, the unloading tray having a travel position and an operating position, and when in the operating position the unloading tray is arranged to receive a projectile from the training gun barrel and transfer the projectile to the ground.

Apr 7, 2026

US12595981 - Braking mechanism for a gun

Braking mechanism for a gun includes a fork whose arms are abutted by supporting pins that abut on brake rollers. A breech that has vertical engagement grooves. Spring-loaded pins with compression springs are arranged against supporting pins. The body of the fork is terminated by a tapered tongue extending into a cavity which follows the fork. Behind the tongue a rod is arranged, which passes into the cavity in a sleeve. The sleeve is provided at one end with an end rod, which is provided at its face with a cylindrical ending arranged eccentrically below its center. The supporting pin is provided with a vertical elongated groove to accommodate the safety pin. In front of the trigger a locking lever of the control arm is placed. At the end is the control arm provided with a transverse beam, which is accommodated above the ending of the end rod.

Mar 31, 2026

US12590515 - Reusable perforating gun system and method

A tool string includes a perforating gun, a first electrical connector defining a receptacle and includes a first electrical contact positioned in the receptacle, and a sub including a sub housing including first end, a second end opposite the first end, and a central passage extending between the first end and the second end, and a bulkhead connector positionable in the central passage to form a pressure barrier along the central passage, the bulkhead connector including an outer housing defining a radially outer periphery of the bulkhead connector, and a second electrical contact positioned along the outer periphery of the bulkhead connector and configured to establish radially directed electrical contact with the first electrical contact of the first electrical connector irrespective of the angular orientation of the second electrical contact relative to the first electrical contact.

Mar 24, 2026

US12584384 - Perforating gun tube and perforating gun

The present invention relates to a perforating gun tube, characterized in that the tube is made of a steel alloy comprising, in addition to iron, the following alloying elements, expressed in mass percent: C 0.12-0.22% Si 0.3-1.0% Mn 1.0-4% Cr 0.5-2% Mo 0.1-1%, V 0.05-0.2% Ti 0.02-0.1% and B 0.001-0.01% and impurities due to melting, and that the tube has a yield strength, R P0,2 , in the range of 750 to 1100 MPa. In addition, a perforating gun having such a perforating gun tube is described.

Mar 24, 2026

US12584386 - Perforating gun with detonation module

An apparatus for selectively firing a perforating gun having a plurality of gun assemblies may include an end plate, a portion of a signal communication circuit, an initiator assembly, and an initiating element. The end plate has a cavity formed by at least a first passage intersecting a second passage. The first passage extends from a planar end face of the end plate and the second passage extends from a circumferential surface of the end plate. The portion of a signal communication circuit is disposed in the end plate and conveys signals between the first gun and the second gun. The initiator assembly is at least partially disposed in the first passage. The initiating element is sized to pass through the second passage. The initiating element is also configured to electrically couple to the portion of the signal communication circuit and to thermally couple to the initiator assembly when at least partially seated in the first passage.

Mar 24, 2026

US12584705 - Electromechanical gun

The present disclosure provides systems, devices, and techniques that can be implemented at a gun, such as an electromechanical gun. The gun may include a barrel located within a slide and a cylindrical spring enveloping the barrel. The barrel may be configured to act as a guide rod for the cylindrical spring, and the cylindrical spring may be configured to bias the slide in a forward battery position. The gun may include an electronic component such as an energy store, a processor, or a circuit board, located under the barrel and forward of the trigger when the gun is in an upright position. The gun may include a physical transmission medium that electronically couples the electronic component with an additional electronic component located rearward of the trigger, and the physical transmission medium may be at least partially encapsulated by a trigger guard.

Mar 24, 2026

US12584708 - Gun targeting system

A gun targeting system ( 10 ) comprising a chassis ( 200 ). A gun barrel ( 300 ) is mounted to the chassis ( 200 ) by a pivot mount ( 304 ). The system also comprises a chassis suspension system ( 400 ) comprising a plurality of wheel arms ( 402 ), each wheel arm ( 402 ) extending away from a different chassis mount ( 220 ) on the chassis ( 200 ) to a respective wheel ( 404 ), each wheel ( 404 ) being rotatably mounted on its respective wheel arm ( 402 ), each wheel ( 404 ) configured for engagement with a support surface ( 500 ). The gun targeting system ( 10 ) is operable to position the barrel ( 300 ) towards an orientation to target an object by pivoting one or more wheel arms ( 402 ) relative to the chassis ( 200 ) and/or by pivoting one or more wheels ( 404 ) relative to its respective wheel arm ( 402 ) and/or by rotating one or more wheels ( 404 ) relative to its respective wheel arm ( 402 ).

Mar 24, 2026

US12584721 - Detonator for a perforating gun assembly

A detonator for a perforating gun. The detonator is used to ignite a detonator cord in a charge tube for a perforating gun assembly, which in turn is used for perforating a wellbore. The detonator includes a cartridge. The cartridge comprises a tubular body having a first end; and a second end. Preferably, the tubular body is fabricated from a metallic material. The detonator also comprises a post proximate the first end of the tubular body. The post is configured to be in electrical communication with a first leg wire connected to an addressable switch. Alternatively, the post is in contact with the end of a detonation pin. The detonator also has a fuse head within the bore of the tubular body, and a fuse wire. The fuse head is in contact with the explosive charge material. The detonator is releasably snapped into a compartment located within the charge tube.

Mar 17, 2026

US12578158 - Systems and techniques for identifying gun events

The present disclosure provides systems and techniques for identifying gun events. A gun event may include a nominal event, such as the discharging of a projectile or the ejecting of a cartridge shell, or an anomalous event, such as a misfire or a failure to feed. An apparatus may include a sensor that measures motion of a gun along multiple axes. The apparatus may identify a gun event based on the measured motion of the gun satisfying a motion condition. The motion condition may include an acceleration threshold value, and the measured motion of the gun may satisfy the motion condition based on a measured acceleration value exceeding the threshold acceleration value. The apparatus may transmit an electrical signal based on the measured motion of the gun satisfying the motion condition. The electrical signal may reset a charging circuit, increment a shot count, or decrement a round count.

Mar 17, 2026

US12578162 - Adjusting device of toy gun

An adjusting device of a toy gun includes a contacting element, a down-pressing controlling member, an adjusting wheel, a guide groove, a driving portion, a mating portion, an adjusting screw, a positioning block, a number of positioning facets, and an elastic positioning member. The adjusting screw drives the adjusting wheel to rotate by means of the mating portion to make the guide groove of the adjusting wheel towing the driving portion of the down-pressing controlling member to pull the down-pressing controlling member downward to thereby adjust a compression degree that the down-pressing controlling member compresses the contacting element and thus adjusting an upward spinning force induced on the BB bullet. The adjusting screw uses a combination of the positioning block and the elastic positioning member to realize grade adjustment of a trajectory of the BB bullet according to the number of the positioning facets.

Feb 17, 2026

US12553683 - Rubber band gun, method of use, and method of assembly

A toy gun having a pair of sides are joined together using a number of pins inserted through pin holes passing through the pair of sides. A trigger and a slide are sandwiched between the pair of sides and are secured therein. A pivot pin allows the trigger to be pulled rearwardly such that it presses against the slide, moving it reward as well. When this occurs, the slide moves out from between the two sides, pushing the elastic bands away from static notches located on the rear end of the sides. This causes the top-most elastic band to fire away from the gun, and the remaining elastic bands to be reseated upwardly into the next adjacent respective static notch. The elastic bands pull the trigger back into its original position, allowing for semi-automatic firing.

Feb 3, 2026

US12540791 - Method of making a gun holster

A method of making a holster for a gun includes selecting a starting polymer material, a starting leather material, and a gun model; preparing a first side of the polymer material by creating texture on the first side; adhering the polymer material and the leather material together to create a combined material; cutting the combined material into a specific shape as determined by the gun model and a desired holster model; stitching around a perimeter of the cut combined material with a pre-selected thread to render a stitched combined material; heating up the stitched combined material to above a predetermined temperature; forming the stitched combined material to a specific shape associated with the gun model and the holster model; and allowing the stitched combined material to cool into the specific shape associated with the gun model and the holster model to render the holster.

Nov 25, 2025

US12480732 - Gun stock catch

A shooting pocket for stabilizing a firearm includes a frame for securing to equipment worn by a shooter. A pivot plate is pivotally mounted to the frame. A receiving area receives a buttstock of a firearm and pivots with the pivot plate to facilitate directional manipulation and aiming of the firearm. The pivot plate defines a pivot ball support surrounding a central orifice on the inner facing side. The pivot ball support defines a pivot ball engaging surface wherein the pivot ball engaging surface defines a second plane that is offset from the first plane by 30 to 10 degrees. An inner facing said of a catch plate has mating engagement with the outer facing side of the pivot plate. The inner facing side of the catch plate defines a concave pivot ball rotation member a pivot ball. A biasing member returns the pivot plate to a pre-determined position.

Nov 11, 2025

US12467710 - Self-propelled gun system

A self-propelled gun system ( 10 ) comprising a chassis ( 200 ) to which is mounted a gun barrel ( 300 ) having a gun barrel axis ( 302 ). The system also has a chassis suspension system ( 400 ) comprising a first wheel arm ( 402 ) extending away from the chassis ( 200 ) to a first wheel ( 404 ), the first wheel ( 404 ) being rotatably mounted on the first wheel arm ( 402 ), the first wheel ( 404 ) configured for engagement with, and travelling along, a support surface ( 500 ) to support the chassis ( 200 ) a distance (Dz) apart from the support surface ( 500 ). There is also provided a recoil mitigation system ( 900 ) comprising a recoil support leg ( 902 ) which extends away from the chassis ( 200 ) to a foot end ( 904 ), the foot end ( 904 ) operable to engage with the support surface ( 500 ) during firing of a projectile ( 340 ) from the gun barrel ( 300 ). The foot end ( 904 ) of the recoil support leg ( 902 ) is operable to be spaced apart from the support surface ( 500 ) when the gun system ( 10 ) is in transit. The recoil support leg ( 902 ) is configured to react against recoil force (Fr) in the z-axis from the firing of a projectile ( 340 ) from the gun barrel ( 300 ). The recoil mitigation system ( 900 ) further comprising a wheel brake control device ( 600 ) configured for applying a braking force to the chassis first wheel ( 404 ) after the firing of a projectile ( 340 ) from the gun barrel ( 300 ) and after the rotatable first wheel ( 404 ) has started rotating along the support surface ( 500 ) in response to the firing of a projectile ( 340 ) from the gun barrel ( 300 ).

Nov 11, 2025

US12467711 - Gun support elevation adjuster

An elevation adjuster for a gun support includes a support mount for detachably mounting the elevation adjuster to a gun support, a base portion connected to the support mount, and a pinion rotatably connected to the base portion. The elevation adjuster further includes an extendible member slidably engaged with the base portion. The extendible member comprises a rack portion which is engaged with the pinion, such that rotation of the pinion causes the extendible member to move relative to the base portion. The pinion is connected to a handle for manipulation by a user of a gun which is connected, in use, to the elevation adjuster. The extendible member comprises a gun mount for detachably connecting the elevation adjuster to a gun.

Oct 28, 2025

US12455131 - Techniques for indicating gun state information

The present disclosure provides techniques, systems, and devices that support indicating gun state information. One or more electronic components may be used to indicate the gun state information, and the electronic components may be coupled with a gun. The gun may identify a state of the gun based on a compute component including a data signal, and the compute component may be coupled with the gun. The gun may select a representation of the state of the gun, where the representation of the state of the gun is compatible with an electronic component coupled with the gun. The gun may indicate, at the electronic component and based on the compute component, the state of the gun with the representation of the state of the gun. Indicating the state of the gun may include displaying an icon, illuminating the electronic component with a color, or pulsating the electronic component.

Oct 28, 2025

US12455138 - Sliding gun rest system and method of use

A sliding gun rest system includes a rail secured to a structure; a rest body secured to the rail; a support cradle secured to the rest body, the support cradle is configured to hold a firearm and is configured to move relative the rail; and a restraint device secured to the rest body, the restraint device is configured to stop movement of support cradle relative to the rail.

Oct 21, 2025

US12449233 - Gun sight optic contingency system

A gun sight optic contingency system is mounted co-witnessed with a red dot sight onto a firearm. The red dot sight has a sight window that remains functionally unobstructed. The gun sight optic contingency system has a low profile rear sight located proximal to a shooter, and a front sight located distally to the shooter. The rear and front sights together define a sighting axis aligned with the path a fired projectile takes. Amounting, such as an adapter plate, couples to the firearm. When aimed at a target, the front sight is visible within and adjacent to a bottom of the view visible in the sight window. The rear sight is outside of and adjacent to a bottom of the sight window and also adjacent to and just below the front sight view in the sight window. The front and rear sights may contain a luminescent compound.

Oct 14, 2025

US12442606 - Lock for gun and multifunctional gun storage stand

The present disclosure relates to the technical field of gun locks, and particularly, to a lock for safety protection of a gun trigger and a multifunctional gun storage stand. The lock includes a base, a shell fixedly connected to the base, a stabilizer fixedly connected to the shell, and a locking device mounted inside the shell. The locking device is provided with a movably opened and closed lock catch assembly and a locking assembly restraining the lock catch assembly from being movably opened and closed; the lock catch assembly is movably connected to the locking assembly, and the lock catch assembly is provided with a lock catch post.

Oct 7, 2025

US12435943 - Bullpup-type gun with barrel positioned at bottom

The present invention relates to a bullpup-type gun with a barrel positioned at the bottom, in which the bullpup-type gun basically has a bullpup-type shape, and a barrel, a loading handle, and a shell discharge part are provided at a lower side of a body part, which may prevent burns and injuries to a user caused by a configuration in which a shell is discharged upward, and a height difference between a front sight and a rear sight may solve a problem with an aiming degree caused by a configuration in which the barrel is disposed at the bottom.

Oct 7, 2025

US12435948 - Adjustable, pivoting gun stock and method of use

An adjustable shoulder rest for a rear stock for a rifle or shotgun, with features to customize the shoulder to firearm interface, providing diverse adjustment options pursuant to user preference and/or circumstances of use. The present invention further provides a pivotal shoulder rest to facilitate customized position adjustment to the firearms orientation vis-a-vis the operator, including the option to provide a pivotal or swivel connection for adjustment of the firearm during operation as well as the option of providing haptic feedback or pivotal resistance with return-to-center capability to communicate to the user useful feedback, and/or facilitate line of sight alignment of the firearm at various angles relative to the longitudinal axis thereof in line with one or more sighting apparatus mounted thereto.

Sep 23, 2025

US12424038 - Docking station for an electromechanical gun

The present disclosure provides system and techniques that allow a device to be coupled with an electromechanical gun. The electromechanical gun may be physically coupled with a cradle of the device, and the electromechanical gun may be communicatively coupled with an electrical interface of the device. The device may include a display mechanism that is capable of visually conveying information, a power source configured to supply power to the display mechanism, an electrical interface configured to be coupled with an electromechanical gun so as to allow power to be directed from the power source to the electromechanical gun, and a processor configured to process incoming messages received from the electromechanical gun and transmit outgoing messages to the electromechanical gun. The processor may perform a handshake procedure with the electromechanical gun, and the processor may process the incoming messages or transmit the outgoing messages based on the handshake procedure.

Aug 12, 2025

US12385710 - Gun attachment

The present disclosure provides systems and techniques for an attachment that can be fastened to a gun. The attachment may include a top surface having a longitudinal axis and an aiming sight that is parallel with the longitudinal axis, a front surface having a latitudinal axis that is perpendicular to the longitudinal axis, the front surface including a muzzle aperture, a left surface, a right surface, and a fastening system. The fastening system may include a first mounting aperture of the left surface, a second mounting aperture of the right surface, and a locking pin capable of being positioned in the first mounting aperture and in the second mounting aperture such that the locking pin fastens the attachment to the gun. The attachment may be fastened to the gun such that the longitudinal axis is parallel with a longitudinal bore axis of the gun.

Aug 12, 2025

US12385717 - Twist-action pen gun

A complete concealed, handheld, single shot pen gun having the full appearance of a well-designed twist action pen equipped with full writing function is presented. The invention provides seamless design without surface interruptions. A drop safety function locks the firing pin in a safe position. The drop safety cannot be deactivated by accident. After activation of the drop safety, the loaded pen gun is suitable for daily use as a regular twist action pen. The exchangeable pen refill can be extended and retracted; accidental triggering of the cartridge is not possible.

Jul 29, 2025

US12372320 - Systems and techniques for testing a gun

The present disclosure provides systems and techniques for testing guns by simulating firing a round of live ammunition. A striker may be used to apply force onto a gun, and one or more compressible rods may be used to modulate the application of force onto the gun. A system may include a striking mechanism configured for displacement along an arcuate path of travel that includes a first compressible rod, a second compressible rod coupled with a first component of the gun, an attachment mechanism coupled with a second component of the gun such that the second compressible rod is located in the arcuate path of travel, and a backstop mechanism coupled with the attachment mechanism. The attachment mechanism may stably hold the gun and the backstop mechanism may accommodate planar movement of the attachment mechanism, so as to simulate a shooter holding the gun.

Jul 1, 2025

US12345495 - Method of making a reliable gun

A gun has parts that slide past one another during operation. A coating is formed on at least a surface of a first part that contacts a second part. At least an upper layer of the coating is porous and comprises a thermoset polymer and a filler. One or both parts may be part of a gas-operated reloading mechanism. The coating prevents jamming by excluding particles, yielding to particles that still manage to intrude, and by providing a reservoir for lubricant. The coating reduces clearances, improves accuracy, and reduces operating temperatures. The coating excludes particles from the lubricant, effectively allowing a large volume of lubricant to be used without the drawback of trapping dirt and other contaminants in the lubricant.

Jun 17, 2025

US12332010 - Weapon slide cover

The present disclosure provides systems and techniques that can be implemented in a gun. The gun may include or be coupled with a slide cover. The slide cover may include a first slide cover recess along a latitudinal axis of the slide cover, the first slide cover recess comprising a first cavity of a first portion of the slide cover and a first cavity of a second portion of the slide cover. The slide cover may include a second slide cover recess along the latitudinal axis of the slide cover, the second slide cover recess comprising a second cavity of the first portion of the slide cover and a second cavity of the second portion of the slide cover. The slide cover may include a first retainer coupling a sight component with the slide cover such that a longitudinal axis of the sight component is substantially parallel with a longitudinal axis of the slide cover.

Jun 10, 2025

US12326068 - Perforating gun system

An improved perforating gun system. The perforating gun system includes a perforating gun having a shaped charge positioning tube that is securely received within a female opening in a tandem to provide a 360-degree connection to ground. The shaped charge positioning tube includes segmented end portions that extend over first and second contact housings. Each contact housing includes a contact pin that is biased outwardly by a spring, the spring comprising a portion of an electrical path for a firing signal.

Jun 3, 2025

US12320614 - Systems and techniques for determining whether a user is holding a gun

The present disclosure provides systems and techniques for determining whether a user is holding a gun. The gun may include a sensor, such as a laser proximity sensor, a capacitive proximity sensor, a load cell, an accelerometer, or a biometric sensor, and the gun may determine whether a user is holding the gun based on an output generated by the sensor. A processor housed in the gun may identify activation of a proximity sensor, determine that a user is holding the gun based on the activation of the proximity sensor, and perform an action in response to determining that the user is holding the gun. The action performed by the processor may include performing a boot procedure, performing a health check procedure, visually indicating state information about the gun, audibly indicating state information about the gun, or tactilely indicating state information about the gun.

May 6, 2025

US12292247 - Systems and methods for locking and unlocking a gun

A lock apparatus for a gun, includes a magazine lock. The magazine lock is configured to fit into a magazine opening of the gun. The magazine lock further includes an interference member. The interference member is configured from a flexible material. The interference member is fastened to a first end of the magazine lock. The flexible material forms a loop. When the loop is inserted into the magazine opening the loop exits out of an open chamber of the gun thereby enabling an external lock to capture the loop placing the gun in a LOCKED state.