Insert

Patents tagged Insert

Jan 27, 2026

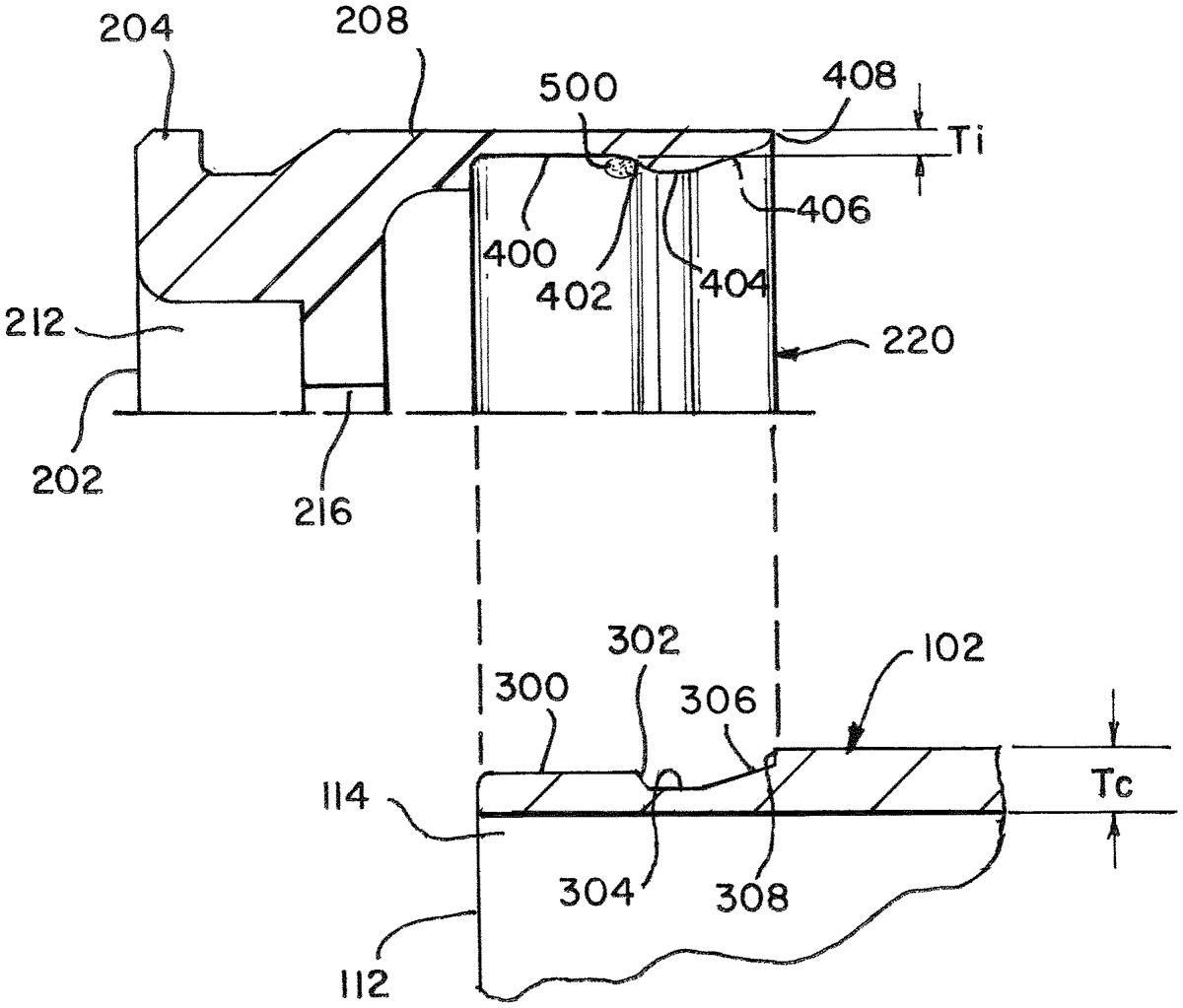
US12535306 - Polymer cartridge with snapfit metal insert

A high strength polymer-based cartridge has a polymer case with a mouth, a neck, a shoulder below the neck, and a body below the shoulder and having a case thickness (Tc). The body has a flat portion comprising a pull thickness (Tp), and a dip, closer to the shoulder than the flat portion and comprising a dip thickness (Tb). The cartridge can also include an insert attached to the polymer case opposite the shoulder. The insert can have a flat section contacting the flat portion and comprising an insert wall thickness (Ti), and a bulge engaging the dip to maintain the insert on the polymer case. Tc, Tp, Tb, and Ti are related by Tp+Tb+Ti=Tc. These variables also have ranges where Tp is at least 0.010 inches in thickness, Tb is greater than or equal to Tp, and Tc is a function of a loaded projectile.