Laser

Patents tagged Laser

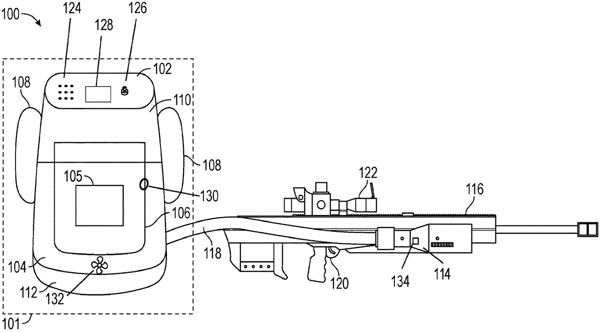
May 19, 2026

US12631421 - Firearm training system and method of operation supporting programmable settings

A firearm training system comprises a firearm training device that includes: a device body; a trigger; a trigger sensor; a laser emitter; and an electronic control system. The electronic control system has settings data stored thereon that includes one or more laser settings that defines a pulse length and/or an emission duration of the laser. The electronic control system is configured to: responsive to actuation of the trigger, control the laser emitter to emit the laser at the pulse length and/or the emission duration defined by the one or more laser settings; receive a command to change a laser setting of the one or more laser settings; and update the laser setting based on the command to vary the pulse length and/or the emission duration of the laser to be emitted by the laser emitter responsive to actuation of the trigger.

May 5, 2026

US12618627 - Laser ignition system for large-caliber artillery

The present invention relates to a laser ignition system for a large-caliber artillery, which provides a linear laser beam shape, and the ignition system of the present invention evenly combusts a cylindrical large-caliber artillery propellant with a hollow center in an energy-efficient manner using a laser in longitudinal and radial directions.

May 5, 2026

US12618646 - Verification of desired target illumination in the presence of clutter for laser-designated applications

A laser seeker system is provided. The laser seeker system includes at least a laser pulse receiver circuitry and a pulse evaluator is provided. The pulse evaluator can be configured to obtain a set of measured pulse repetition intervals associated with laser pulses acquired by the laser pulse receiver circuitry. The pulse evaluator can further categorize a current volatility status indicating a respective category of a set of volatility categories, and based on a volatility index indicating a variance of the set of measured PRIs and a volatility counter indicating a number of the acquired laser pulses. The pulse evaluator can further increase a respective category counter that counts occurrences of the respective volatility category. The pulse evaluator can further categorize the authenticity of the laser seeker target based on the set of category counters.

May 5, 2026

US12618647 - Laser pulse shape detection using frequency characterization

A method includes receiving a plurality of laser pulses as a pulse train on a plurality of imaging sensor pixels in an array of pixels. For each pixel in the array of pixels, the method includes receiving a respective one of the laser pulse trains, and scanning the pixels response across a range of frequencies with a bandpass filter to determine pulse shape characteristics of the respective one of the laser pulse trains. The method includes filtering out all of the laser pulse trains that do not fit a predetermined pulse shape characteristic for a true target designation pulse train, and physically adjusting trajectory of a physical resource toward a target based on location on the imaging sensor of one or more pixels receiving a laser pulse train that fits the predetermined pulse shape characteristic for the true target designation pulse train.

Apr 14, 2026

US12601569 - Systems for projecting high voltage electrical discharges in air

A system for projecting high voltage electrical discharges along laser filaments in air has a high voltage electrical discharge device operable to generate and discharge a high voltage electrical discharge. A laser assembly has at least one laser operable to produce laser electrically conductive laser filaments in air. An electrode is electrically connected to the high voltage electrical discharge device and configured to direct a high voltage electrical discharge at a breakout point of the electrode. The electrode breakout point is disposed in relation to the at least one laser such that when electrically conductive laser filaments are created in air by the at least one laser the high voltage electrical discharge at the breakout point is caused to travel along the electrically conductive laser filaments in air.

Apr 14, 2026

US12601570 - Tactical laser defense system

A tactical laser defense system includes one or more tactical lasers configured to emit one or more respective laser beams at a particular target; one or more other tactical devices comprising at least one of: (i) a camera to capture images and/or video of an area surrounding the tactical laser defense system, (ii) a light source for illuminating the area surrounding the tactical laser defense system, (iii) a microphone for capturing audio information from the area surrounding the tactical laser defense system, and (iv) radar equipment for detecting enemy threats; and a power source operatively coupled to the one or more tactical lasers and the one or more other tactical devices, the power source configured to provide electrical power to the one or more tactical lasers and the one or more other tactical devices.

Apr 14, 2026

US12601904 - Ranging and ballistic display optical sight

The invention relates to a ranging and ballistic display optical sight featuring a mounting bracket, control mainboard, laser emitter, and receiver. An objective lens group and beam splitter prism are arranged coaxially, with the prism positioned above the laser receiver. The laser beam emitted is reflected by the prism into the receiver. A digital reticle plate, aligned with the optical path, displays the range data. The control mainboard calculates distance based on the time difference between laser emission and reception, then displays the result on the reticle. This system enhances shooting precision and efficiency.

Feb 10, 2026

US12546578 - Countermeasure device

A laser weapon countermeasure device is described. The laser weapon countermeasure device comprises a sealed capsule having a filler disposed therein. The filler comprises either: a reflective particulate metal; or a precursor for a reflective metal or reflective metal alloy. The capsule is configured to burst in air such that the filler disperses into an aerosol. A countermeasure launcher and a vehicle comprising a countermeasure launcher are also described.

Feb 3, 2026

US12540802 - Laser weapon system

A laser weapon system is described. Particularly, embodiments describe subsystems of a laser weapon system including those necessary for laser generation, operational control, optical emission, and heat dissipation configured to provide a lightweight unit of reduced dimensions.

Jan 27, 2026

US12535565 - Method and device for visualizing impacts of laser pulses on a target

A method for visualising impacts of laser pulses emitted by a laser designator, according to a predetermined repetition interval (PRI), onto a target present in a scene, by means of a device including: an optronic sensor of the silicone-based CMOS type having a predetermined number of rows associated with a rolling shutter-type readout circuit. Each row of the sensor is exposed for an exposure time and read during a reading time so that the exposure time is no less than the reading time but no more than the product of the reading time and the number of rows. A transition between the rows exposed to a signal and the rows not exposed to said signal is detected in at least two images in order to infer the PRI.

Nov 18, 2025

US12474142 - Firearm laser sight alignment assembly

The present disclosure relates to a firearm which may include a frame with a first outer wall, and a second outer wall opposite the first outer wall. A laser module may be disposed between the first and second outer walls. An alignment pin may be in communication with the first outer wall and may be configured to move the laser module relative to the frame.

Oct 21, 2025

US12449231 - Laser induced friction surface on firearm

A firearm having a laser induced friction surface. A method for forming the laser induced friction surface on the firearm may includes the steps of disposing the laser machine adjacent to a component of the firearm, adjusting the laser machine, then applying the laser beam of the laser machine onto a component surface.

Sep 23, 2025

US12422221 - Firearm laser sight alignment assembly

The present disclosure relates to a firearm which may include a frame with a first outer wall, and a second outer wall opposite the first outer wall. A laser module may be disposed between the first and second outer walls. An alignment pin may be in communication with the first outer wall and may be configured to move the laser module relative to the frame.