Launch Tube

Patents tagged Launch Tube

Feb 3, 2026

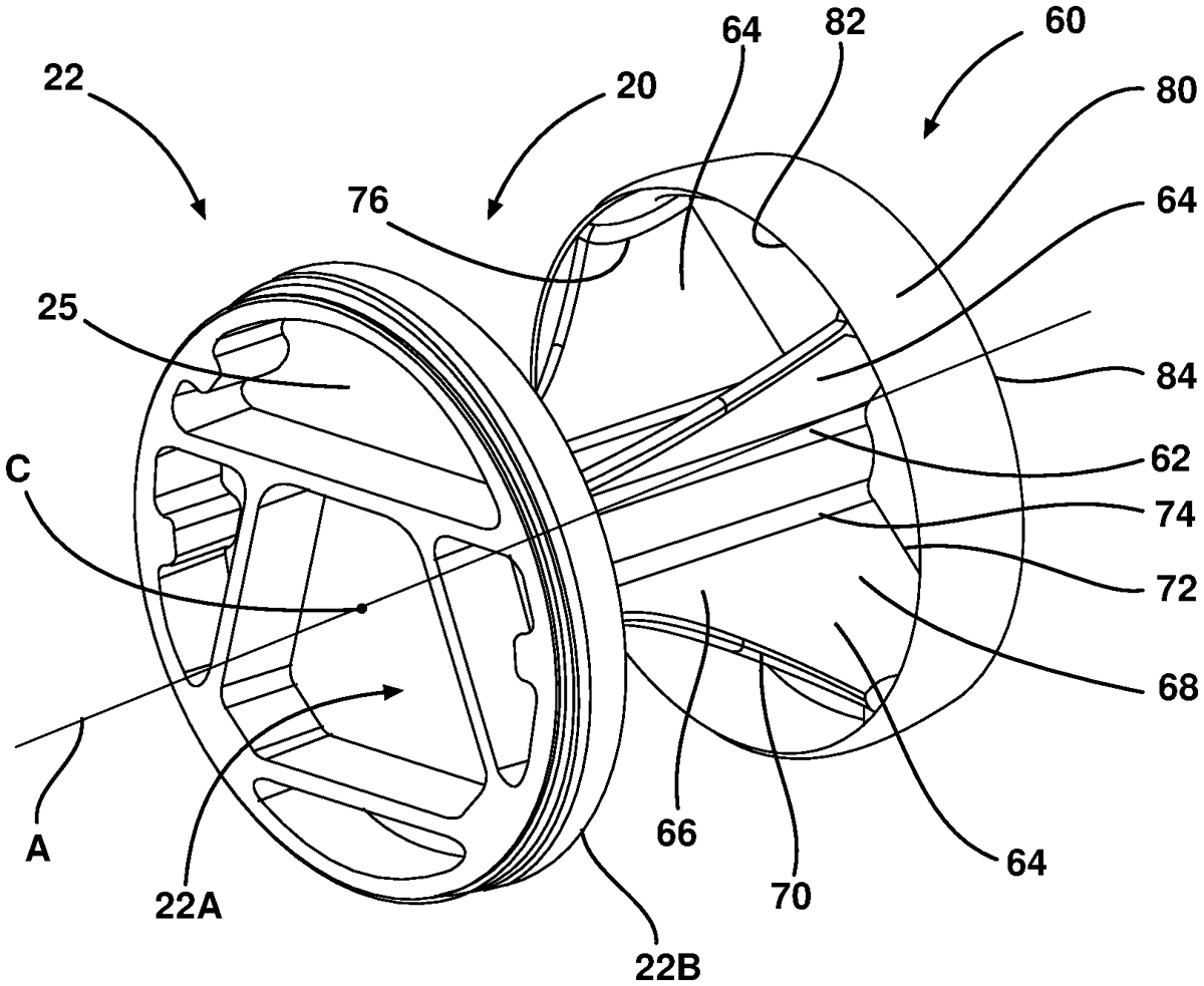
US12540792 - Stabilized end cap for common launch tube

A stabilized end cap for covering one end of a common launch tube on a military aircraft is disclosed. The stabilized end cap includes a central body having a portion with a disk-shape configuration. In some cases, the stabilized end cap has a peripheral extension that extends radially outward from the periphery of the central body, and the peripheral extension is provided with an aerodynamic configuration. In other cases, the stabilized end cap has at least one aerodynamic extension extending longitudinally outward from the outside surface of the central body.