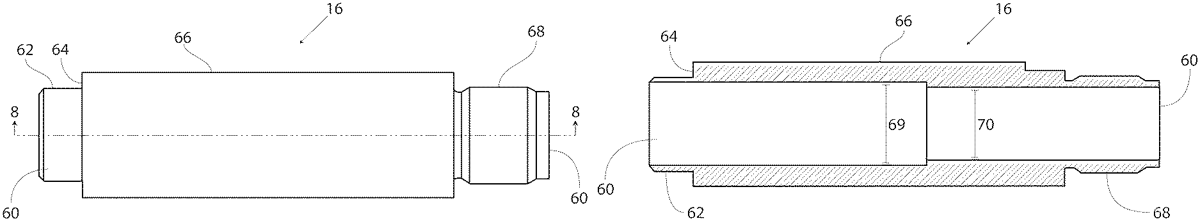
Nov 11, 2025 US12467707 - Firearm barrel for lever action firearm A firearm barrel for a lever action firearm. The firearm barrel has an inner barrel, and outer barrel, and a muzzle keeper. The firearm barrel may also include a gas bushing.