Light

Patents tagged Light

May 5, 2026

US12618634 - Muzzle flash simulator and method for generating light trail

Disclosed are a muzzle flame simulator and a method for generating a light trail. The muzzle flame simulator includes a projectile passage, a projectile sensor, a controller, and at least one simulating flame light source. The projectile passage is disposed inside the muzzle flame simulator. The projectile sensor is coupled to the controller and configured to send a trigger signal to the controller in response to detecting a projectile passing through the projectile passage. The controller includes a signal generator circuit, which is configured to output at least two preset periodically changing control signals. The controller is configured to start the signal generator circuit in response to detecting the trigger signal. The at least one simulating flame light source is coupled to the controller, the simulating flame light source each at least includes two illuminating components that are configured to periodically emit light based on the control signals.

May 5, 2026

US12618635 - Weapon emulator simulating a muzzle flash

A weapon emulator has a muzzle flash emulator attachment coupled to a first end of a barrel. The muzzle flash emulator attachment includes: a body defining a plurality of slots, a cover disposed in the body, a light source at least partially disposed in the cover, and a circuit coupled to the light source and including a power source and a switch. The switch is transitionable from an open state to a closed state to turn on the light source in response to pulling a trigger. In another embodiment, a muzzle flash emulator assembly includes a magnet operatively aligned with a reed switch. In a further embodiment, a muzzle flash emulator has a member coupled to a barrel and moveable to strike the switch in response to pulling the trigger to transition the switch from the open state to the closed state.

Jan 27, 2026

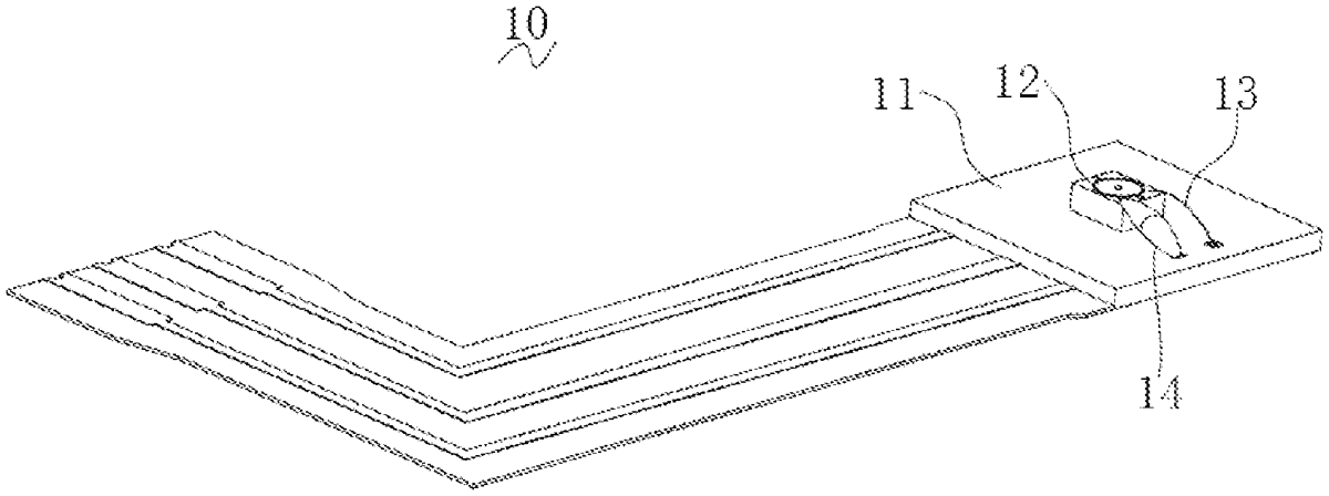
US12535296 - Light source structure, sighting device thereof, and shooting device thereof

The present disclosure relates to the illuminant structure technical field. Disclosed are a light source structure, a sighting device and a shooting device, wherein the sight light source structure is used for the sighting device. The light source structure includes a substrate, a light-emitting chip arranged on the substrate, a bonding wire configured for electrically connecting the substrate and the light-emitting chip, and light-absorbing glue coated on the bonding wire. By improving the structure of the light source structure, specifically, by not covering the light-transmitting protective layer on the light-emitting chip, the light-transmitting protective layer is effectively prevented from reflecting light, so that the aiming point formed by the light at the light-emitting place is gathered, and the edge of the aiming point has no stray reflected light so that the wheel library at the edge of the aiming point is clear.

May 6, 2025

US12292259 - Pivotal tactical lights for firearms

A light apparatus for firearms can pivot between a safety position and a shooting position. In the safety position, a light mounted to the firearm can point straight ahead at a target, while the firearm's barrel is pointed downward. In the shooting position, both the light and the barrel point in the same direction. In some examples, the light is supported by a gun mounting member that is fastened to the underside of the firearm, while the light is offset to one side of the barrel. In some examples, the light is connected to a foregrip, so the light and the foregrip can pivot together as a unit relative to the barrel. Some examples of the light apparatus include various devices for holding the light at the safety and/or shooting position.