Linear

Patents tagged Linear

Jan 27, 2026

US12535284 - Linear trigger bolt action firearm

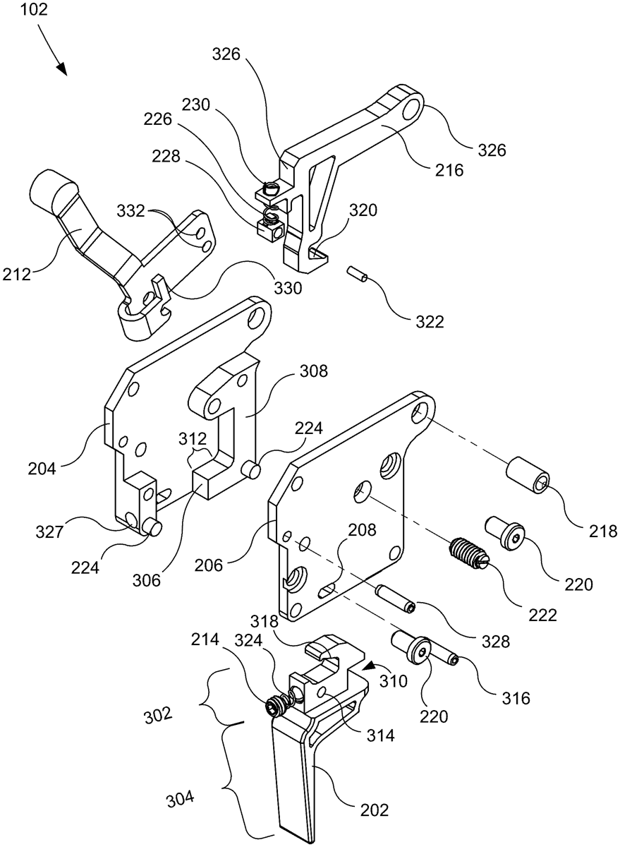
Disclosed is a linear trigger mechanism for a firearm. In certain examples, the trigger mechanism includes a trigger housing having a linear trigger pathway and a removeable side plate. The trigger mechanism also includes a trigger that is at least partially disposed between the trigger housing and the removeable side plate, where the trigger is configured to move between a first position and a second position along a path that is defined by the trigger pathway, and where the trigger includes an angled sear engagement surface. The trigger mechanism also includes a sear that is at least partially disposed between the trigger housing and the removeable side plate and is configured to pivot with respect to the trigger housing, where the sear includes an angled trigger engagement surface that corresponds with the angled sear engagement surface.