Low_recoil

Patents tagged Low_recoil

May 27, 2025

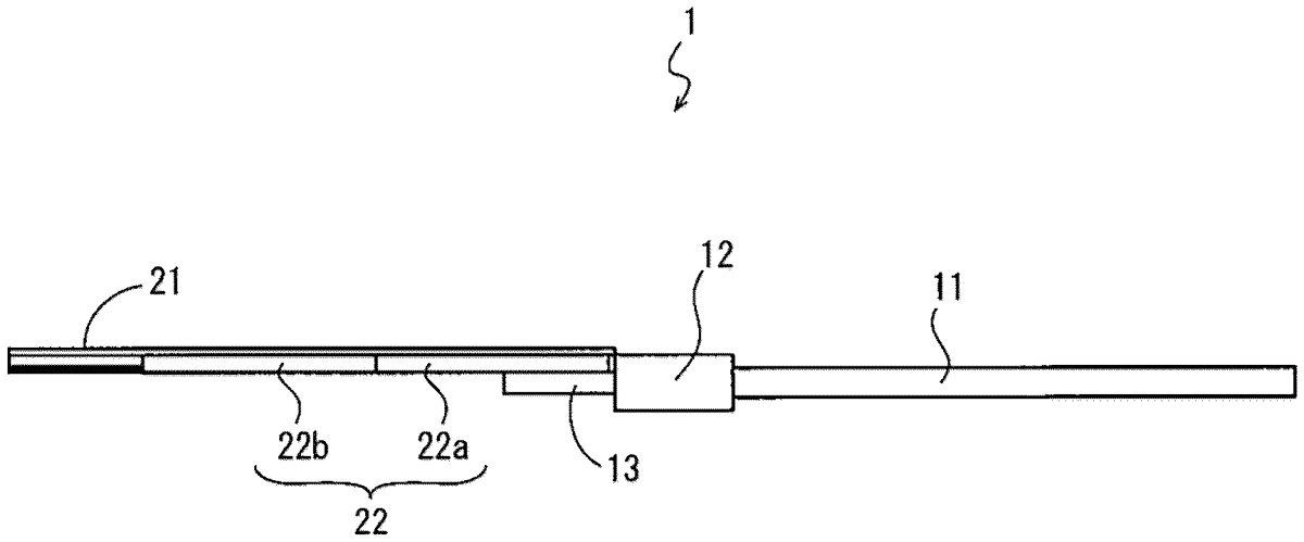
US12313362 - Low recoil firearm

A low recoil firearm 1 provided with counterweights 22 , the number of counterweights 22 a, 22 b is two or more, and a kinetic energy of the bullet received by a barrel 11 is transferred and distributed to the counterweights 22 a, 22 b . A stop mechanism separately stops the counterweights 22 a, 22 b from each other. Although the kinetic energy transmitted to one counterweight is eliminated in the conventional technology, the kinetic energy distributed to two counterweights 22 a, 22 b is eliminated in the present invention.