Mainspring

Patents tagged Mainspring

Aug 5, 2025

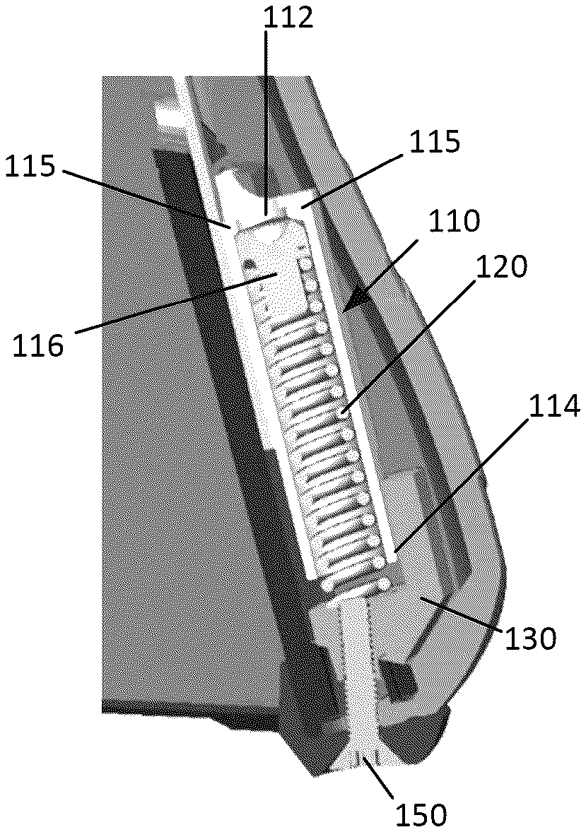
US12379177 - Captive mainspring and integral beavertail

A firearm with a mainspring assembly and a beavertail element integral to the frame. The firearm may include a mainspring assembly coupled to a lower portion of the frame, a hammer strut extending between the hammer and the mainspring assembly.