Measurement

Patents tagged Measurement

May 5, 2026

US12618975 - Targeting

A targeting method comprising the steps of determining a bearing to a target from an observer using first and second independent techniques; comparing the bearings as determined by the first and second independent techniques and determining whether the bearings are accurate; and if the bearing is deemed to be accurate; measuring a range from the observer to the target; and calculating the position the target based on the verified bearing and range from the observer's position. The bearing can be measured by using a magnetometer, and cross-checked or verified using calculations based on three-dimensional satellite cartography data. The range to the target can be cross-checked, as can the position and viewpoint of the observer.

Feb 17, 2026

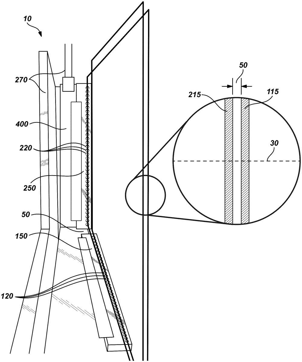
US12553916 - System for measuring skew and speed of an arrow

An archery tuning apparatus includes two light detection units, each comprising a line laser source emitting a planar fan of laser light and a curved array of spaced-apart light sensors. The units are configured with parallel laser fans, creating an overlap target region when viewed along a normal axis. The curved sensor arrays, with radii of curvature approximating their irradiation distances, optimize detection accuracy. Integrated circuitry and software collect and analyze data from arrows shot through the target region during tuning sessions. The apparatus connects to a mobile device, which stores and displays tuning session information through a dedicated app. This system provides archers with precise measurements of arrow speed and skew, offering advantages over traditional paper tuning methods. The mobile interface allows for easy data management, equipment tracking, and remote technical assistance, enhancing the overall archery tuning experience.

Dec 23, 2025

US12504264 - Method and system for determining a similarity or distance measure between ballistic specimens

There are described methods and system for determining a similarity or distance measure between a first ballistic specimen and a second ballistic specimen. The method comprises acquiring topographic data from the first ballistic specimen and the second ballistic specimen of at least one region of interest; computing from the topographic data at least one similarity score s for the first ballistic specimen and the second ballistic specimen; determining a non-match probability measure of the similarity score for at least one parameter characterizing a macroscopic and/or microscopic feature of the topographic data, the non-match probability measure associating the first ballistic specimen and the second ballistic specimen to a different source; and correcting the similarity score by determining a corrected similarity score that yields a same value of the non-match probability measure as the similarity score for a reference value of the at least one parameter.