Mechanism

Patents tagged Mechanism

May 19, 2026

US12631432 - Deployable flap for high-g maneuvers

A tail for a projectile includes a body having a longitudinal axis. A steering assembly is secured to the body. The steering assembly includes a flap movable from a first position in which the flap does not extend radially beyond the body to a second position in which the flap extends radially beyond the body and at an angle relative to the longitudinal axis, and a flap release mechanism. A projectile including a tail according to the present disclosure is also provided.

May 12, 2026

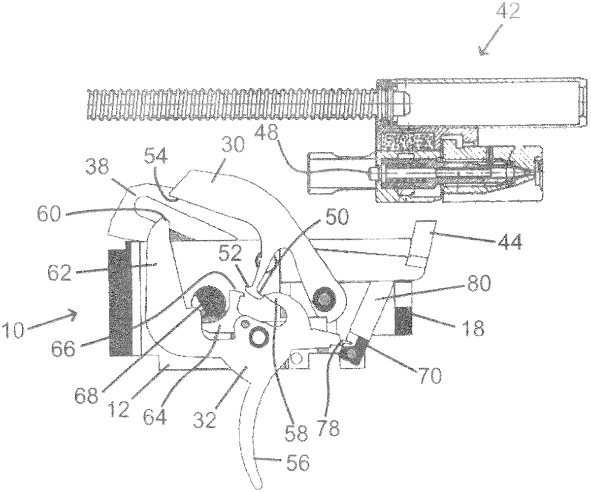
US12624908 - Break-barrel firearm

The present invention concerns a firearm comprising at least one frame; and a barrel group comprising at least one barrel, the barrel group being mounted in a tilting manner with respect to the frame, wherein the frame houses at least one closing device configured to act between the frame and the barrel group so as to selectively prevent the frame of the barrel group from tilting with respect to the frame, and is characterized in that the closing device comprises at least one pair of clamping elements with longitudinal development independent of each other, the clamping elements being slidably housed inside the frame, each along its own longitudinal development axis; and at least one pair of buffers each coupled to a respective clamping element so as to exert an axial thrust force on the respective clamping element substantially in parallel to and/or substantially along the respective longitudinal development axis.

May 12, 2026

US12624909 - Firearm buffer systems

A buffer system for a firearm includes a buffer body with an internal passage, a guide rod at least partially disposed in the internal passage such that the guide rod includes a slot, a buffer bumper, an end cap, a magnet attached to the guide rod, and at least one spring. The buffer bumper and the end cap are disposed near a rear end of the guide rod. The magnet creates a force acting on the buffer body.

May 12, 2026

US12624910 - Reduced weapon system blowback

A reloading firearm featuring a mechanism to reduce the blowback of toxic propellant gasses towards the warfighter. The reloading assembly acts in plural segments to increase the firing chamber-closed dwell time, while limiting adverse impact to the overall nominal rate of fire. Greater dwell time corresponds with reduced exposure of the warfighter to propellant gasses. Moreover, increasing the dwell time without otherwise altering the firing cycle has the additional effect of delaying the breech opening after the cartridge is fired. This delay in breech opening permits gas pressure at the muzzle, which may be elevated and/or constrained by flash and/or sound suppression, to dissipate before the breech is opened. Accordingly, when the breech opens later in the firing cycle, there is a reduced pressure gradient across the combination of barrel and firing chamber, which reduces a driving force of propellant gasses towards the warfighter via the open breech.

May 12, 2026

US12624911 - Firearm receiver assembly with ammunition belt feeding capability and firearm comprising same

A firearm receiver assembly comprises a receiver body, a top cover, and an ammunition advancing mechanism mounted on the top cover. The top cover is pivotably attached at a mounting portion thereof to a mounting portion of a receiver body for enabling the top cover to be pivotable about a top cover pivot axis between an open position and a closed position with respect to the receiver body. The top cover pivot axis extends parallel to a bore axis of the receiver body.

May 5, 2026

US12618626 - Charging handle and upper receiver assembly for a firearm

A charging handle assembly for a firearm may include a charging handle body including a handle portion and a shaft portion, a first actuation wing rotatably coupled to the handle portion and configured to rotate about a first rotational axis between a first position and a second position, and a biasing mechanism engaging the first actuation wing and biasing the first actuation wing to the first position. The first actuation wing may include a latch configured to selectively engage an upper receiver assembly of the firearm, and the first actuation wing may have a center of mass disposed along the first rotational axis.

Apr 28, 2026

US12613084 - Inertial delay mechanisms for low-G and long-duration acceleration event detection and for initiation devices in munitions and impulse switches and the like

An inertial mechanical delay mechanism including: a first member rotatable about a first axis in a first direction. The first member having a first center of mass offset from a line parallel to a direction of acceleration and perpendicular from the first axis. A first elastic material exerts a first biasing force to the first member to bias the first member in a second direction. A second member is rotatable about a second axis in a third direction. The second member rotatable in a third direction by at least indirect interaction with the first member when the first member rotates a first angle in the first direction. A second elastic material exerts a second biasing force to the second member to bias the second member in a fourth direction. The first member is configured to rotate the first angle when the acceleration is greater than a predetermined magnitude and duration.

Apr 21, 2026

US12607424 - Last round hold open

An assembly for holding a bolt of a firearm in an open position is disclosed. The assembly comprises a bolt catch pivotable about a first axis toward and away from a catching position. In the catching position, a portion of the bolt catch is within a path of travel of the bolt. A follower transfer adapter is pivotable about a second axis. The follower transfer adapter includes an engagement portion that is configured to engage a follower of a magazine. Optionally, the follower transfer adapter includes an overhang lip that extends transversely to the longitudinal axis of the firearm and into a path of travel of the follower to define the engagement portion. The engagement portion is positioned between the second axis and the bolt catch along the longitudinal axis of the firearm. A linkage transfers rotational movement of the follower transfer adapter to rotation of the bolt catch.

Apr 21, 2026

US12607425 - Opposing force recoil reduction in a firearm

A firearm which provides recoil reduction using the kinetic energy of the hammer to cancel a portion of the bolt's recoil after a round has been fired. After the bolt starts to move rearward in response to the detonation, the hammer's forward kinetic energy is transferred onto the bolt by striking it at the moment the bolt starts to travel rearward or after the bolt has started its rearward motion.

Apr 7, 2026

US12595981 - Braking mechanism for a gun

Braking mechanism for a gun includes a fork whose arms are abutted by supporting pins that abut on brake rollers. A breech that has vertical engagement grooves. Spring-loaded pins with compression springs are arranged against supporting pins. The body of the fork is terminated by a tapered tongue extending into a cavity which follows the fork. Behind the tongue a rod is arranged, which passes into the cavity in a sleeve. The sleeve is provided at one end with an end rod, which is provided at its face with a cylindrical ending arranged eccentrically below its center. The supporting pin is provided with a vertical elongated groove to accommodate the safety pin. In front of the trigger a locking lever of the control arm is placed. At the end is the control arm provided with a transverse beam, which is accommodated above the ending of the end rod.

Apr 7, 2026

US12595982 - Ambidextrous bolt release mechanism for firearm

A firearm with ambidextrous bolt release mechanism includes a barrel and a bolt slideably mounted in the receiver for axial movement between forward closed breech position in battery with the barrel and a rearward open breech position. A recoil spring biases the bolt forward. A side-mounted bolt catch lever is configured and operable to selectively hold the bolt in the open breech position, and disengage the bolt to reclose the breech when manually actuated. A transversely movable actuator plunger allows a user to release the bolt from the side of the firearm opposite the bolt catch lever side. The plunger comprises an inclined camming surface which slideably engages a mating inclined camming ramp on the lever. Wedging action applied to the bolt catch lever by the plunger rotates the lever about its pivot axis to disengage and release the bolt.

Mar 31, 2026

US12590773 - Magazine disconnect mechanism

A firearm has a magazine disconnect mechanism. The firearm includes a trigger operable between a resting position and a pulled position. The magazine disconnect mechanism has a trigger block positioned between the trigger and a magazine well of the firearm, where the trigger block is movable between a blocking position and a non-blocking position. In the blocking position the trigger block obstructs moving the trigger to the pulled position. The trigger block occupies the non-blocking position when a magazine is installed in the magazine well, and the trigger block occupies the blocking position when the magazine is absent from the magazine well.

Mar 31, 2026

US12590777 - Lever system for lever bow

An archery bow is disclosed. Bows of the present disclosure comprise lever cams. The lever cam includes a base and an elongated lever arm that extends upwards or downwards, depending on which end of the bow the lever cam is attached to. The lever cams are rotatably secured between the split limbs of the bow. In some embodiments, the bows include an adjustment screw to change the position of an offset axle relative to a lever axle. In other embodiments, the bows include a pair of adjustable bowstring modules attachable to the respective elongated lever arms to alter the draw length of the bowstring.

Mar 24, 2026

US12584701 - Roller and bearing delayed firearm operating systems

A firearm operating system includes a forward bolt with an internal cavity, a carrier disposed on a rear side of the forward bolt where the carrier includes a cavity, a short cam pin, a plurality of bearings, a retracted configuration, and a deployed configuration. At least a portion of a forward section of the short cam pin is disposed within the internal cavity of the forward bolt. At least a portion of a rear section of the short cam pin is disposed within the cavity of the carrier. Movement from the retracted configuration to the deployed configuration includes movement in a forward/aft direction of the short cam pin relative to the forward bolt and movement of the plurality of bearings.

Mar 17, 2026

US12578155 - Automatic firearm with pressure controlled inertia mechanism

An automatic firearm is provided, which operates with a system which unlocks the rifle with a certain force and makes it ready for firing again by using this energy, while the mechanism accelerates backwards with the force created by the pressure formed in the barrel after the weapon is fired, and the idle parts in the mechanism move forward due to inertia, creating create kinetic energy and includes apparatus suitable for this system.

Mar 17, 2026

US12578159 - Firearm trigger mechanism

A trigger mechanism that can be used in AR-pattern firearms has a hammer, a trigger member, a disconnector, a cam, and a “three position” safety selector having safe, standard semi-automatic, and forced reset semi-automatic positions. In the standard semi-automatic position, rearward movement of the bolt carrier causes rearward pivoting of the hammer and pivoting of the cam from a first position to a second position such that a cam lobe forces the trigger member towards the set position, but prior to reaching the set position the disconnector hook catches the hammer hook, at which time a user must manually release the trigger member to free the hammer from the disconnector to permit the hammer and trigger member to pivot to their set positions so that the user can pull the trigger member to fire the firearm. In the forced reset semi-automatic position, rearward movement of the bolt carrier causes rearward pivoting of the hammer and pivoting of the cam from the first position to the second position such that the cam lobe forces the trigger member to the set position, the safety selector preventing the disconnector hook from catching the hammer hook, at which time the user can pull the trigger member to fire the firearm without manually releasing the trigger member.

Mar 17, 2026

US12578164 - Firearm stock with adjustable length of pull

A firearm stock includes a stock body slidably mounted on a beam. A lever attached to the stock body can be moved between a locked position and at least one unlocked position, where operating the lever moves a locking mechanism between locked and unlocked positions. For example, when the lever is in a first unlocked position, the locking mechanism permits longitudinal adjustment of the stock body along the beam. When the lever is in a second unlocked position the locking mechanism permits the stock body to be slidably removed from the beam. In one example, the lower portion of the stock body defines a plurality of cam pathways for pins that secure the lever to the stock body. Forward cam pathways permit either a pivoting movement about the rear pin or a downward and forward shifting movement.

Mar 10, 2026

US12571602 - Trigger assembly

A trigger assembly can include a sear defining a trigger bar engagement surface and a reset notch; and a trigger bar including an upper leg, the upper leg defining a sear engagement surface, the upper leg deflectable from a default leg shape to a disconnected leg shape, the sear engagement surface laterally aligned with the trigger bar engagement surface when the upper leg is in the default leg shape, the sear engagement surface laterally misaligned from the trigger bar engagement surface when the upper leg is in the disconnected leg shape.

Mar 3, 2026

US12566040 - Firearm

A firearm with a slide and a frame. The slide has a slide rail. The frame has a frame rail. The frame rail interfaces with the slide rail. The frame rail has a lubrication groove and a debris removal port. The lubrication groove extends along a surface of the frame rail that bears against the slide rail during operation of the firearm. The debris removal port has gap within the frame rail proximate to an end of the lubrication groove.

Feb 24, 2026

US12560392 - Action system for firearm

An action system for reducing recoil and muzzle rise in firearms is provided. The action system includes an outer housing having an internal cavity, a buffer tube in operable communication with a bolt carrier group of a firearm, and a slidable buffer within the buffer tube. A lever arm, pivotally secured within the outer housing, is operably connected to the buffer and moves radially under the buffer's force. A spring in the cavity engages with the lever arm, compressing as the lever arm is acted upon by the linear force produced by a bolt carrier group until the spring force exceeds the linear force, thus forcing the buffer in a direction opposite the direction of the linear force.

Feb 10, 2026

US12546547 - Firearm platform and method of connecting upper and lower receivers

A firearm platform and method of connecting an upper receiver to a lower receiver. The upper receiver has a pivot lug and a takedown lug with perimeter openings in opposite directions. The lower receiver has a locking member that pushes against the takedown lug which causes the upper receiver to displace forward. As a result of the forward displacement, a pivot pin in the lower receiver exerts an opposing force against the pivot lug. The locking member is displaced between a locked and unlocked position through a lever located on an exterior surface of the lower receiver. When the locking member is in the locked position, the lower receiver and uppers receiver form a connection that is tight and free from slop.

Feb 10, 2026

US12546549 - Firearm

A firearm comprises a frame; a barrel; a hand grip; a breechblock slidable along the frame; a striker slidable in the breechblock; a longitudinal elastic device for the recovery of the recoil kinetic energy for rearming the striker; and a closing block for locking the breechblock in the closing position, the closing block having a body which extends longitudinally and having a rear wall engaged with a downward protrusion integral with the barrel, a front wall engageable with the breechblock and a longitudinal recess which opens at the front wall, where the longitudinal elastic device for the recovery of kinetic energy has a longitudinal rear portion housed in the recess and a longitudinal front portion retractable towards the inside of the recess, and is longitudinally interposed between a front stop abutment solidly constrained to the breechblock and a rear stop abutment solidly constrained to the frame.

Feb 10, 2026

US12546550 - Firearm

A firearm, particularly a gun operating by recoil exploitation, comprising: a frame; a barrel, a hand grip; a breechblock slidable for the closing of the breech of the barrel; a striker; a longitudinal elastic device for the recovery of the recoil kinetic energy of the breechblock for rearming the striker; a release lever having a coupling position and a release position of the striker; a single action trigger mechanism comprising a trigger and a trigger transmission rod operatively connected to the trigger and to the release lever, and an antagonist lever to the release lever, the mass of the antagonist lever being distributed and arranged to strain the antagonist lever with inertial forces that contrast the release lever for preventing the accidental release of the striker.

Feb 10, 2026

US12546555 - Crossbow with plates supporting limbs

A crossbow includes a first plate and a second plate. The second plate is coupled to the first plate, extends substantially parallel to the first plate, and is spaced apart from the first plate. The crossbow includes an upper flexible limb coupled with the first plate at a first mounting location of the first plate and a lower flexible limb coupled with the second plate at the first mounting location of the second plate. The crossbow includes a pulley coupled with the upper flexible limb and the lower flexible limb. A draw string is operatively engaged with the pulley and is configured to move from a released position to a drawn position. A cocking mechanism is coupled with the first plate and the second plate at the respective second mounting locations. The cocking mechanism is configured to move the draw string from the released position the drawn position.

Feb 10, 2026

US12546557 - Crossbow crank and related method of use

A crossbow crank can comprise a drive shaft selectively coupled to a one-way bearing that allows rotation of the drive shaft and an associated spool in a first direction, and impairs rotation of the drive shaft and the spool in a second direction. The drive shaft can be automatically locked and unlocked relative to the one-way bearing, allowing the bearing to control operation of the drive shaft, via a brake. The brake can be axially compressible along the drive shaft to automatically lock the drive shaft and a sleeve so they are fixed relative to one another and rotate in unison when the drive shaft is rotated in the first direction. The brake can be deactivated by operation of a crank so that the drive shaft can rotate freely relative to the sleeve and thus the bearing in a second direction. A related method of use is provided.

Feb 10, 2026

US12546562 - Locking systems and methods for handguard of a firearm

A handguard is for a firearm having a firearm upper. The handguard includes a body and a cam. The body is structured to be coupled to the firearm upper. The body has a central lumen having a longitudinal axis. The cam may be coupled to the body in substantially perpendicular alignment to the longitudinal axis and is configured to rotate between an UNLOCKED position and a LOCKED position. When the cam rotates from the UNLOCKED position toward the LOCKED position, the cam rotates into the central lumen.

Feb 3, 2026

US12540786 - Modular AR-type safety selector with lever mounting pins

A safety selector lever assembly may include a selector core comprising an elongated section having a curved and at least one angled face, a first and second extension positioned on opposing ends of the selector core, each comprising an extension aperture, and wherein the elongated section is positioned between the first and the second extensions, a plurality of levers, each comprising: a proximal and distal end, a recess for receiving one of the first and the second extension, a pin aperture, a pin, wherein at least a portion of the pin can pass through the first pin aperture and the extension aperture, and wherein rotation of the levers to a first position enables firing of the firearm and rotation to a second position precludes firing of the firearm.

Feb 3, 2026

US12540804 - Drag reduction fin deployment mechanism

A projectile having a body that includes a nose, a tail opposite to the nose, a chamber defined between the tail and the nose, and a longitudinal axis defined between the nose and the tail. The projectile also includes a payload stored in the chamber of the body, and a propulsion system equipped with the body. The projectile also includes a fin assembly operably engaged with the body between the nose and the tail and is positioned outside of the chamber, wherein a fin of the fin assembly is moveable between a stowed position and a deployed position. In the stowed position, the fin is stowed completely between the nose and the tail. In the deployed position, a portion of the fin extends away from the nose or from the tail.

Jan 27, 2026

US12535280 - Small firearms and method of operating small firearms

A small firearm includes: a receiver; a barrel including a barrel bore axis; an action including a bolt head; and a guide surface, the receiver being configured for (i) at least indirectly receiving the barrel including a locking mechanism area, a chamber, a guide area, and a muzzle arranged successively in the longitudinal direction, and (ii) at least indirectly receiving the action movably arranged within the receiver along the longitudinal direction from an open position to a closed position, the guide surface, which is within a locking space, being configured such that at least one of (i) an entry of a cartridge case under an influence of a torque during a movement of the action from a closed position to an open position is limited due to an interaction of an ejector and an extractor and (ii) an exit of the cartridge case is favored.

Jan 27, 2026

US12535282 - Bolt stop actuator for use in a firearm

A bolt stop actuator is disclosed. The actuator may include a lift arm, a first leg extending from a point proximate to an end of the lift bar and generally perpendicular therefrom, a second leg extending in the same direction from the lift bar as the first leg, and a projection extending from the lift bar and configured to contact a follower of an empty magazine when the bolt stop actuator is assembled into a firearm. Neither the first leg, nor the second leg, include apertures positioned distal to the lift arm.

Jan 27, 2026

US12535284 - Linear trigger bolt action firearm

Disclosed is a linear trigger mechanism for a firearm. In certain examples, the trigger mechanism includes a trigger housing having a linear trigger pathway and a removeable side plate. The trigger mechanism also includes a trigger that is at least partially disposed between the trigger housing and the removeable side plate, where the trigger is configured to move between a first position and a second position along a path that is defined by the trigger pathway, and where the trigger includes an angled sear engagement surface. The trigger mechanism also includes a sear that is at least partially disposed between the trigger housing and the removeable side plate and is configured to pivot with respect to the trigger housing, where the sear includes an angled trigger engagement surface that corresponds with the angled sear engagement surface.

Jan 20, 2026

US12529538 - Safety mechanism for firearm

A safety mechanism for a firearm includes a cam selector, a lever, and a trigger. The cam selector comprises a first end, a second end, a top side, and a bottom side. The cam selector comprises a longitudinal slot positioned on the top side of the cam selector. The lever comprises a proximal end and a distal end. The longitudinal slot is configured to receive the lever. The cam selector further comprises a first recess and a second recess on the bottom side of the cam selector. The trigger comprises a first trigger tail portion. In addition to the standard semi-automatic and safe modes, the present invention provides an additional active reset mode in which the cam selector is configured to allow the first trigger tail portion to engage the second recess and be moved down by a cam portion of the second recess when the cam selector rotates.

Jan 6, 2026

US12516898 - Firearm four-bar linkage and slider-crank mechanisms and related techniques

The techniques described herein relate to methods and apparatus for a multi-linkage mechanical system comprising: a four-bar linkage mechanism comprising: a first ground connected to other linkages via a first revolute grounded joint and a second revolute grounded joint; a first crank; a first coupler; and a first output; and a slider-crank mechanism comprising: a second ground connected to other linkages via the second revolute grounded joint and a prismatic joint; a second crank; a second coupler; and a second output, wherein the first output of the four-bar linkage mechanism is connected to and configured to drive the second crank of the slider-crank mechanism. The techniques described herein relate to methods and apparatus for a firearm comprising: a lever; a four-bar linkage mechanism; and a slider-crank mechanism, wherein the lever includes at least one linkage of the four-bar linkage mechanism.

Jan 6, 2026

US12516899 - Hydraulic recoil device for handgun applications

A hydraulic recoil device for a handgun or pistol is provided. The device includes a cylinder defining an interior hollow compartment having a first end and a second end. The device further includes a first resilient member; a piston assembly arranged adjacent to the first resilient member and at least partially within the cylinder, where the piston assembly includes a piston head, a piston rod, and a piston cap; an accumulator arranged within the cylinder; and a second resilient member outside of the cylinder. The piston assembly is configured to remove an initial jolt in a firing cycle with a hydraulic resistance and the second resilient member is configured to provide recoil reduction after the initial jolt in the firing cycle. A method of reducing recoil in a handgun or pistol is also provided.

Dec 30, 2025

US12510314 - Breech block and rifle with such a breech block

A breech block with a bolt carrier, on which a bolt head and a locking device are arranged with two diametrically opposed locking elements pivotable from a release position to a locking position via a control element, for holding the bolt head in a locking position. The locking elements are mounted pivotably around a common transverse axis via journals and the control element contains front and rear support areas that abut against the locking elements for controlled forced movement of the locking elements into both the locking position and the release position.

Dec 30, 2025

US12510315 - Firearm

The invention relates to a firearm comprising: a housing ( 1 ) having a receptacle ( 2 ) for several cartridges or for a magazine with cartridges; a barrel unit ( 3 ) which is located in the housing ( 1 ) and has a barrel ( 4 ) and a cartridge chamber ( 6 ); a breechblock ( 8 ), which can be moved relative to the housing ( 1 ) and is biased in the firing direction by means of a return spring ( 7 ), for conveying cartridges into the cartridge chamber ( 6 ) or cartridge cases to an ejection port; and a gas braking device which is located in the housing ( 1 ) and comprises a cylinder ( 9 ) which is positioned parallel to the barrel ( 4 ) and which is connected to the interior of the barrel ( 4 ) via a gas extraction opening ( 10 ); and a piston ( 11 ) which can be moved inside the cylinder ( 9 ) and which is coupled to the breechblock ( 8 ). The breechblock ( 8 ) is located in a breechblock carrier unit ( 12 ) which is located completely inside the housing ( 1 ) over the entire movement path while a shot is being fired and during a reloading operation, the breechblock carrier unit ( 12 ) comprising the breechblock ( 8 ) itself, two connecting sections ( 13 ) guided parallel to the barrel ( 8 ) in the housing ( 1 ), and a coupling section ( 14 ) to be coupled with the piston ( 11 ) of the gas braking device.

Dec 30, 2025

US12510316 - Box magazine fed firearm receiver with pinch tabs

A box magazine fed firearm includes pinch tabs in the receiver of the firearm. In one embodiment, the pinch tabs are opposing pieces of spring steel extending upwardly and inwardly from opposing lateral sides of the receiver. In one embodiment, the pinch tabs are sections of flat spring steel bent into an arcuate shape and secured to the receiver by screws. In one embodiment, tension screws are used to adjust an inward bias of each of the pinch tabs.

Dec 30, 2025

US12510317 - Firearm semiautomatic trigger mechanism

A trigger mechanism having a hammer, a trigger member, movable ejector lever, and locking member. The trigger member being forced to the set position by the hammer during rearward pivoting. A locking member is adapted to move between a first position at which the locking member mechanically blocks the trigger member from moving to the released position and a second position at which the locking member does not mechanically block the trigger member allowing the trigger member to be moved to the released position. The locking member is spring biased toward the first position and moved against the spring bias to the second position by contact from the movable ejector lever during forward movement of the bolt carrier as the bolt carrier reaches a substantially in-battery position.

Dec 30, 2025

US12510318 - Firearm trigger

Disclosed is a linear trigger mechanism for a firearm. In certain examples, the trigger mechanism includes a trigger housing configured to couple with a fire control unit of the firearm, and a trigger slideably coupled with the trigger housing and movable along a linear path. The linear trigger mechanism also includes a trigger bar having a first end coupled with the trigger and a second end coupled with a sear activation module, where the sear activation module is moveable with respect to the fire control unit along a longitudinal path with the trigger bar, and where the sear activation module is moveable laterally with respect to the trigger bar.

Dec 30, 2025

US12510329 - Rotor housing for minigun

An assembly for quickly attaching and detaching the guide bar to and from the rotor housing of a minigun is provided. The assembly comprises a guide bar and a rotor housing. The guide bar includes a front end having a pinhole extending through the front end and a rear end having a locking cam. The rotor housing includes a recessed channel configured to receive the locking cam and a spring-loaded lock pin assembly configured to secure the front end of the guide bar. The guide bar is secured to the rotor housing when the locking cam is inserted into the recessed channel and the spring-loaded lock pin assembly secures the front end of the guide bar. The assembly allows the guide bar to quickly be attached and detached from the rotor housing without the need for tools. The rotor housing may be designed without a yoke to reduce weight.

Dec 30, 2025

US12510340 - Inertial igniters for low-g and long-duration firing acceleration munitions and the like

An inertial mechanism including a member rotatable about an axis between activatable and activated positions, in the activatable position a first center of mass of the member is offset from the axis in a direction perpendicular to a direction of acceleration, the member having a surface; and another member rotatable about an axis between rest and activated positions, the rest position being where the second member cannot be moved into its activated position from an acceleration event, the other member also having a surface, the surfaces engage with each other when the member moves to its activated position to move the other member from its rest position to its activatable position, which is also where a center of mass of the other member is offset from its axis in the direction perpendicular to the direction of the acceleration.

Dec 16, 2025

US12498188 - Charging handle for a firearm

The charging handle includes a latch assembly and a plunger that locks the latch assembly, preventing a lever of the latch assembly from rotating and thereby transitioning the latch from the relaxed position, in which the latch can engage the receiver of the firearm, to the released position. This configuration prevents the charging handle from inadvertently pulling the bolt carrier group of the firearm out of battery when snagged, which might otherwise render the firearm inoperable due to unintended operation of the charging handle.

Dec 9, 2025

US12492873 - Delayed blowback system for a firearm

Apparatuses, systems, and methods are disclosed for delayed blowback mechanisms for use in or with firearms. The delayed blowback mechanism includes a housing having an internal chamber, where the housing comprises a cam pathway. The delayed blowback mechanism also includes a pivoting latch disposed at least partially within the internal chamber, where the pivoting latch is movable, with respect to the housing, along the cam pathway between a first position and a second position.

Dec 9, 2025

US12492874 - Charging handle for a firearm

The charging handle for a firearm includes a latch assembly and two levers, each operably and independently connected to the latch assembly. Additionally, each lever includes a biasing arm, the end portion of which is positioned in an overlapping arrangement with the end portion of the other biasing arm. In this way, the overlapping, or “nested,” end portions of the biasing arms contact substantially the same portion of the cam surface on the latch. This allows each lever to provide an even resistance to the user when pulled.

Dec 9, 2025

US12492876 - Firearm safety feature

A novel firearm safety feature includes arresting surfaces for preventing the fall of a hammer in the event of a spontaneous failure of other firearm parts. In a particular embodiment a safety lug has an arresting surface and the hammer has a complementary arresting surface. In the event of a spontaneous failure, the arresting surface and the complementary arresting surface create a positive engagement and prevent the hammer from falling. In another embodiment, a grip safety includes an arresting surface and the hammer includes a complementary arresting surface. In the event of a spontaneous failure, the arresting surface and the complementary arresting surface create a positive engagement and prevent the hammer from falling.

Dec 2, 2025

US12485344 - Triggering mechanism

A triggering mechanism for a weapon may include a moveably arranged trigger; an actuator slidably arranged along a path; and a releasable coupling. The releasable coupling member may be configured to couple the actuator with the trigger such that when a pulling motion is exerted on the trigger, the actuator moves in a first direction along the. An adjustable stop member may be configured to stop the movement of the actuator in the first direction at an adjustable stop position, such that further pulling motion on the trigger causes the actuator to be released from the trigger and to be moved in a second direction along the path. The second direction is different than the first direction. A sensor may be configured to detect movement of the actuator in the second direction and in response to the detection transmit a trigger signal.

Dec 2, 2025

US12487052 - Stock for a firearm

A stock for a firearm includes a mount, a first member, and a second member. The mount is configured to be coupled to a main body of the firearm. The first member is configured to move along a longitudinal axis defined by the firearm relative to the mount. The second member is configured to move along the longitudinal axis relative to the first member.

Nov 18, 2025

US12474131 - Frame assembly for a firearm

A receiver assembly for a handgun. The receiver assembly includes an upper receiver portion, a lower receiver portion, and a locking mechanism. The upper receiver portion includes i) a guide rail for receiving a slide assembly and ii) a magazine compartment for receiving a magazine. The magazine compartment defines a magazine insertion direction, and the magazine is pushable into the magazine compartment in the magazine insertion direction. The lower receiver portion is slidable onto the upper receiver portion in the magazine insertion direction. The locking mechanism is configured to couple the lower receiver portion to the upper receiver portion. The locking mechanism includes a locking element that is structurally independent. The locking element includes a contact projection and a locking projection. The contact projection form-fittingly engages with the lower receiver portion and the locking projection form-fittingly engages with the upper receiver portion.

Nov 18, 2025

US12474134 - Ergonomic rifle with a mechanism holder

A rifle has a body, a magazine slot, a handle, a lower mechanism movable between primary and secondary positions in the direction of the barrel extension to drive bullets into the barrel and a monoblock rifle mechanism having an upper mechanism extending over the barrel of the rifle. A primary lock slot is provided on the upper mechanism, and a secondary lock slot on the barrel. One end of a main arm is rotatably connected to the barrel. A button is connected to the main arm so that the user can move the main arm. When the button is pushed from the barrel towards the upper mechanism, if the rifle mechanism is retracted, it will snap into the primary lock slot. If the rifle mechanism is retracted, it includes a mechanism stopper with a lock lever that fits into the primary lock slot and prevents the rifle mechanism from moving.

Nov 18, 2025

US12474135 - Firearm trigger chock

A firearm trigger chock that may include a chock portion and a forward extending plate having an aperture. The chock portion is configured to prevent depression of the trigger. The chock portion has an interior side and an exterior side, and a trigger-engaging surface that substantially corresponds with the dimension and curvature of the rear of a trigger. In a version, the aperture extends through the plate and forward of the trigger.

Nov 11, 2025

US12467706 - Trigger mechanism for firearms

The invention is aimed at improving the accuracy of shooting by reducing the force on a trigger of a firearm during firing. The technical result is achieved by the fact that the design of the trigger mechanism includes a housing in which a hammer and a hammer spring are installed, a tubular axle on which the trigger having a groove allowing longitudinal movement along the axle is installed, thereby disengaging a return mechanism installed in its housing, a roller sear, and a single-fire sear. To engage the return mechanism, the trigger and the hammer are equipped with cams, and when a breechblock carrier is recoiled, the hammer is lowered and its cam affects the trigger cam, forcing the trigger to move backwards (if it has been moved to a forward position before). The return mechanism is also engaged when a safety lock is activated.

Oct 28, 2025

US12455128 - Kinetic delay operating system for recoil firearms

A gun includes a kinetic delay to reduce total recoil energy transferred to a shooter and extend the time of the recoil impulse to reduce felt recoil and increase controllability. In one embodiment, a bolt of a gun is longitudinally separated from a bolt carrier of the gun such that there is a delay between firing the gun and the bolt longitudinally impacting the bolt carrier. In one embodiment, the barrel is longitudinally separated from the bolt carrier such that the barrel longitudinally impacts the bolt carrier before the barrel longitudinally impacts a barrel stop of the gun when the gun is fired. In one embodiment, a locking bolt includes a bolt pin extending through a bolt pin slot in the bolt carrier and the bolt pin slot is elongated such that the bolt pin does not contact either end of the bolt pin slot when the gun is cycled.

Oct 21, 2025

US12449217 - Systems and methods to make safe a firearm

Systems and methods are provided for the making safe of a firearm. A safety system includes a lock mechanism coupled to an engagement member and a user interface. The engagement member is movably coupled to the firearm and rotatable between an unlock position and a lock position. A contact face of the engagement member is in contact with an outer surface of a distal portion of a breechblock in the lock position and precludes a distal movement of the breechblock. The engagement member is configured to transition between the lock position and the unlock position while remaining movably coupled to the handgun. Movement of the engagement member from the lock position is restricted by the lock mechanism until disengaged via the user interface.

Oct 21, 2025

US12449229 - Bottom chamber firing revolver

A revolver having a frame, a cylinder, a trigger assembly, and a barrel. The cylinder is rotatable on its axis and is indexed to position a chamber at the six o'clock position. The barrel is in line with the chamber at the six o'clock position, allowing the revolver to fire a projectile from the six o'clock position, thus causing less barrel rise.

Oct 14, 2025

US12442603 - Lever action firearms having gear assemblies and linkage assemblies for connecting its action lever to its bolt carrier assembly and associated methods

Lever action firearms having a linkage assembly for pivotally connecting its action lever to its bolt carrier assembly and associated methods are disclosed. The lever action firearm includes a bolt carrier assembly received in an upper frame and operable to reciprocate between an open position and a closed position. The bolt carrier assembly includes a first pivot. A lower frame defines a magazine well configured to removably receive a box magazine. The lever action firearm includes an action lever movable between a retracted position and an extended position. The action lever includes second and third pivots. The action lever is pivotally connected to the lower frame at the second pivot. The lever action firearm also includes a linkage assembly is pivotally connected to the action lever at the third pivot, wherein the linkage assembly is pivotally connected to the bolt carrier assembly at the first pivot.

Oct 7, 2025

US12435940 - Trigger assembly having a secondary disconnector

A trigger assembly for a firearm includes a housing with an opening adapted to receive a trigger bar guide portion of a trigger bar. The opening includes a ridge that extends downward from an upper surface of the opening. The trigger bar guide is forced downward in the opening by a connector as the trigger is pulled to cause a first disconnect of a striker resulting in a first firing. Upon release of the trigger the trigger bar guide moves upward and upon return to a released position is forced downward to cause a secondary disconnect of striker resulting in a second firing.

Sep 16, 2025

US12416463 - Helical electromagnetic counter recoil mechanism

An artillery configured to propel a projectile, the artillery comprising a firing mechanism, a barrel, and a helical electromagnetic recoil mechanism. The firing mechanism fires the projectile in a first direction toward a target. The barrel has an open-ended bore that guides the projectile in the first direction. The helical electromagnetic counter recoil mechanism includes an electrical energy source, a stator, and a helical electromagnetic armature. The electrical energy source provides electrical energy when the firing mechanism fires the projectile. The stator and armature generate an electromagnetic force via the electrical energy. The helical electromagnetic armature moves in a second direction opposite the first direction via the electromagnetic force when the firing mechanism fires the projectile in the first direction to minimize recoil of the artillery.

Sep 9, 2025

US12410977 - Firearm

A firearm, comprising a frame ( 1 ) in which a breech block carrier ( 4 ) is arranged, as well as a barrel ( 2 ) behind the rear face ( 3 ) of which the breech block ( 5 ) is arranged in the frame ( 1 ). The barrel ( 2 ) is firmly connected to a barrel sleeve ( 6 ). The barrel sleeve ( 6 ) is slidingly mounted in a linear guide in the frame ( 1 ). The breech block ( 5 ) is mounted behind the rear face ( 3 ) of the barrel ( 2 ) slidingly in the direction of the barrel ( 2 ) axis. The breech block carrier ( 4 ) is slidingly mounted in a linear guide in the frame ( 1 ). On the top side of the breech block ( 5 ), a vertically movable locking block ( 9 ) is arranged, and the locking block ( 9 ) can be introduced into a recess ( 10 ) in the barrel sleeve ( 6 ). The frame ( 1 ) is provided with a front stop ( 12 ) of the barrel sleeve ( 6 ) and a rear stop ( 13 ) of the barrel sleeve ( 6 ). The barrel sleeve ( 6 ) is provided with a front stop ( 15 ) of the breech block ( 5 ), and a rear stop ( 16 ) of the breech block carrier ( 4 ). A barrel spring ( 14 ) is arranged between the frame ( 1 ) and the barrel sleeve ( 6 ).

Sep 9, 2025

US12410980 - Drop-in system to enhance the resetting and operations of semiautomatic firearms

A drop-in system for a semiautomatic firearm trigger includes a trigger-locking block, a hump block, a trigger-locking block transfer bar and an axis retainer plate that operate together to enhance the operations of a semiautomatic firearm trigger. The trigger-locking block is pivoted on a firearm safety pin to lock the trigger when the carrier bolt travels rearward, the hump block is pivotally disposed within a trigger cradle on a trigger pin to receive a force of a hammer to rotate rearward to rotate the trigger assembly backward, the trigger-locking block transfer bar slides along carrier bolt guide and rotate the trigger-locking block forward to releasee the trigger, and the axis retainer plate holds the trigger-locking block rotatably in place and limits the rotation of the trigger-locking block.

Aug 26, 2025

US12398967 - Folding firearm

Folding firearms have a frame having a trigger assembly and a bolt passage, a barrel assembly pivotally connected to the frame for movement between an extended operable condition and a folded inoperable condition, the barrel assembly defining a barrel axis, a latch assembly operably connected to the frame and to the barrel assembly, the latch assembly including a latch operable between a first latched condition and a second unlatched condition, when the barrel assembly is in the operable condition and the latch is in the latched condition, the barrel assembly is secured in the operable condition, when the latch is in the unlatched condition, the barrel assembly is free to move away from the operable condition toward the folded condition, and the firearm being free of restraints on movement of the barrel assembly from the operable condition besides the latch, such that single-control release of the barrel assembly is provided.