Modern_sporting

Patents tagged Modern_sporting

Jun 10, 2025

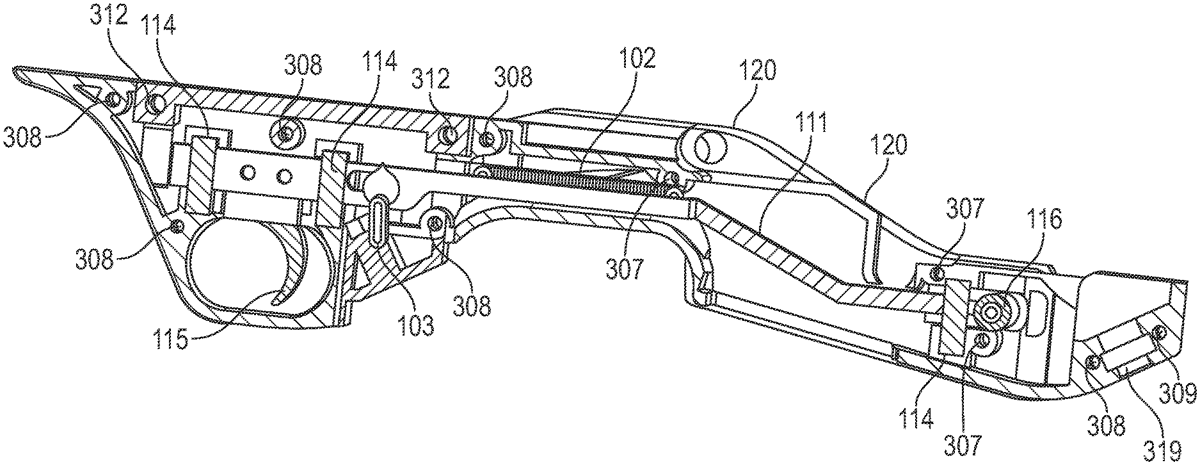
US12326309 - Trigger relocation assembly for modern sporting firearm

A trigger relocation assembly for a modern sporting firearm includes a frame enclosing a trigger of the modern sporting firearm, an assembly trigger within the frame, the assembly trigger positioned forward of the trigger, an asymmetrical transfer bar coupled to transfer movement of the assembly trigger one-to-one to the trigger, and a plurality of bushings. The bushings are configured to guide the transfer bar within the frame.