Mounting Device

Patents tagged Mounting Device

Dec 30, 2025

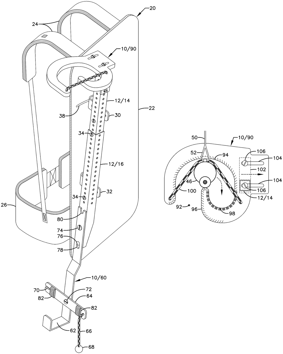
US12510328 - Modified long gun mounting device

A mounting device attachable on a backpack or the like is described that allows a backpack wearer to remove a long gun from the backpack and reattach it without removing the backpack, without assistance from a second person, and without complex mechanical devices. The mounting device includes a generally rigid, length adjustable base member with a generally rigid lower member pivotally attached to a first end, wherein the lower member includes a horizontal surface for receiving a long gun butt and a means for securing the butt to it. A grasping mechanism is attached to a second end of the base member and receives and secures a long gun barrel or barrel and forend with the use of a gun sling or leash. A coupling means is also included that allows the mounting device to be attached to a multiplicity of backpack types.