Muzzle

Patents tagged Muzzle

May 5, 2026

US12618634 - Muzzle flash simulator and method for generating light trail

Disclosed are a muzzle flame simulator and a method for generating a light trail. The muzzle flame simulator includes a projectile passage, a projectile sensor, a controller, and at least one simulating flame light source. The projectile passage is disposed inside the muzzle flame simulator. The projectile sensor is coupled to the controller and configured to send a trigger signal to the controller in response to detecting a projectile passing through the projectile passage. The controller includes a signal generator circuit, which is configured to output at least two preset periodically changing control signals. The controller is configured to start the signal generator circuit in response to detecting the trigger signal. The at least one simulating flame light source is coupled to the controller, the simulating flame light source each at least includes two illuminating components that are configured to periodically emit light based on the control signals.

Apr 14, 2026

US12601557 - Quick coupling muzzle booster and surpressor adaptor system for locked breech pistols and pistol caliber carbines

The present invention provides a quick coupling muzzle booster and suppressor adaptor system having a quick coupling muzzle booster and suppressor adaptor and direct rifle mount that can be coupled to a suppressor and mounted on a lock breech pistol or pistol caliber carbine. The system according to the invention provides wherein the quick coupling muzzle booster includes a booster slide with an external quick connect for coupling to the suppressor adaptor, and wherein the external quick connect of the booster slide includes a plurality of lugs corresponding to a proximal end of a housing of the suppressor coupling, and wherein the muzzle booster includes a booster piston that is coupled to a pistol. The system according to the invention may provide wherein the muzzle booster includes a booster piston nut with a spring, wherein the booster piston nut is coupled to the booster piston.

Apr 7, 2026

US12595984 - Gun muzzle sound suppressor

A gun muzzle sound suppressor including a plurality of segments, wherein each segment among the plurality of segments including a cylindrical housing having an inner surface and an outer surface, wherein the each segment further includes a conical baffle fixedly attached to the inner surface of the each segment's cylindrical housing, wherein the each segment further includes a plurality of vanes fixedly attached to the outer surface of the each segment's cylindrical housing; an outer housing having an inner surface, wherein the outer housing is fitted for sliding receipts of the segments, wherein upon the receipts of the segments, the vanes contact the outer housing's inner surface; and a pair of rings fixedly attached to the outer housing, one the rings among the pair of rings being positioned muzzlewardly from a muzzleward-most segment among the plurality of segments, the other ring among the plurality of rings being positioned breachwardly from a breachward-most segment among the plurality of segments.

Feb 24, 2026

US12560396 - Assembly for a firearm

An assembly ( 1 ) for a firearm ( 2 ). The assembly includes a muzzle device ( 3 ) configured to be attached to the firearm ( 2 ), a substantially tubular muzzle adapter ( 9 ), a substantially tubular attachment mount ( 15 ), a substantially tubular clutch collar ( 19 ), and a device ( 23 ) such as a sound suppressor. The device ( 23 ) is releasably attached to the substantially tubular attachment mount ( 15 ) by an attachment device ( 25 ). The muzzle device ( 3 ) is configured to be releasably received in the substantially tubular muzzle adapter ( 9 ). The substantially tubular muzzle adapter ( 9 ) is attached to the substantially tubular clutch collar ( 19 ) for rotation about the longitudinal central axis A together with the substantially tubular clutch collar ( 19 ) with respect to the device ( 23 ), to the muzzle device ( 3 ) and to the substantially tubular attachment mount ( 15 ) between (i) a locking position, and (ii) an unlocking position.

Feb 10, 2026

US12546551 - Muzzle assembly for a firearm

A muzzle device for a firearm may include a device body and a plurality of ball bearings. The device body may be configured to be removably secured to a mount body of a mount configured to be secured to a barrel of the firearm, the mount body including a plurality of lugs each extending radially outward relative to a longitudinal axis of the mount and including a stop and a detent. The device body may include a plurality of protrusions each extending radially inward relative to a longitudinal axis of the muzzle device and configured to engage the stop of a respective lug of the mount to prevent rotation of the muzzle device relative to the mount in a first direction. The ball bearings each may be configured to move relative to the device body and to engage the detent of a respective lug of the mount to inhibit rotation of the muzzle device relative to the mount in a second direction opposite the first direction.

Feb 10, 2026

US12546552 - Quick-connect muzzle accessory

A muzzle accessory for coupling to a firearm barrel, the firearm barrel including a chamber for receiving a firearm round, a firing tube extending distally from the chamber to a distal end of the firearm barrel, the muzzle accessory can comprise a main body having a proximal end, a distal end, a through-channel extending longitudinally between the proximal end and the distal end, and a keyed receptacle within the through-channel; and a lock coupled to the main body, the lock being positionable into an unlocked position to permit insertion of the distal end of the firearm barrel within the through-channel of the main body, the lock being further positionable into a locked position to prevent removal of the distal end of the firearm barrel from the main body after the firearm barrel is inserted into the through-channel.

Feb 10, 2026

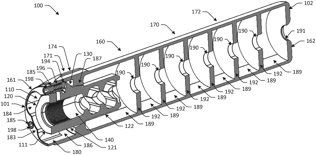
US12547790 - Firearm sound suppressor with peripheral venting

An apparatus and methods are provided for a suppressor to be coupled with a muzzle end of a barrel of a firearm to reduce muzzle blast and muzzle flash. The suppressor comprises a housing having a proximal end and a distal end. A front portion within the housing comprises a series of cylindrical gas expansion chambers for attenuating the temperature and energy of propellant gases accompanying a projectile fired from the firearm. An annular gas expansion chamber surrounds the cylindrical gas expansion chambers and directs a portion of the propellant gases from a rear portion of the suppressor to peripheral vents disposed at the distal end. Lateral chambers within the rear portion deflect and rebound a portion of the propellant gases before passing them into the annular gas expansion chamber. Ledges within the annular gas expansion chamber direct the propellant gases distally through suppressor toward the peripheral vents.

Jan 27, 2026

US12535285 - End cap muzzle control

A firearm accessory and an end cap useful with the firearm assembly. The firearm assembly handles exhaust gas expelled with a round fired from a firearm and includes a fitting, a sleeve, a fluid pressure dissipation structure, and an end cap assembly located at a distal end of the fluid dissipation structure. The sleeve defines an internal volume that at least partially receives the fluid dissipation structure. The end cap assembly and the fluid dissipation structure at least partially define one or more distal chambers in communication with the internal volume. The end cap assembly defines an angled port.

Oct 14, 2025

US12442613 - Compensator partition

A compensator for a firearm includes a body defining a projectile opening therethrough along a longitudinal axis, where the projectile opening is sized for passage of a projectile fired from the firearm. The compensator includes a removable partition than can be separated from the rest of the compensator to aid in cleaning and servicing. The partition can be replaced without needing to replace the entire compensator.

Aug 12, 2025

US12385710 - Gun attachment

The present disclosure provides systems and techniques for an attachment that can be fastened to a gun. The attachment may include a top surface having a longitudinal axis and an aiming sight that is parallel with the longitudinal axis, a front surface having a latitudinal axis that is perpendicular to the longitudinal axis, the front surface including a muzzle aperture, a left surface, a right surface, and a fastening system. The fastening system may include a first mounting aperture of the left surface, a second mounting aperture of the right surface, and a locking pin capable of being positioned in the first mounting aperture and in the second mounting aperture such that the locking pin fastens the attachment to the gun. The attachment may be fastened to the gun such that the longitudinal axis is parallel with a longitudinal bore axis of the gun.

Aug 5, 2025

US12379179 - Firearm muzzle accessory

An accessorized firearm can include a firearm including a barrel having a main firing tube, the barrel provided with an alignment key; and a muzzle accessory including an accessory body having a through-channel and a surface provided with an alignment groove, the through-channel receiving the barrel of the firearm, the alignment groove receiving the alignment key, the alignment key rotationally fixing the muzzle accessory relative to the barrel.

Jun 3, 2025

US12320602 - Firearm muzzle attachment apparatus

A mount for mounting a firearm sound suppressor or silencer to a firearm muzzle or muzzle device operates by using primary mounting lugs on the suppressor which engage sockets on the muzzle device. The primary lugs prevent the suppressor from axially moving with respect to the muzzle device, thus causing them to be fixed together as a unitary device. Angled bearing faces on the muzzle device and the sound suppressor are pressed against each other by rotating the sound suppressor on threads which drive the angled bearing faces together, thus tightening the primary lugs within their sockets. Backup lugs on the silencer engage an annular groove on the muzzle device to retain the silencer on the firearm to which it is mounted in case of failure of the primary lugs. Rapid attachment and detachment are supported by these structures.

Jun 3, 2025

US12320605 - Connector for a firearm accessory

A connector assembly for connecting a firearm accessory to a muzzle device for a firearm is disclosed. The connector assembly comprises a first connector part and a second connector part engaged to the first connector part by a threaded engagement. The first connector part presents a first engagement surface. At least two clamp members are configured to receive the muzzle device therebetween, the clamp members coupled to the second connector part to be axially and rotationally retained thereto. Each of the clamp members presents a second engagement surface to engage the first engagement surface. Rotation of the first connector part relative to the second connector part in a first direction moves the first connector part from a first relative axial position to a second relative axial position to engage the first engagement surface against the second engagement surfaces, to drive the clamp members radially inwards against the muzzle device in an inward radial position, to thereby clamp the muzzle device and connect the firearm accessory to the firearm.

May 27, 2025

US12313361 - Muzzle mount assembly

A mount assembly for attaching a firearm accessory to a muzzle of a firearm that promotes a more secure connection. The mounting assembly includes a front collar and a rear collar that are operable to clamp the mount assembly onto the muzzle. A detent ring mounted on the front collar yieldably biased by a spring against the rear collar to resist relative rotation of the front and rear collars. The mounting assembly is constructed so that the spring force applied by the spring does not continually increase as the front and rear collars move to clamp onto the muzzle. Detent springs used to yieldably hold the front and rear collars against relative rotation can be weaker than the main spring, which further reduces unwanted forces working against clamping of the mount assembly onto the muzzle. The mount assembly is also constructed to inhibit carbon lock.