Noise Reduction

Patents tagged Noise Reduction

Jul 1, 2025

US12345491 - Diverging central bore for firearm sound suppressor

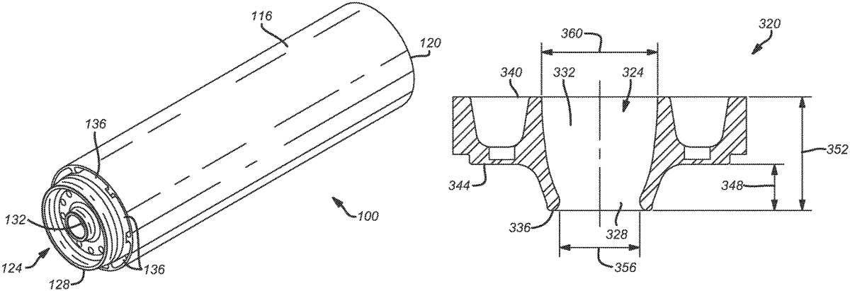
An apparatus and methods are provided for a front plate having a diverging central bore for firearm sound suppressors that improves noise and flash characteristics during firing a weapon. The central bore is disposed between a back surface and a front surface of the front plate. An untapered portion of the central bore extends from the back surface to a diverging portion that opens toward the front surface. The diverging portion includes a curvature profile configured to allow for more controlled expansion of high-pressure propellant gases exiting of the suppressor through the central bore. The curvature profile provides an included angle of the central bore that decreases secondary flash events accompanying the expulsion of propellant gases accompanying a fired bullet exiting the suppressor through the central bore. The curvature profile exhibits a cross-sectional area of the central bore that is proportional to a distance along the diverging portion.