Noise

Patents tagged Noise

Apr 7, 2026

US12595983 - Diverging central bore for firearm sound suppressor

An apparatus and methods are provided for a front plate having a diverging central bore for firearm sound suppressors that improves noise and flash characteristics during firing a weapon. The central bore is disposed between a back surface and a front surface of the front plate. An untapered portion of the central bore extends from the back surface to a diverging portion that opens toward the front surface. The diverging portion includes a curvature profile configured to allow for more controlled expansion of high-pressure propellant gases exiting of the suppressor through the central bore. The curvature profile provides an included angle of the central bore that decreases secondary flash events accompanying the expulsion of propellant gases accompanying a fired bullet exiting the suppressor through the central bore. The curvature profile exhibits a cross-sectional area of the central bore that is proportional to a distance along the diverging portion.

Jul 1, 2025

US12345492 - Hybrid heterogeneous material baffle for firearm noise suppressor

Provided is a firearm noise suppressor baffle formed of at least two material zones. The zones are made of materials having dissimilar coefficients of thermal expansion from each other and have an interface substantially transverse to a bore axis. The baffle includes an annularly interrupting gap having a width. The gap is formed in at least one of the material zones and extends substantially longitudinal relative to the bore axis from an edge of the baffle.

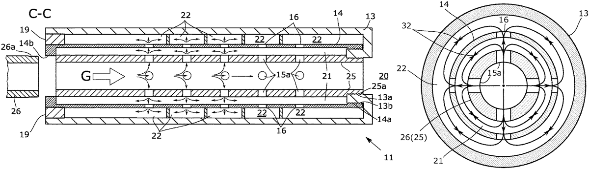
Jun 10, 2025

US12326310 - Firearm noise suppressor

A suppressor system for a firearm having aligned sleeve openings between the barrel or a central tube and an inner sleeve. The suppressor system further includes dividers located between an outer sleeve and the inner sleeve. The suppressor system provides improved noise attenuation through the expansion of hot gasses multiple cavities in the suppressor system and also by slowing the hot gasses via tortuous pathways or collision of hot gasses in the suppressor system.