Non-Metal

Patents tagged Non-Metal

Sep 30, 2025

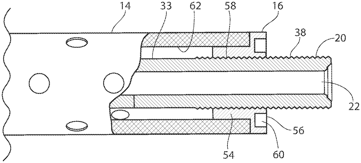
US12429299 - Firearm barrel with non-metal outer sleeve

A firearm barrel with non-metal outer sleeve preferably includes an elongated tube, a first non-metal tube, a second non-metal tube, a sleeve nut and a coupler bushing. A first raised sleeve support section and a raised coupler section are formed on the elongated sleeve. The raised coupler section is formed in substantially a middle of the elongated tube. The bushing inner diameter is sized to slidably receive an outer diameter of the raised coupler section. The first and second non-metal tubes include a tube inner diameter and a plurality of openings formed through a wall thereof. The tube inner diameters are sized to slidably receive an outer diameter of the first raised sleeve support section and each end of the coupler bushing. The sleeve nut retains the first and second non-metal tubes and the coupler bushing on the elongated tube. A second embodiment includes a single non-metal tube.