Pouch

Patents tagged Pouch

Sep 9, 2025

US12410997 - Ammunition magazine pouch and methods of assembling same

An ammunition magazine pouch is described herein. The ammunition magazine pouch includes a magazine support assembly including an interior surface defining a magazine chamber extending between an open top end and a closed bottom end. The magazine chamber is sized and shaped to receive at least one ammunition magazine therein. The magazine support assembly includes a front cover member including an inner surface defining a portion of the magazine chamber, a back plate member coupled to the front cover member to define the magazine chamber therebetween, and a tensioning assembly coupled to the front cover member and the back plate assembly for adjusting a distance between an upper portion of the front cover member and an upper portion of the back plate member to adjust a width of the open top end of the magazine chamber.

Jun 24, 2025

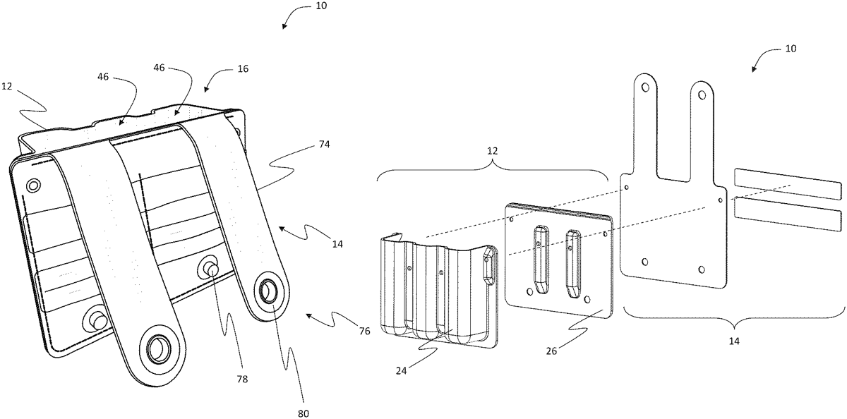
US12339110 - Ammunition magazine pouch and methods of assembling same

A method of manufacturing an ammunition magazine pouch is described herein. The pouch includes an interior surface defining a magazine chamber configured to receive an ammunition magazine therein. The method includes thermoforming a front cover member from a first sheet of thermoplastic material and thermoforming a back plate member from a second sheet of thermoplastic material. The method also includes stitching the back plate member to an attachment assembly and coupling the front cover member to the back plate member to define the magazine chamber therebetween extending between an open top end and a closed bottom end. The method also includes coupling a tensioning assembly to the front cover member and the back plate member to adjust a distance between an upper portion of the front cover member and an upper portion of the back plate member to adjust a width of the open top end of the magazine chamber.