Pump-Action

Patents tagged Pump-Action

Apr 29, 2025

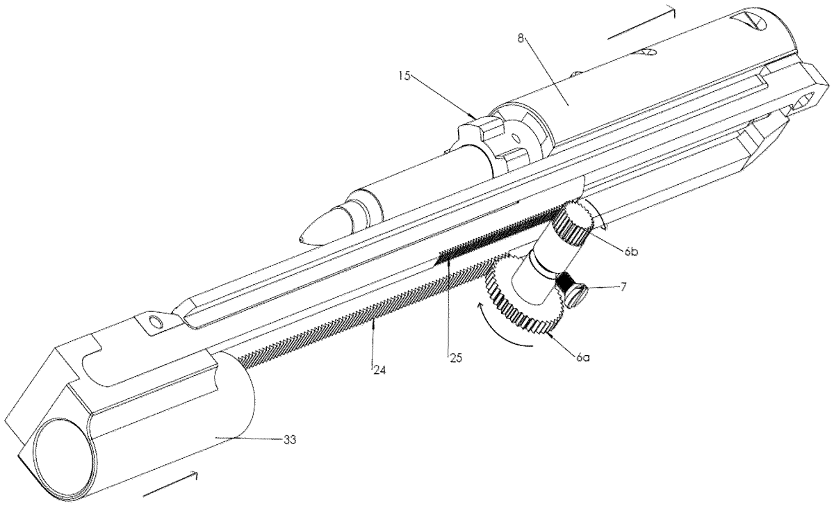
US12287173 - Short stroke pump-action shotgun

The present invention relates to a short stroke (operation distance) pump-action shotgun comprising a mechanism that reduces consequently the reloading path and reloading time approximately by 65 percent. The speed repeating faster is achieved, while firing with a pump-action shotgun and hunting rifle and furthermore, a better precision is ensured. The inventive shotgun may be a pump-action shotgun or pump-action hunting shotgun.