Receptacle

Patents tagged Receptacle

Feb 10, 2026

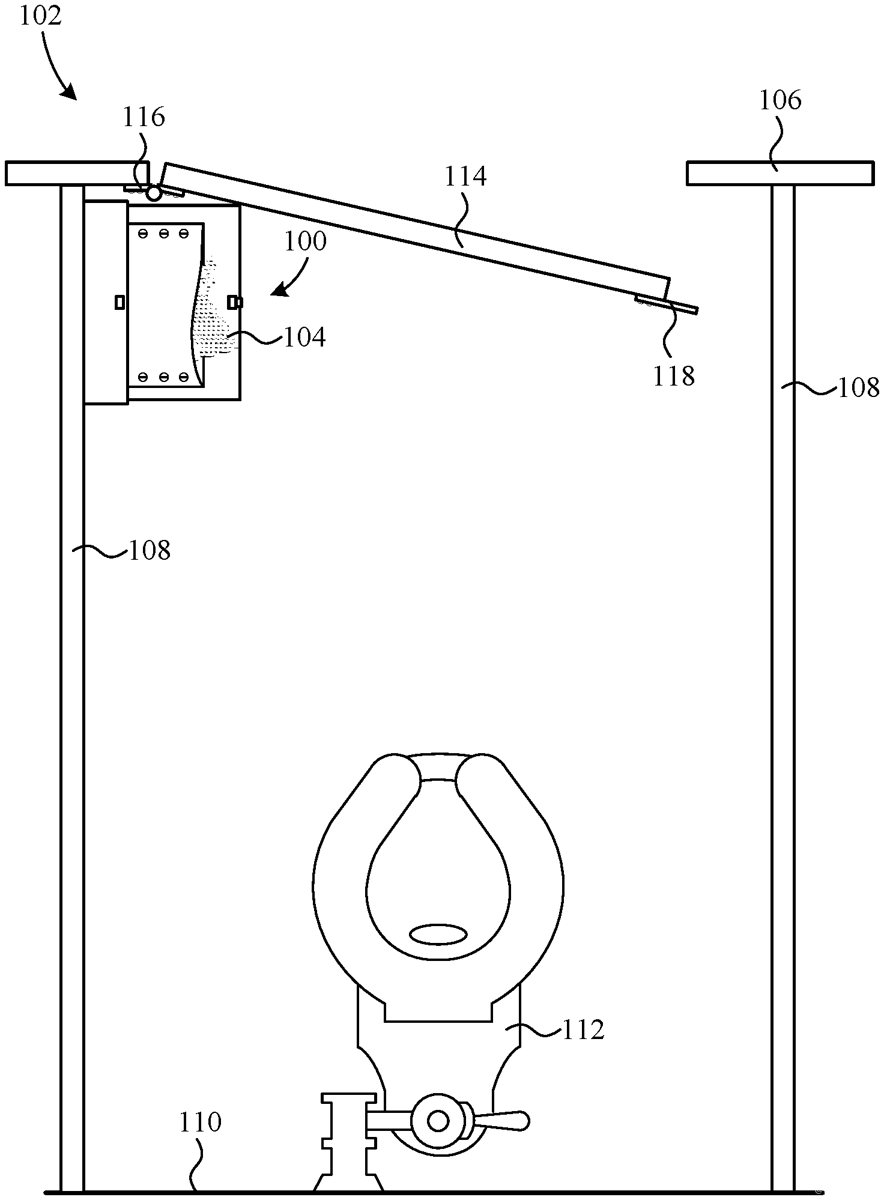
US12546565 - Restroom stall firearm receptacle

An example firearm receptacle includes a mounting structure, a firearm holder, and a door stopper. The mounting structure is configured to be fixably mounted to one of a wall or a door. The door stopper is configured to transition between a deployed position and a stowed position. In the example embodiment, the door stopper is configured to impede the opening of the door when the door stopper is in the deployed position and to allow the opening of the door when the door stopper is in the stowed position. The door stopper is additionally configured to prevent the door stopper from transitioning to the stowed position when a firearm is disposed in the firearm holder.