Release

Patents tagged Release

Apr 7, 2026

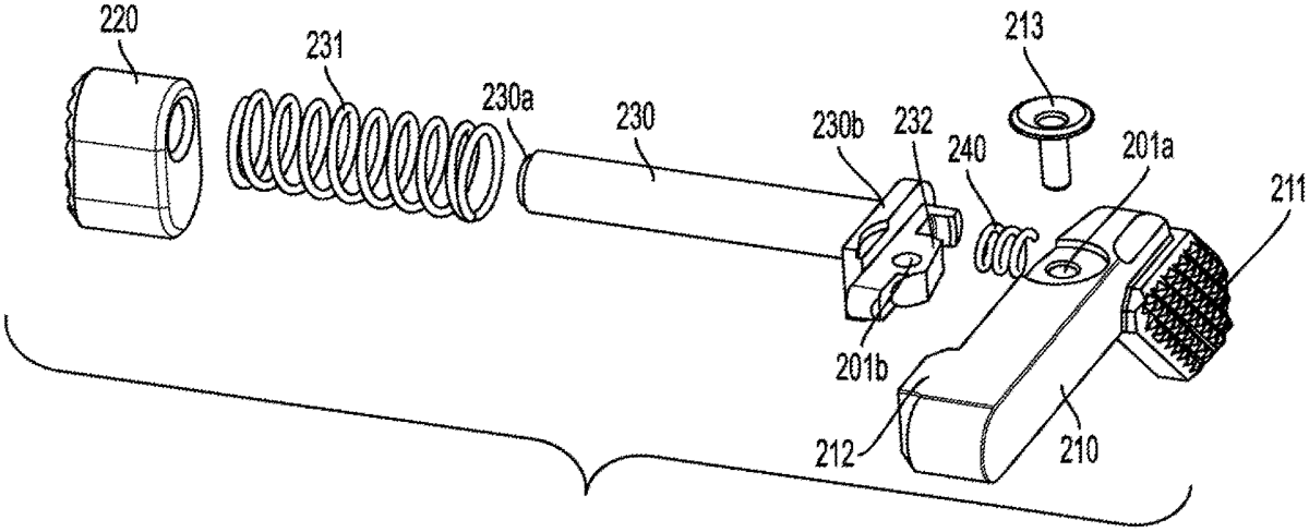
US12595982 - Ambidextrous bolt release mechanism for firearm

A firearm with ambidextrous bolt release mechanism includes a barrel and a bolt slideably mounted in the receiver for axial movement between forward closed breech position in battery with the barrel and a rearward open breech position. A recoil spring biases the bolt forward. A side-mounted bolt catch lever is configured and operable to selectively hold the bolt in the open breech position, and disengage the bolt to reclose the breech when manually actuated. A transversely movable actuator plunger allows a user to release the bolt from the side of the firearm opposite the bolt catch lever side. The plunger comprises an inclined camming surface which slideably engages a mating inclined camming ramp on the lever. Wedging action applied to the bolt catch lever by the plunger rotates the lever about its pivot axis to disengage and release the bolt.

Feb 10, 2026

US12546558 - Adjustable finger support for archery release

An adjustable finger support for an archery release includes a handle having a longitudinal axis, top and bottom portions and interior and exterior side surfaces. A pair of finger beds are configured for pivotal connection with the handle. A drive assembly connects the finger beds with the handle and displaces the finger beds relative to the handle to a desired width. The drive assembly includes a pair of brackets pivotally connected with the handle. The angle of the finger beds is further adjustable relative to the brackets, so that the finger beds are adjustable in both width and to provide variable finger support and an optimal fit for the archer to better positions a head portion of the archery release toward a target.

May 27, 2025

US12313366 - Ambidextrous firearm controls

Various embodiments are directed to ambidextrous firearm controls, including an ambidextrous bolt control assembly and/or ambidextrous magazine release and associated methods. The ambidextrous bolt control assembly may include a bolt catch configured to hingedly connect to a firearm to rotate between a disengaged position and an engaged position, the bolt catch may include a first bolt catch engagement button operable from a first side of the firearm and a first bolt catch release button operable from the first side of the firearm; an ambidextrous bolt catch engagement button operable from a second side of the firearm; and an ambidextrous bolt catch release button operable from the second side of the firearm; wherein the ambidextrous bolt catch engagement button and the ambidextrous bolt catch release button may each be separately movable relative to the firearm. The ambidextrous bolt catch assembly may further include an ambidextrous magazine release assembly.