Retention

Patents tagged Retention

May 5, 2026

US12618653 - Magazine retention systems

Magazine retention systems including a pouch, an anchor, an elastic cord, and a tension adjuster. The pouch defines a pouch interior and is configured to receive an ammunition magazine. The pouch includes sidewalls and a floor. The sidewalls define a pouch opening through which the ammunition magazine may be selectively placed within the pouch interior. The floor is coupled to the sidewalls opposite the pouch opening and cooperates with the sidewalls to define the pouch interior. The anchor is coupled to the pouch. The elastic cord is secured to the anchor and extends around the sidewalls. The tension adjuster is mounted to the elastic cord. The tension adjuster maintains the elastic cord under a selected tension. The tension adjuster and the elastic cord cooperate to selectively compress the sidewalls to secure the ammunition magazine inside the pouch interior.

Apr 14, 2026

US12601555 - Retaining magazine in magazine well

A magazine retention device includes a housing having a front surface and a back surface, a firearm attachment member for securing the magazine retention device to a portion of a firearm, a movable stop lever which includes a tab extending from a base member, the base member including an abutment face, and a pushing member which is urged against the abutment face by a biasing device. The movable stop lever has a locked position, in which the pushing member presses against the abutment face, which causes a portion of the movable stop lever to be pressed against a portion of the housing, such that the movable stop lever is sandwiched between the pushing member and the housing.

Jan 13, 2026

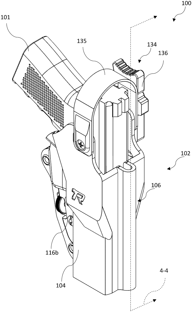
US12523444 - Handgun holster with retention mechanism

A holster includes a holster housing having an opening for inserting therethrough a weapon, a retention release lever including a shaft that has a pusher member and an inclined surface, and a holster retention tab pivotally coupled to the holster housing by a pivot element. The holster retention tab includes a catch, which lockingly engages an ejection port of the weapon when the weapon is inserted into the holster housing, and a force inclined surface. A biasing device is mounted in the holster housing to apply an urging force on the holster retention tab so as to retain the catch in the ejection port when the weapon is inserted into the holster housing. The inclined surface pushes against the force inclined surface, thereby creating a force vector that causes the holster retention tab to pivot about the pivot element and overcome the urging force of the biasing device and release the catch from the ejection port.

Sep 23, 2025

US12422218 - On-board and holster side firearm retention

A retention device for a firearm includes a latching lever mountable to a trigger guard of the firearm, and a latching receiver configured to receive and retain the firearm. The latching lever is pivotable about a first pivot point between a first engaging position and a second release position. The latching receiver is configured to receive and retain the firearm, and includes a latch pivotable about a second pivot point between a firearm engaging position and a firearm release position. The latch has a protrusion configured to engage and retain the firearm when the latching lever is in the first engaging position.

Sep 16, 2025

US12416470 - Holster with retention device and related methods

A holster is for a firearm and may include a holster body having a proximal wall to be adjacent a user, a distal wall opposite the proximal wall and defining a cavity to receive the firearm, a first longitudinal side coupling the proximal wall and the distal wall, and a second longitudinal side opposite the first longitudinal side and coupling the proximal wall and the distal wall. The holster may include a first retention device having an anchor body coupled between the proximal wall and the distal wall at the second longitudinal side, a flexible arm extending from the anchor body and to press against the firearm when in the cavity, and an adjustable feature carried by the anchor body and configured to bias the flexible arm against the firearm.

Jun 17, 2025

US12332006 - Firearm magazine retention system with positive positioning feature

A firearm magazine retention and release system providing a motion-limiting engagement between a firearm and a magazine. The magazine is provided with a catch opening. The firearm is provided with a magazine catch having a protrusion positioned to engage the catch opening. The protrusion includes one or more sloping surfaces that provide a greater vertical engagement as the protrusion is urged further into the catch opening. The result is that the protrusion engages one or more edges of the catch opening—thereby inhibiting vertical travel of the magazine with respect to the firearm.