Revolver

Patents tagged Revolver

Mar 31, 2026

US12590781 - Preloaded disposable cylinder system for revolver

A preloaded disposable cylinder system for revolvers comprising a disposable cylindrical body, which is preferably 3D printed with chambers preloaded with propellant, primer, and projectile components without cartridge cases. The system includes boss pads and tapered cylinder end guideways for precise alignment, a spring-loaded center pin mechanism for secure retention, and eliminates traditional crane mechanisms and extractors. The design provides faster reload times than conventional revolvers, stronger dual-end cylinder lock-up, enhanced accuracy through improved alignment, and reduced manufacturing complexity. Compatible with existing revolver designs through minor frame modifications.

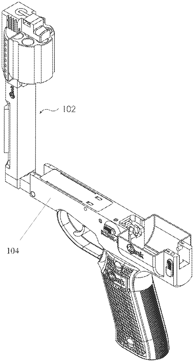
Oct 21, 2025

US12449229 - Bottom chamber firing revolver

A revolver having a frame, a cylinder, a trigger assembly, and a barrel. The cylinder is rotatable on its axis and is indexed to position a chamber at the six o'clock position. The barrel is in line with the chamber at the six o'clock position, allowing the revolver to fire a projectile from the six o'clock position, thus causing less barrel rise.

May 27, 2025

US12313375 - Open frame revolver with changeable drum

An open frame revolver may have an upper frame and lower frame pivotally connected together, an opening located in between the upper frame and the lower frame. A spring assembly may be located in the lower frame and a trigger assembly located in the lower frame, wherein the trigger assembly is connected to the spring assembly. A tension axle located in the lower frame, wherein the tension axle on one end connected to the trigger assembly and spring assembly and on the other end has a lock. A hammer axle may be located inside a drum, wherein the drum could be pivotally supported by hammer axel and hammer axle may have a lock on one end. A hammer may be located outside of the upper frame connected to the hammer axle, a safety lock located in the lower frame, while a frame lock located on the lower frame.