Riflescope

Patents tagged Riflescope

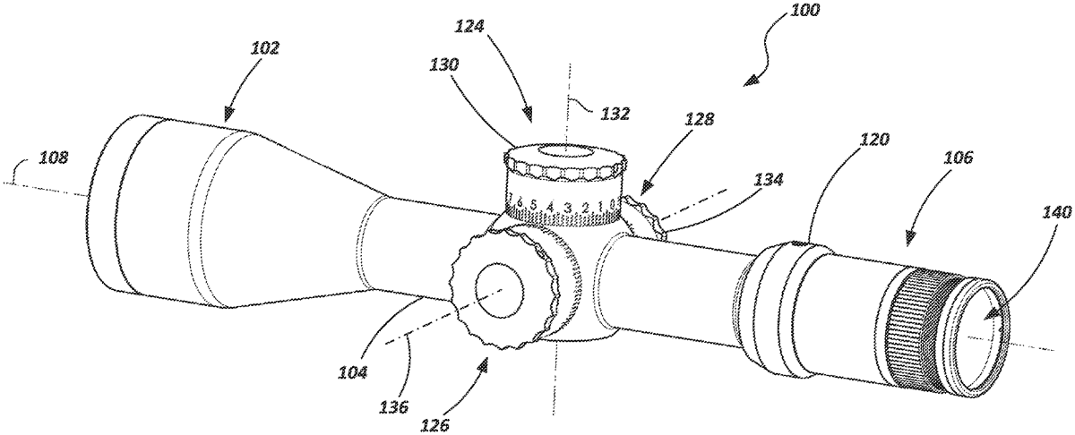
Mar 17, 2026

US12578167 - Scope turret

A riflescope with a scope body has a movable optical element defining an optical axis connected to the scope body. The riflescope also has a turret having an outer knob and a turret screw defining a screw axis and operably connected to the optical element for changing the optical axis in response to rotation of the turret screw. The riflescope also includes a zero-adjustment assembly contained within the turret and operably interfacing with the turret screw. The zero-adjustment assembly comprises a zero-adjustment disc and a locking collar disposed around a downward facing central shaft of the zero-adjustment disc. The zero-adjustment disc is contained in an upper recess of the outer knob. The locking collar has a first position in which the zero-adjustment disc is freely rotatable about the turret screw and a second position in which free rotation of the zero-adjustment disc is prevented.

Sep 30, 2025

US12429684 - Riflescope adjustment systems

An adjustment assembly having a rotary encoder, riflescopes incorporating the same, and related methods are provided. In one example, an adjustment assembly includes a first rotational component configured to rotate about an axis, a first gear coupled with the first rotational component and a second gear coupled with the first rotational component. The assembly further includes an encoder. The encoder includes a position gear engaged with the first gear, the first gear and the position gear having a 1:1 gear ratio, and a revolution gear engaged with the second gear, the second gear and the revolution gear having a gear ratio other than 1:1, wherein the gear ratio of the second gear and the revolution gear independent of a ratio of the respective diameters of the second gear and the revolution gear. Sensors may determine the rotational positions of the position sensor and the revolution sensors.