Rotary-Gun

Patents tagged Rotary-Gun

Sep 2, 2025

US12405075 - Belt-fed rotary gun

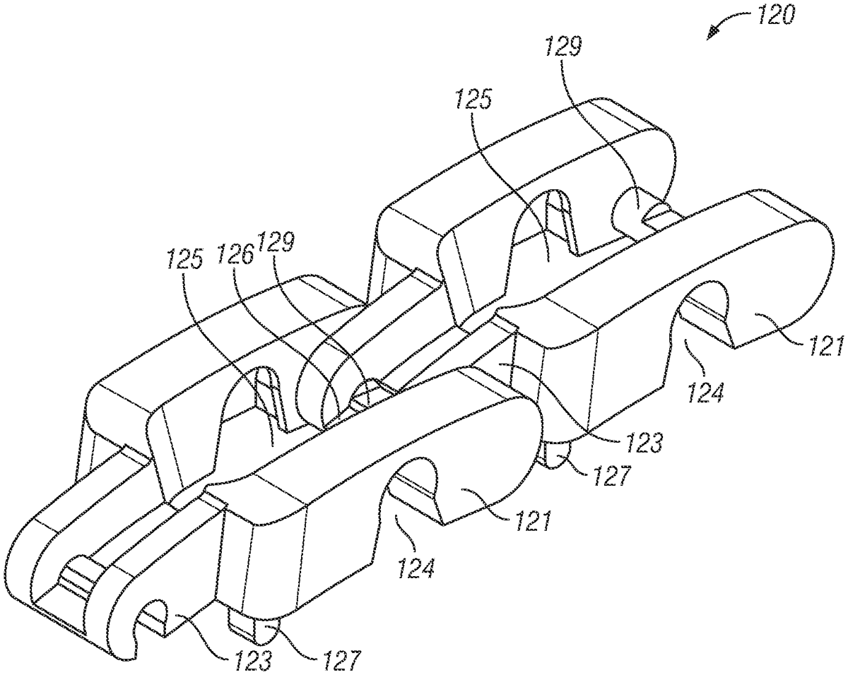
A belt-fed Gatling-style gun is provided. In some embodiments, the belt-feed system allows a plurality of individually separable belt links to be connected in series to feed cartridges to a belt-fed rotary gun. Each individual belt link may be removably connected to a series of belt links to facilitate ease of loading and making belts of ammunition of any length.