Round

Patents tagged Round

Sep 2, 2025

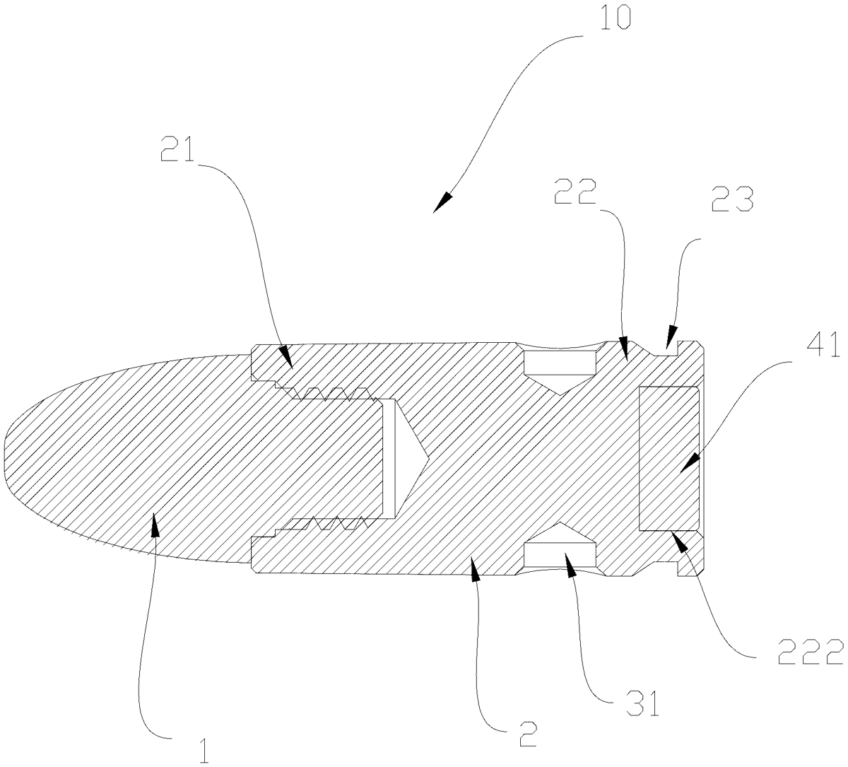
US12405094 - Dummy round

A dummy round includes a dummy round head and a dummy round case. The dummy round head is a polymer dummy round head. The dummy round case connected to the dummy round head. The dummy round case is a metal dummy round case. Since the dummy round is composed of the polymer dummy round head and the metal dummy round case, a polymer material has relatively low costs and is easy to process and shape. By properly combining the two different materials, the overall dummy round is formed. Compared with a traditional full-plastic or full-metal round, the dummy round has an overall weight closer to that of a real round, and the production costs are reduced.