Selector

Patents tagged Selector

Feb 3, 2026

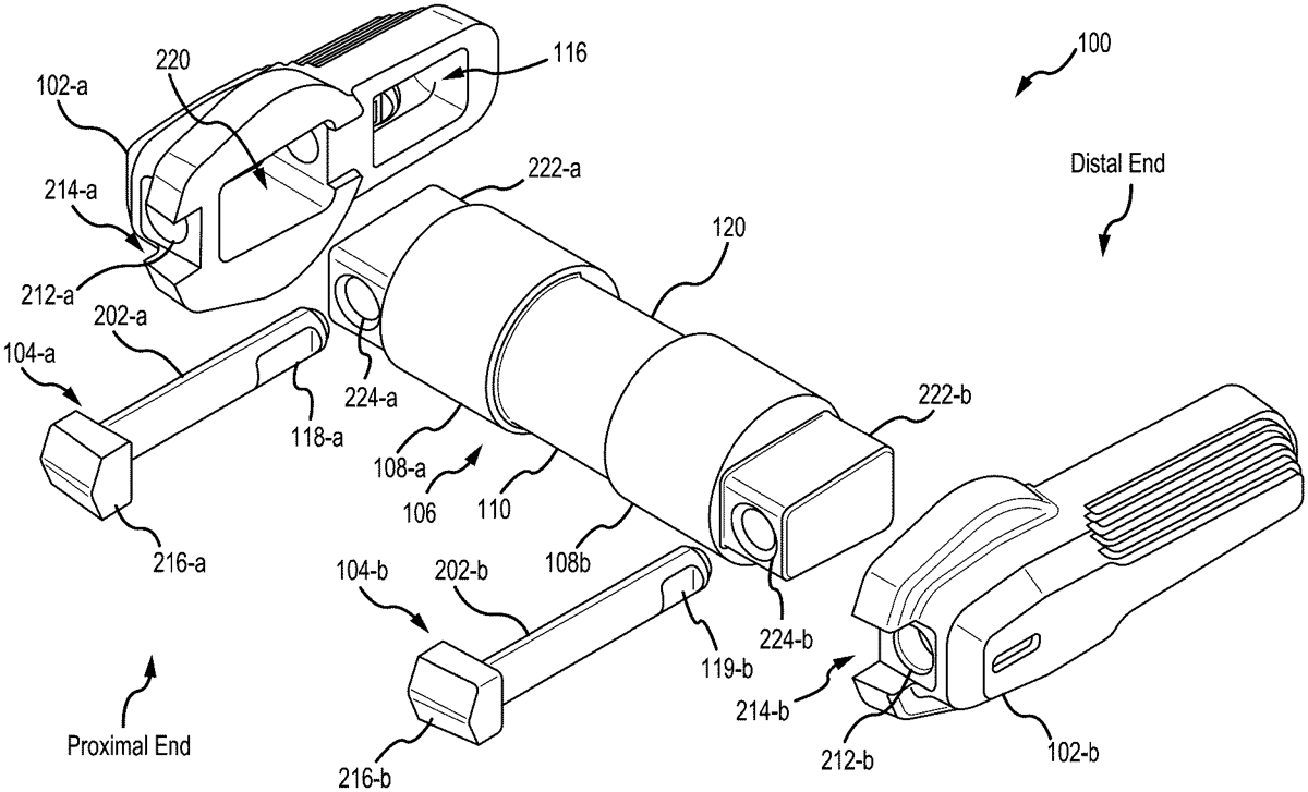
US12540786 - Modular AR-type safety selector with lever mounting pins

A safety selector lever assembly may include a selector core comprising an elongated section having a curved and at least one angled face, a first and second extension positioned on opposing ends of the selector core, each comprising an extension aperture, and wherein the elongated section is positioned between the first and the second extensions, a plurality of levers, each comprising: a proximal and distal end, a recess for receiving one of the first and the second extension, a pin aperture, a pin, wherein at least a portion of the pin can pass through the first pin aperture and the extension aperture, and wherein rotation of the levers to a first position enables firing of the firearm and rotation to a second position precludes firing of the firearm.