Sensor

Patents tagged Sensor

Mar 17, 2026

US12578158 - Systems and techniques for identifying gun events

The present disclosure provides systems and techniques for identifying gun events. A gun event may include a nominal event, such as the discharging of a projectile or the ejecting of a cartridge shell, or an anomalous event, such as a misfire or a failure to feed. An apparatus may include a sensor that measures motion of a gun along multiple axes. The apparatus may identify a gun event based on the measured motion of the gun satisfying a motion condition. The motion condition may include an acceleration threshold value, and the measured motion of the gun may satisfy the motion condition based on a measured acceleration value exceeding the threshold acceleration value. The apparatus may transmit an electrical signal based on the measured motion of the gun satisfying the motion condition. The electrical signal may reset a charging circuit, increment a shot count, or decrement a round count.

Feb 10, 2026

US12546563 - Sensor mount holster

A holster for an implement, such as a handgun, includes a holster body and a sensor mount integral to the holster body. The sensor mount has a mounting surface for mounting a sensor, an opening through the mounting surface to an interior of the holster body, and a sensor mount guide comprising a raised portion extending at least partially around a periphery of the mounting surface.

Sep 16, 2025

US12416461 - Magazine capacity tracking system

A magazine capacity tracking and display system for a firearm is provided. The system includes a sensor within the magazine of the firearm to determine rounds remaining within the magazine. The system further includes a display unit connected to the firearm and separate from the magazine which displays a number identifying the number of rounds remaining in the magazine.

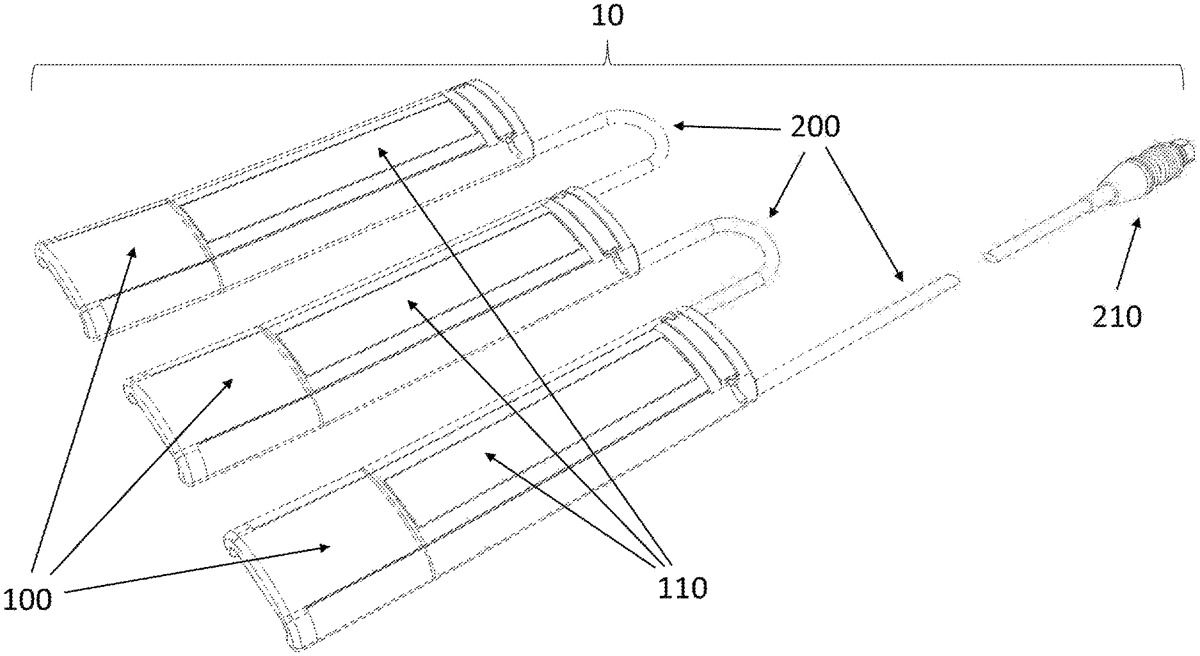
Jun 24, 2025

US12339101 - Device to capture pressure data from a weapon's foregrip during live fire

A device to capture pressure data from a weapon's foregrip during live fire, the weapon having a Picatinny accessory rail, the device comprising a plurality of sensor bodies that are mountable to the Picatinny accessory rail, each sensor body having a pressure sensitive region that can capture pressure data placed on the pressure sensitive region, each sensor body having channels that correspond to the Picatinny accessory rail, retention latch system that attaches the sensor body to the weapon; and, a communication assembly that allows data communication between the plurality of sensor bodies and a computer.