Sensors

Patents tagged Sensors

Oct 14, 2025

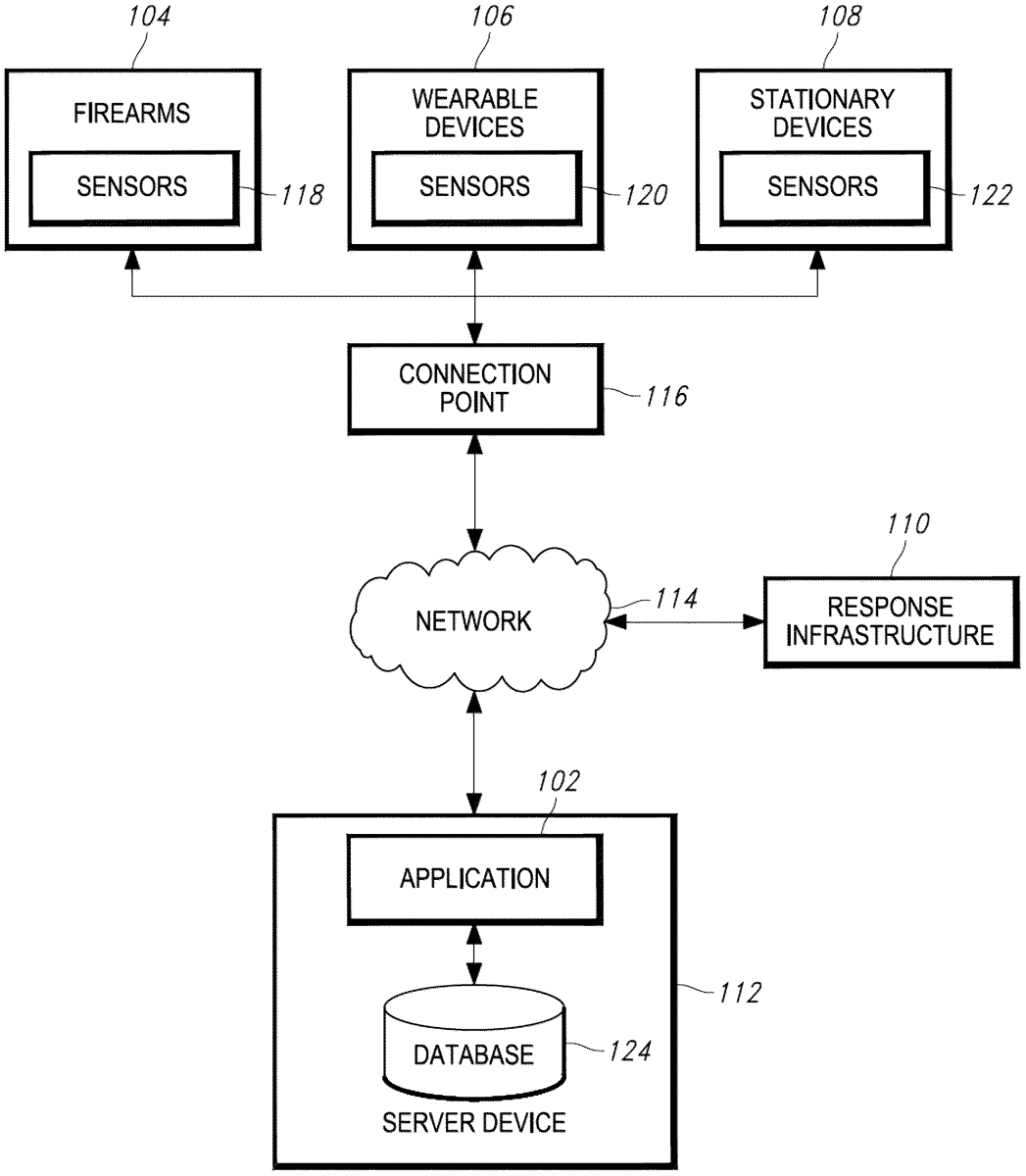
US12442607 - Weapon usage monitoring system having discharge event monitoring based on multiple sensor authentication

A system for providing discharge monitoring of a firearm includes a first sensor, a second sensor and an event detection module. The first sensor is disposed on the firearm that senses a first acceleration along a first axis and sends a first input signal. The second sensor is disposed on the firearm that senses a second environmental variable and sends a second input signal. The event detection module receives the first input signal and compares the first acceleration to an acceleration threshold indicative of a shot; receives the second input signal and compares the second input signal to a second threshold indicative of a shot; determines whether a discharge has occurred based on both the first signal satisfying the acceleration threshold and the second input signal satisfying the second threshold; and generates an event detection signal based on the determination.

Jun 3, 2025

US12320614 - Systems and techniques for determining whether a user is holding a gun

The present disclosure provides systems and techniques for determining whether a user is holding a gun. The gun may include a sensor, such as a laser proximity sensor, a capacitive proximity sensor, a load cell, an accelerometer, or a biometric sensor, and the gun may determine whether a user is holding the gun based on an output generated by the sensor. A processor housed in the gun may identify activation of a proximity sensor, determine that a user is holding the gun based on the activation of the proximity sensor, and perform an action in response to determining that the user is holding the gun. The action performed by the processor may include performing a boot procedure, performing a health check procedure, visually indicating state information about the gun, audibly indicating state information about the gun, or tactilely indicating state information about the gun.