Serialized Parts

Patents tagged Serialized Parts

Sep 30, 2025

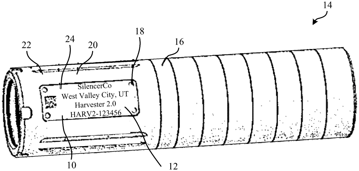
US12427799 - Method and item for indentifying serialized parts

Serialized firearm parts, such as silencers, are identified using plates permanently affixed to the parts by welding, brazing, riveting, pinning and welding or other permanent techniques. Methods of effecting repair or replacement of silencers and silencer parts employ removing the plates by drilling or machining the welds and permanently affixing the plate to a replacement part.