Shaped Charge

Patents tagged Shaped Charge

Jul 1, 2025

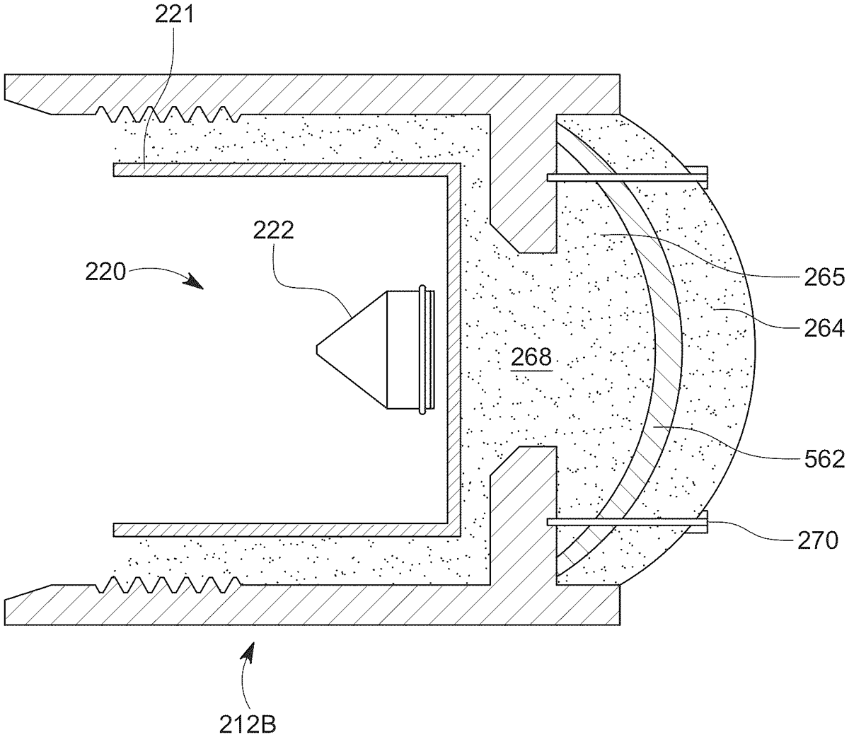
US12345138 - Well perforator evaluation system and method

A testing system for a shaped charge of a perforating gun, the testing system including a housing; a casing assembly located inside the housing; a perforating gun having at least one shaped charge, the perforating gun being located within the casing assembly; a sample material located within the housing, and in direct contact with the casing assembly; a wellbore accumulator in direct contact with the casing assembly and configured to supply a first fluid, at a wellbore pressure, inside the casing assembly; and a formation accumulator in direct contact with the sample material and configured to supply a second fluid, at a formation pressure, on the sample material.