Shaped_charge

Patents tagged Shaped_charge

May 19, 2026

US12631093 - Overmolded shaped charge and methods of use

One example apparatus includes a shaped charge, and an overmold that includes one or more layers surrounding a portion of the shaped charge. The overmold may contact, and conform to, a case within which the shaped charge is received, and the overmold may further contact, and conform to, a cartridge wall within which the shaped charge and the overmold are positioned. An electrical or electronic component may be partly embedded in the overmold.

Nov 4, 2025

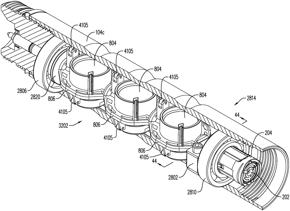
US12460519 - Perforating gun having modular construction

A technique facilitates perforating operations. According to an embodiment, a perforating gun system utilizes a plurality of modular perforating gun sections which are readily assembled to create a perforating gun with a desired number and orientation of shaped charge holders. In some applications, the modular perforating gun sections may be formed of plastic, e.g. injection moldable plastic, to further reduce costs and provide great flexibility with respect to construction of the desired perforating gun.

Jun 24, 2025

US12338718 - Orienting perforation gun assembly

A perforating gun assembly that orients one or more shaped charges within a well includes a housing and an orienting internal assembly configured to be disposed within a longitudinal bore of the housing. The orienting internal assembly may include at least one shaped charge holder or charge tube, a rotation support system, a detonator holder and/or a detonator. The rotation support system may be configured so that the detonator holder and/or detonator rotate together as a whole with the at least one shaped charge holder or charge tube. The rotation support system may include at least one bearing assembly, a plurality of rollers, or combinations thereof. The orienting internal assembly may be configured for gravitational orientation.

Jun 17, 2025

US12332033 - Munition with directional projection explosive

A munition has an explosive charge with direction explosive characteristics, such as a nonuniform detonation velocities. The explosive charge may have multiple portions of explosives with nonuniform characteristics, and/or may have portions with graded nonuniform characteristics. The explosive charge may be used to propel a material from the munition in a desired manner. For example the material may be fragments that are part of a fragmentation munition. Alternatively the material may be a layer of a material, such as a metal, that produces an explosively formed penetrator or shaped charge. The explosive charge may be configured to control the spread and/or direction of the material to be propelled from the munition.