Shooting

Patents tagged Shooting

May 12, 2026

US12624930 - Sports shooting target and a launching head and corresponding device

A launching head for launching two or more sports shooting targets is provided, where each target is of a generally disc-shaped configuration. The launching head is of a generally tubular configuration defined by a longitudinally extending rotational axis and includes an outer circumferential support surface portion formed to fit into and support the respective targets. The launching head is provided with a plurality of retaining claw members configured to be able to pivot in a plane containing the longitudinal axis and pivot an angle relative to a plane extending perpendicularly to the longitudinal axis. A launching device applying the launching head to a sports shooting target is also provided.

Apr 21, 2026

US12607435 - Method for detecting a shot hit with an inflatable shooting target and for providing a real-time indication of the hit

A method for detecting a shot hit on an inflatable shooting target and for providing a real-time indication of the hit. The method includes the step of providing a shooting target system with one or more inflatable shooting targets, each of them is assembled on a blower, a power source that is connected to each blower through a controller that controls the activation of each blower, and a current meter between the controller and the power source. The method includes the second step of measuring the current that flow to a certain blower, detecting changes in the current level that occurs upon a hit in a certain inflatable shooting target that is assembled on that certain blower, and making and indication of the hit by turning off the certain blower or by sending a notification to a mobile device of the user or the operator.

Apr 14, 2026

US12601571 - Electronic shooting training target

An electronic shooting training target has a target seat, and multiple target holes penetrate through the target seat. A base plate includes a plate body, multiple triggers and a controller. The base plate is mounted on a rear side of the target seat and positioned at a distance from the rear side. Each of the sensing assemblies has a hollow rod, an elastic part, an impact part, and a screw. The hollow rod is mounted through one of the target holes. The elastic part is sleeved on one end of the hollow rod. The impact part is mounted on the hollow rod. The screw is mounted through another end of the hollow rod and is fixed on the impact part.

Mar 31, 2026

US12589315 - Virtual and augmented reality shooting systems and methods

Provided herein are systems and methods for training, maintaining and using skills for shooting a target with a projectile. More particularly, the invention relates to virtual and/or augmented reality, augmented reality, mixed reality and consensual reality systems and methods to train and maintain shooting skills in military, law enforcement, competition and sporting settings, environments and missions.

Feb 24, 2026

US12560414 - Impact distance scoring system for clay target shooting

An impact distance scoring system for clay target shooting includes a target embedded with a tracking sensor, a launching mechanism, a plurality of detection units, and a processing unit. The system is designed to determine the distance after launch at which a clay pigeon is struck by a shooter's projectiles, offering a quantifiable method for scoring in clay target shooting sports. The plurality of detection units is dispersed within a field of play at regular intervals. As the target travels across the field of play, the tracking sensor is detected by the detection units. The processing unit receives signals from the detection units to ascertain the travel distance of the target and calculates a score based on this distance. A display device connected to the processing unit provides a visual output of the score and travel distance, facilitating immediate feedback to the shooter.

Feb 17, 2026

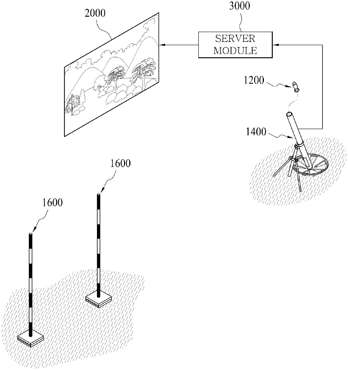
US12553690 - Shell simulated shooting simulation system

Disclosed herein is a shell simulated shooting simulation system for performing a shell simulated shooting similar to a live shell shooting includes an execution module loading and aiming a shell to perform a shell simulated shooting, a display module visually displaying shooting of a shell according to loading and aiming through the execution module, and a server module collecting information to visually display a result of the live shell shooting on the display module based on the information on the loading and aiming of the shell of the execution module.

Feb 10, 2026

US12546553 - Firearm magazine shooting rest with a tool storage receptacle

A shooting rest for a firearm magazine may include a body having a front end and a rear end, with the body including a floor having a top side and a bottom side disposed opposite one another, a plurality of legs extending from the bottom side of the floor and configured for supporting the shooting rest on a surface, a plurality of walls extending from the top side of the floor and defining a magazine receptacle configured for removably receiving a bottom portion of the firearm magazine therein, a tool receptacle disposed on one of the plurality of walls and configured for removably receiving at least a portion of a tool therein, and a pliable arm disposed adjacent to the tool receptacle and configured for releasably retaining the at least a portion of the tool within the tool receptacle.

Sep 16, 2025

US12416464 - Shooting rest stabilizer system

A shooting rest stabilizer is configured to resist movement of a shooting rest in response to firing of a firearm or weapon supported by the shooting rest. The shooting rest stabilizer includes a base plate having an orifice to receive an adjustment bolt/leg of a shooting rest, a back mounting block engageable to a back support, a front right mounting block engageable to a front right support, and a front left mounting block engageable to a front left support. The supports are securable to a stationary base surface. A front lateral fixture is couplable between the front right and front left supports to receive front legs of the shooting rest. Back, front right, and front left elongate supports are attached between the base plate and respective mounting blocks. The shooting rest stabilizer. A unitary mount support platform includes at least the back, front right, and front left supports.

Jul 1, 2025

US12345510 - Eco-friendly smart indoor live ammunition shooting range system

An indoor live ammunition shooting range facility system includes a ventilation facility installed in an indoor live ammunition shooting range, and configured to ventilate air of the indoor live ammunition shooting range; a targeting device facility installed in the indoor live ammunition shooting range, and configured to provide a shooting target; a bulletproof facility installed to protect components exposed to an inside of the indoor live ammunition shooting range among components configuring the ventilation facility and the target device facility and to protect a wall surface of the indoor live ammunition shooting range; a bullet head recovery facility installed on a side opposite to a shooting position, and configured to recover a bullet head; and a control facility installed in the indoor live ammunition shooting range, and configured to control the ventilation facility, the target device facility and the bullet head recovery facility.

Jul 1, 2025

US12345511 - Shooting competition system and methods of making and using same

A live ammunition shooting competition system comprises a target area having a first and a second set of targets for a first and a second shooter, respectively. The first set of targets and the second set of targets are arranged such that the first shooter can view a shooting progress of the second shooter as the first shooter shoots at the first set of targets and the second shooter can view a shooting progress of the first shooter as the second shooter shoots at the second set of targets. A first computing device is associated with the first shooter and a second computing device is associated with the second shooter. Each of the first computing device and the second computing device is configured to allow the first shooter and the second shooter to challenge shooters to a shooting competition and to negotiate a parameter for the shooting competition.