Shotgun

Patents tagged Shotgun

Apr 21, 2026

US12607426 - Semi-automatic shotgun and components thereof

A semiautomatic shotgun comprising a receiver, a barrel, a forward gas block assembly attached to the barrel, a slider assembly rearward of the gas block assembly extending into the receiver. Upon firing a shotshell the explosive gases in the barrel are diverted through two ports into the gas block assembly, specifically into a pair of lateral pressure relief valves positioned on both sides of the barrel. The pressure relief valves further having a gas pathway from the barrel provided by clusters of holes less than a specific size and on-center with the barrel axis. A piston is forced rearwardly and engages a slider of the slider assembly that is linked to a breech block in the receiver. The breech block loads unfired shells and ejects the fired shells accomplishing the semiautomatic recycling. The dual pressure relief valves actuate to moderate and limit the gas pressure that enters the piston chamber when using shotshells of different power levels thereby providing consistency in the recycling operation. The shotgun assembled with a plurality of retention pins having uniformly sized O-rings.

Nov 25, 2025

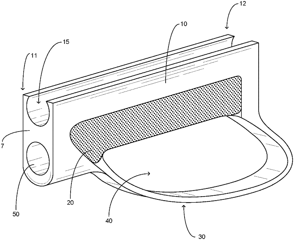
US12480727 - Ejector kits, assemblies, and methods of use

Kits for replacing the ejector of a shotgun include an ejector spring and a base member, where the base member is designed and adapted to be affixed to the interior surface of the receiver of the shotgun, and further to engage the ejector spring in a cantilevered tongue-and-groove (TAG) configuration. TAG ejector kits, TAG ejector assemblies, and TAG ejectors are suitably configured for operation in conjunction with pump action shotguns.

Oct 28, 2025

US12455141 - Method and system for estimating the position of the point of impact between a clay target released from a launching machine and a shot fired from the shotgun, choke selection based on said estimate

A method for selecting a choke from among a plurality of chokes to be applied to a barrel of a shotgun during a skeet shooting session is provided. The method involves firing at least one shot, after each shot fired, estimating a position of a point of impact between a clay target released from a launching machine and a shot fired from the shotgun of a shooter, calculating an impact distance between a position of the shooter and the estimated position of the point of impact, and selecting the choke as a function of the impact distance or of an average of impact distances obtained from a plurality of estimates of positions of the point of impact made after each one of a plurality of shots.

Oct 7, 2025

US12435948 - Adjustable, pivoting gun stock and method of use

An adjustable shoulder rest for a rear stock for a rifle or shotgun, with features to customize the shoulder to firearm interface, providing diverse adjustment options pursuant to user preference and/or circumstances of use. The present invention further provides a pivotal shoulder rest to facilitate customized position adjustment to the firearms orientation vis-a-vis the operator, including the option to provide a pivotal or swivel connection for adjustment of the firearm during operation as well as the option of providing haptic feedback or pivotal resistance with return-to-center capability to communicate to the user useful feedback, and/or facilitate line of sight alignment of the firearm at various angles relative to the longitudinal axis thereof in line with one or more sighting apparatus mounted thereto.

Jul 29, 2025

US12372326 - Firearm accessory

A shotgun pump handle that is slidably coupled to a magazine tube of a shotgun that includes a body having a replaceable grip member and a loop portion. The shotgun pump handle includes a body that is manufactured from aluminum or other similar material wherein the body includes a first end and a second end. A grip member is releasably secured to a lower portion of the body wherein the grip member is manufactured from foam rubber or similar material and is provided in alternate sizes. A loop member is integrally formed with the body wherein an end of the loop member is contiguous with the bottom portion of the body proximate the second end and the distal end is formed with the bottom of the body proximate the first end. The loop member creates a void for a human hand to be journaled thereinto.

Jul 22, 2025

US12366426 - Sound suppressor for a shotgun

A sound suppressor for a shotgun comprising a barrel is disclosed. The sound suppressor includes an outer frame, an inner hollow body including openings, a gas expansion area and a barrel attachment arrangement for attaching the sound suppressor onto the barrel. The sound suppressor is configured in such a way that when the sound suppressor is in use, the barrel is inside the outer frame and the shot of the shotgun passes through the inner hollow body, and the gases from the exploding propellant expand into the gas expansion area. The barrel attachment arrangement includes a first attachment part, a second attachment part, and a moving arrangement. The first attachment part is fixed to the frame, and the second attachment part is moved by the moving arrangement, which presses against the barrel to hold the sound suppressor in place.

Jul 1, 2025

US12345515 - Multi-faceted shot

Shot projectiles are disclosed that are not completely spherical. The shot has an equatorial ring, top and bottom poles, and one or more sections extending between the ring and the respective poles. The ring defines a vertical height relative to an overall diameter of the projectile. The one or more sections provide flat, concave, or convex surfaces.

Apr 29, 2025

US12287173 - Short stroke pump-action shotgun

The present invention relates to a short stroke (operation distance) pump-action shotgun comprising a mechanism that reduces consequently the reloading path and reloading time approximately by 65 percent. The speed repeating faster is achieved, while firing with a pump-action shotgun and hunting rifle and furthermore, a better precision is ensured. The inventive shotgun may be a pump-action shotgun or pump-action hunting shotgun.

Apr 15, 2025

US12276472 - Shotgun breech release

A breech release for a shotgun includes a push button, a return spring, a spring retainer, a threaded steel rod, and a release slide. the return spring is located between the push button and spring retainer. when the breech release engages with a breech, the breech release bisects an outer breech which hinged an inner breech, holding the breech closed in its default position. When the button is depressed, the button moves the slide out of the inner breech, allowing the breech to open.

Apr 15, 2025

US12276473 - Shotgun shell loading and holding device

A device for holding and loading shotgun shells is provided. The device includes a resilient pad having a front side with a pair of openings for receiving, retaining, and releasing a pair of shells into the barrel of a shotgun. The openings include a plurality of expansion joints to assist with the loading and unloading of shells into a gun. An annular groove extends around a base of each opening for resiliently and frictionally retaining the rim of a shell therein. An opposing end of the pad includes a laterally projecting tab portion formed with an aperture therethrough for a user of the holding device to manually grasp and manipulate said device. The expansion joints and material of the pad facilitate the insertion and release of the shells, whereas the groove and size of the openings serve to frictionally retain the shells within the device.