Sighting

Patents tagged Sighting

May 12, 2026

US12624921 - Firearm sighting device and system

A targeting device for a firearm having a sighting device, the targeting device having a mount capable of being secured to the fire arm, and a camera capable of capturing images in a field of view including the sighting device, the camera being adjustable relative to the sighting device such that it can be aligned with the sighting device.

May 12, 2026

US12624922 - LED emergent light adjusting mechanism and inner-red-dot aiming device therefor

An LED emergent light adjusting mechanism and an inner-red-dot aiming device therefor, wherein the LED emergent light adjusting mechanism comprises a vertical adjusting assembly and a horizontal adjusting assembly; the vertical adjusting assembly comprises an up-and-down adjusting sliding block, a vertical adjustment screw and two vertical adjustment spring sets arranged on two sides of the vertical adjustment screw; a nut member and a spring guiding and limiting column set are fixed at the bottom of a rear end of the up-and-down adjusting sliding block; the horizontal adjusting assembly comprises a left-and-right sliding block, a return spring, a vertical spring ejector pin assembly, a horizontal spring ejector pin assembly, a horizontal adjusting screw coupled with the other end of the left-and-right sliding block by means of a square nut, and an LED chip assembly arranged on a front end surface of the left-and-right sliding block.

Apr 28, 2026

US12613078 - Imaging apparatus with thermal augmentation

A thermal image-forming attachment for a sighting apparatus has a combiner for overlaying a generated thermal image from a display against a visible scene defined along an optical axis of the sighting apparatus, wherein the combiner intersects the optical axis between an objective lens and the visible scene. A first IR camera has a first field of view aligned with the sighting apparatus optical axis; a second IR camera has a second field of view narrower than the first field of view, aligned with the sighting apparatus optical axis. An image processor generates the thermal image on the display, wherein IR image content rendered from the second IR camera is centered within IR image content from the first IR camera. Collimating optics project the thermal image from the display toward the combiner as collimated light aligned with collimated light from the visible scene.

Mar 24, 2026

US12584611 - Collapsible supplemental illumination device for sighting device and control method thereof

A collapsible supplemental illumination device for a sighting device, including an illumination unit, a damping motion unit, a locking mechanism, and a position detection device. The damping motion unit is fixedly mounted on a main body of the sighting device. The damping motion unit is connected to the locking mechanism. The position detection device is provided on the locking mechanism. The illumination unit is rotatably connected to the damping motion unit through the locking mechanism. A control method of the collapsible supplemental illumination device is further provided.

Mar 17, 2026

US12578166 - Apparatus and methods for a gunsight and sighting system

An apparatus and methods are provided for a gunsight and sighting system for use on firearms. The gunsight and sighting system comprises a mount portion coupled with a hood portion. A projection window with a collimated image overlay is secured to the mount portion by the hood portion. A front sight dot is forward of the projection window, while two rear sight dots are rearward of the mount portion. The sight dots may be illuminated by any of various desirable colors to enhance visibility in various lighting conditions. Light sensors disposed at the front of the mount portion detect ambient light and/or light in a target area and accordingly adjust the illumination of the sight dots. The light sensors may be disposed in asymmetric locations of the mounting portion to overcome interference due to light arriving at angles other than in front of the gunsight and sighting system.

Feb 17, 2026

US12553688 - Optical system with cant indication

An electronic indicator on a see-through optical scope indicates whether an optical system is canted. The visual indicator may include one or more LEDs coupled to a microprocessor that is also coupled to a solid-state electronic inclinometer incorporated into the internal structure of the optical system. The microprocessor is configured to selectively illuminate the visual indicator based on the output of the inclinometer, thereby indicating how the reticle is canted, if at all.

Jan 27, 2026

US12535296 - Light source structure, sighting device thereof, and shooting device thereof

The present disclosure relates to the illuminant structure technical field. Disclosed are a light source structure, a sighting device and a shooting device, wherein the sight light source structure is used for the sighting device. The light source structure includes a substrate, a light-emitting chip arranged on the substrate, a bonding wire configured for electrically connecting the substrate and the light-emitting chip, and light-absorbing glue coated on the bonding wire. By improving the structure of the light source structure, specifically, by not covering the light-transmitting protective layer on the light-emitting chip, the light-transmitting protective layer is effectively prevented from reflecting light, so that the aiming point formed by the light at the light-emitting place is gathered, and the edge of the aiming point has no stray reflected light so that the wheel library at the edge of the aiming point is clear.

Jan 20, 2026

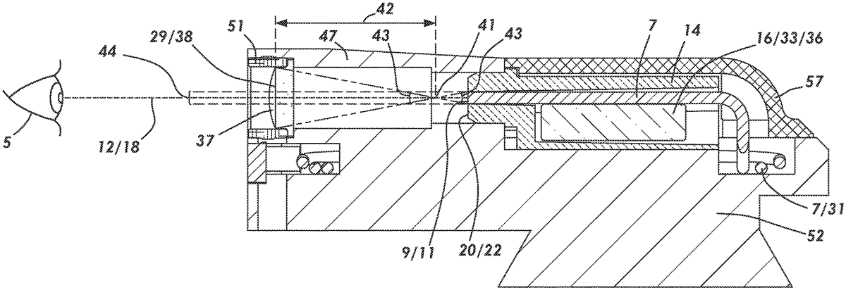
US12529542 - Optical sighting device

An optical sighting device 10 used by being installed to a firearm includes: an objective system part 12 , forming an inverted image of a target object on a first focal plane; and an erect system part 14 , forming an erect image obtained by reversing the inverted image on a second focal plane. The erect system 14 has: lenses 112 to 116 arranged between the first focal plane and the second focal plane; and a movable cylinder 134 as an erect system cylinder holding the lenses 112 to 116 . The adjustment mechanism 20 is a mechanism for adjusting tilting of an axial direction of the movable cylinder, and has: an advancing-retracting shaft 204 as an advancing-retracting member advancing and retracting on an end side of the movable cylinder 134 ; and a spring 206 as a double torsion spring biasing the movable cylinder 134 toward the advancing-retracting shaft 204.

Jan 6, 2026

US12516909 - Sighting systems, components, and methods

Sight systems comprise a sight receiver and a base attachable to and detachable from a sight receiver. A base carries a sighting component, such as an iron sight or optic sight. A sighting component may be attachably and detachably mounted to a base, or a sighting component may be made integrally with a base. A base may carry plural sighting components. Sight systems may include plural interchangeable sight receivers, bases, and/or sighting components. In some embodiments, a sight system may comprise a base deployed with an elastomeric or otherwise resilient mounting pad. In some embodiments, an elastomeric or otherwise resilient mounting pad may be proud of a front or rear face of the base, or a side face of the base, or both. In some embodiments, the pad may be proud of a bottom surface of the base.

Dec 23, 2025

US12504257 - Sighting system for a firearm

A sighting device for use with a digital display device and a firearm. The sighting device includes a mounting base adapted for attaching to the firearm. The sighting device further includes a camera disposed on the mounting base to capture video in a field of view, where the camera is capable of transmitting the captured video to the display device. The sighting device further includes a display mount disposed on the mounting base, where the display mount is capable of receiving and securing the digital display device.

Oct 21, 2025

US12449234 - Illuminated sighting system

An illuminated sighting system for a firearm sight, including a first light conductive member having a first light conductive member viewing end that emits a first amount of emitted light which provides a first viewable aiming indicium that indicates alignment of a firearm with a target; a second light conductive member viewing end that emits a second amount of emitted light which provides a second viewable aiming indicium that indicates misalignment of the firearm with the target; wherein the second light conductive member viewing end disposes about the first light conductive member viewing end; and a lens operably coupled to the first and second light conductive member viewing ends.

Sep 30, 2025

US12429307 - Zeroing target for a firearm sighting system

Provided is a zeroing target for a firearm sighting system that includes a range card insert and a range card sleeve. The range card insert includes zero range increment markings, caliber markings, and a point of aim indicator. The range card sleeve includes a zero range viewing window, a caliber viewing window, a point of aim viewing window, and a point of impact indicator. The range card insert fits within the range card sleeve and can be moved upwards or downwards within the sleeve for selecting a desired zero range increment marking and caliber marking. A laser boresight is aimed at the point of impact indicator and a sighting system on the weapon is adjusted until the sighting system is pointing at the point of aim indicator. When the two values align, the weapon is properly bore-sighted for the desired caliber and range, which can then be confirmed by live fire.

May 20, 2025

US12305958 - Illuminated sighting system

An illuminated sighting system for a firearm sight, including a first light conductive member having a first light conductive member viewing end that emits a first amount of emitted light which provides a first viewable aiming indicium that indicates alignment of a firearm with a target; a second light conductive member viewing end that emits a second amount of emitted light which provides a second viewable aiming indicium that indicates misalignment of the firearm with the target; wherein the second light conductive member viewing end disposes about the first light conductive member viewing end; and a lens operably coupled to the first and second light conductive member viewing ends.

Apr 29, 2025

US12287178 - Mounts for optical sighting devices

Disclosed are implementations of a pivot mount for an optical sighting device. A sight support member of the pivot mount is moveable between an operative position, wherein an optical sighting device can be used to sight the firearm on a target, and an inoperative position, wherein the optical sighting device is positioned below, and vertically offset from, the operative position. Also disclosed is an optical sight mount that includes a sight support member slidably coupled to the base. The sight support member is moveable between an operative position, wherein an optical sighting device can be used to sight the firearm on a target, and an inoperative position, wherein the optical sighting device is positioned below, and vertically offset from, the operative position.