Signal

Patents tagged Signal

Mar 31, 2026

US12590788 - Device method operating electronic detonator having response relay function

A device and a method thereof for operating an electronic detonator having a response relay function are proposed. The device includes a command signal reception unit configured to receive a command signal transmitted from a blasting control system, a response signal transmission unit configured to transmit a response signal responsive to the received command signal to the blasting control system, and a response signal delivery unit configured to transmit the corresponding response signal to the blasting control system when a response signal of another electronic detonator adjacent within a preset distance is recognized.

Mar 24, 2026

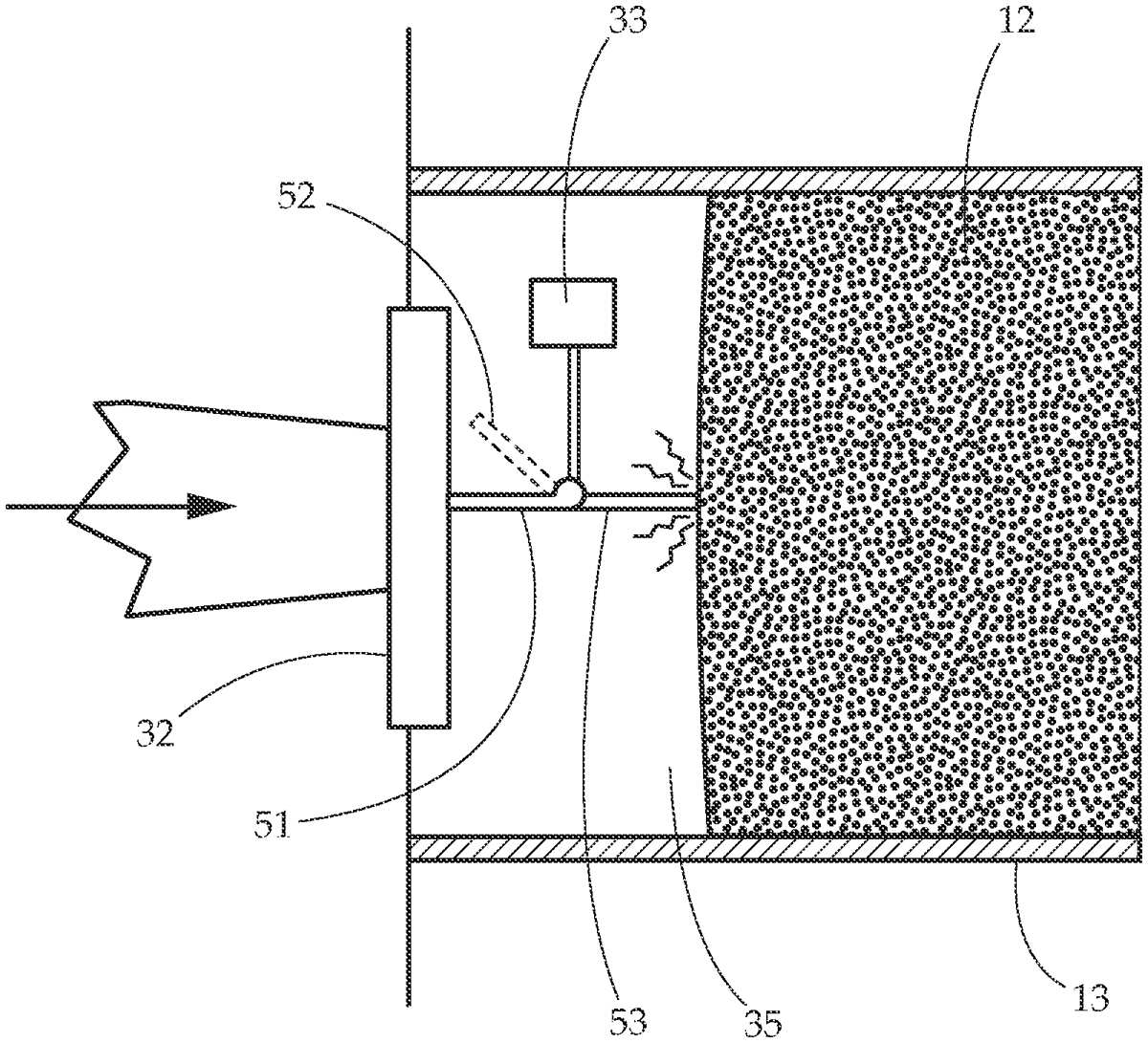
US12584386 - Perforating gun with detonation module

An apparatus for selectively firing a perforating gun having a plurality of gun assemblies may include an end plate, a portion of a signal communication circuit, an initiator assembly, and an initiating element. The end plate has a cavity formed by at least a first passage intersecting a second passage. The first passage extends from a planar end face of the end plate and the second passage extends from a circumferential surface of the end plate. The portion of a signal communication circuit is disposed in the end plate and conveys signals between the first gun and the second gun. The initiator assembly is at least partially disposed in the first passage. The initiating element is sized to pass through the second passage. The initiating element is also configured to electrically couple to the portion of the signal communication circuit and to thermally couple to the initiator assembly when at least partially seated in the first passage.

Mar 10, 2026

US12571532 - Combined wearable law enforcement patrol light and signal device and kit

A wearable law enforcement patrol light and signal device including a housing to be worn by a law enforcement patrol officer on a bulletproof vest or on an arm. A high intensity light source is mounted in a front plate of the housing, the high intensity light source electrically connected to a source of electric power in the housing. A switch activates and deactivates the high intensity light source, or the high intensity light source may automatically deactivate. The high intensity light source emits an alternating burst of light of at least five thousand lumens outward when the high intensity light source is activated. The housing of the device also supports a plurality of warning lights, identification badging, a communication system, and other features in a single housing that a patrol officer would normally wear as independent elements.

Jun 3, 2025

US12320625 - Firearm cartridge

A firearms cartridge is provided which is equipped with a signal receiver. The signal receiver is operable to disable the firearm when it received a predetermined signal, such as a signal on the electromagnetic spectrum, acoustic signal, and the like. When the signal is not present, the firearm cartridge works like a traditional unrestricted firearm cartridge allowing a firing of the weapon.