Simulated

Patents tagged Simulated

Feb 10, 2026

US12546576 - Simulated ammunition for firearms

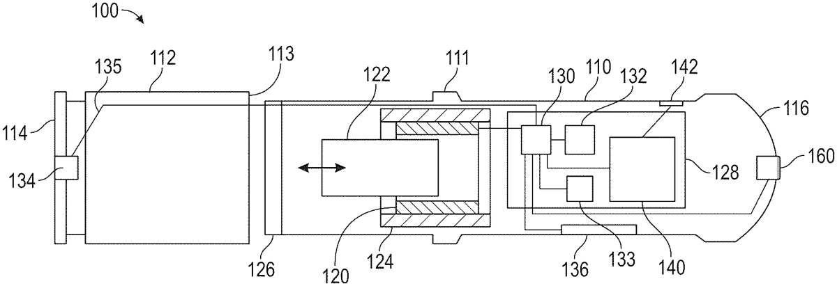
A simulated round of ammunition is configured so that it can be inserted into an actual or simulated firearm just like a regular live round of ammunition. The simulated round of ammunition includes elements that enable the simulated round of ammunition to generate a haptic effect that mimics the forces one would feel when firing a regular round of live ammunition. The simulated round of ammunition can include a linear motor, a voice coil or some other similar device which can cause a movable member to move in response to application of electric power. Movements of the movable member are used to generate the haptic effect. In some instances, the movable member may be configured to impact a mechanical stop to help generate the haptic effect.