Simulation

Patents tagged Simulation

May 5, 2026

US12618635 - Weapon emulator simulating a muzzle flash

A weapon emulator has a muzzle flash emulator attachment coupled to a first end of a barrel. The muzzle flash emulator attachment includes: a body defining a plurality of slots, a cover disposed in the body, a light source at least partially disposed in the cover, and a circuit coupled to the light source and including a power source and a switch. The switch is transitionable from an open state to a closed state to turn on the light source in response to pulling a trigger. In another embodiment, a muzzle flash emulator assembly includes a magnet operatively aligned with a reed switch. In a further embodiment, a muzzle flash emulator has a member coupled to a barrel and moveable to strike the switch in response to pulling the trigger to transition the switch from the open state to the closed state.

Feb 17, 2026

US12553690 - Shell simulated shooting simulation system

Disclosed herein is a shell simulated shooting simulation system for performing a shell simulated shooting similar to a live shell shooting includes an execution module loading and aiming a shell to perform a shell simulated shooting, a display module visually displaying shooting of a shell according to loading and aiming through the execution module, and a server module collecting information to visually display a result of the live shell shooting on the display module based on the information on the loading and aiming of the shell of the execution module.

Feb 3, 2026

US12540788 - Simulation deployment unit for a conducted electrical weapon

A conducted electrical weapon (“CEW”) may comprise a handle and a deployment unit. A CEW may be adapted for use in a simulation system comprising a simulator and a display. A simulation deployment unit may be used with a handle to adapt the CEW for use in the simulation system. The simulation deployment unit may be configured to detect motion data corresponding with at least one of a change in position, a change in orientation, and an initial orientation of the CEW. The simulation deployment unit may be configured to pass the motion data to the handle so the motion data may be transmitted to a simulator via a communication circuit of the handle. The simulation deployment unit may require power from the handle to operate, and the handle may require motion data provided by the simulation deployment unit so that the CEW may be used in the simulation system.

Jan 27, 2026

US12533577 - Handgun simulation assembly with mating cradle for virtual reality controller

A handgun simulation assembly that mates a virtual reality (VR) controller having a trigger finger button with a handgun grip and trigger in order to better simulate the feel of a typical handgun for a VR environment. The handgun simulation assembly includes a handgun body with a mating cradle that is designed to receive and hold a VR controller. The mating cradle has an engaged position where the VR controller is affixed to the handgun body and an unengaged position where the VR controller is released. When the mating cradle is in the engaged position, the VR controller can be oriented such that the trigger finger button is positioned downward, and the control pad is positioned rearward and facing the user. The mating cradle allows various subassemblies to access the buttons on the VR controller to provide a more realistic handgun experience when in a VR environment.

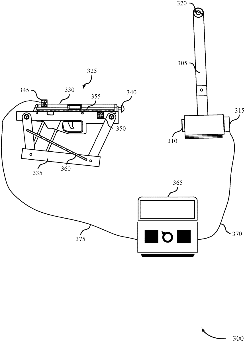
Jul 29, 2025

US12372320 - Systems and techniques for testing a gun

The present disclosure provides systems and techniques for testing guns by simulating firing a round of live ammunition. A striker may be used to apply force onto a gun, and one or more compressible rods may be used to modulate the application of force onto the gun. A system may include a striking mechanism configured for displacement along an arcuate path of travel that includes a first compressible rod, a second compressible rod coupled with a first component of the gun, an attachment mechanism coupled with a second component of the gun such that the second compressible rod is located in the arcuate path of travel, and a backstop mechanism coupled with the attachment mechanism. The attachment mechanism may stably hold the gun and the backstop mechanism may accommodate planar movement of the attachment mechanism, so as to simulate a shooter holding the gun.