Small_firearm

Patents tagged Small_firearm

Jan 27, 2026

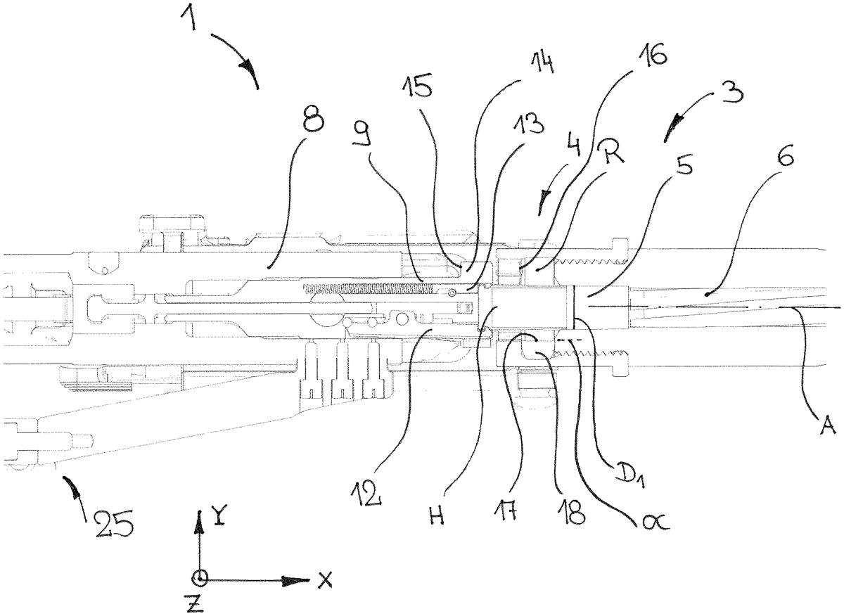
US12535280 - Small firearms and method of operating small firearms

A small firearm includes: a receiver; a barrel including a barrel bore axis; an action including a bolt head; and a guide surface, the receiver being configured for (i) at least indirectly receiving the barrel including a locking mechanism area, a chamber, a guide area, and a muzzle arranged successively in the longitudinal direction, and (ii) at least indirectly receiving the action movably arranged within the receiver along the longitudinal direction from an open position to a closed position, the guide surface, which is within a locking space, being configured such that at least one of (i) an entry of a cartridge case under an influence of a torque during a movement of the action from a closed position to an open position is limited due to an interaction of an ejector and an extractor and (ii) an exit of the cartridge case is favored.