Spent Casings

Patents tagged Spent Casings

May 20, 2025

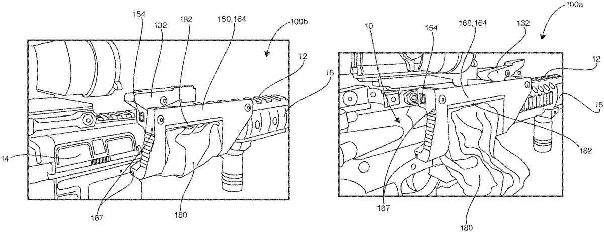
US12305952 - Systems and methods related to selective capture of spent shell casings

Systems and methods according to the present invention comprise a selectively engageable system for capturing spent bullet casings. A capture bag may be coupled to a rifle through a cover and slider. The cover holds the bag in place over the rifle ejection port, allowing the user to collect spent bullet casings. The slider allows the user to engage or disengage the system through a tension system.