Squeeze Bags

Patents tagged Squeeze Bags

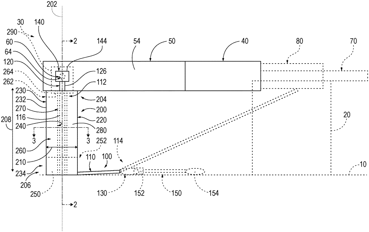
Jun 24, 2025

US12339095 - Sling-attached squeeze bags, slings for sling- attached squeeze bags, shoulder-fired projectile weapons that utilize sling-attached squeeze bags, and related methods

Sling-attached squeeze bags, slings for sling-attached squeeze bags, shoulder-fired projectile weapons that utilize sling-attached squeeze bags, and related methods. The squeeze bags include a cover material that defines an enclosed bag volume. The squeeze bags also include a sling-receiving region that is sized to receive a sling strap of a sling of the shoulder-fired projectile weapon and a particulate fill-material positioned within the enclosed bag volume. The slings include a sling strap that defines a bag-receiving strap region configured to be received within a sling-receiving region of a sling-attached squeeze bag, a first attachment strap extending from a first end region of the sling strap, and a second attachment strap extending from the first end region of the sling strap. The slings also include a first sling-attachment structure operatively attached to the first attachment strap and a second sling-attachment structure operatively attached to the second attachment strap.