Stock

Patents tagged Stock

May 19, 2026

US12631423 - Firearm stock

A firearm stock includes a comb and a storage cavity that includes an opening extending through at least a portion of the comb. A storage lid is configured to at least partially cover the opening, wherein the storage lid has an open position and a closed position. In some embodiments, a cheek riser is attached to the storage lid. Other firearm stocks and firearm stock accessories are disclosed.

May 5, 2026

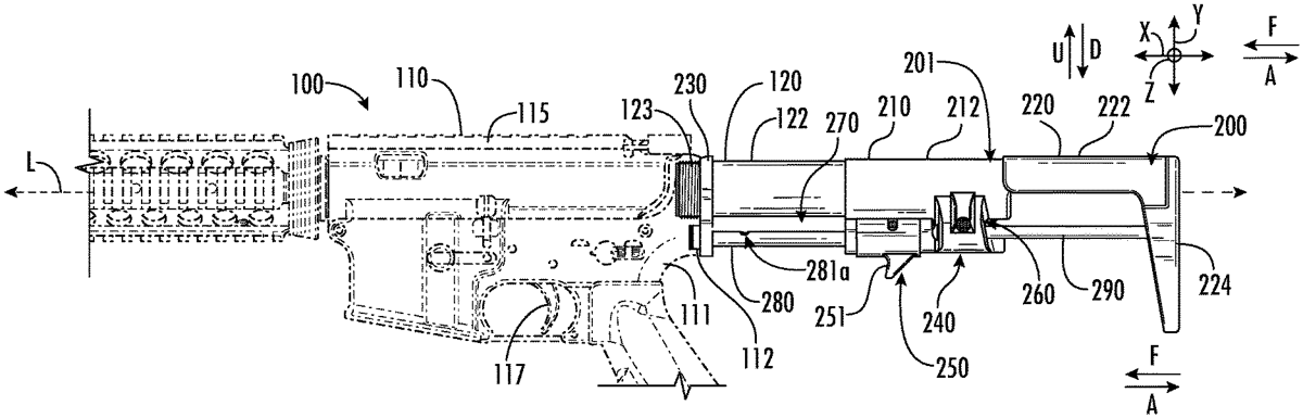
US12618625 - Compact stock for AR-style firearms

A compact stock for an AR-style firearm includes a receiver extension configured to attach to a lower receiver, a buffer assembly receivable in the receiver extension, a buffer biasing member receivable in the receiver extension, and a buffer locking mechanism. The buffer assembly is configured to reciprocate between a retracted position wherein the buffer assembly is contained within the receiver extension, and an extended position wherein the buffer assembly is in-battery within an upper receiver. The buffer biasing member is configured to bias the buffer assembly toward the extended position. The buffer locking mechanism is configured to selectably retain the buffer assembly and the buffer biasing member within the receiver extension when the buffer assembly is in the retracted position such that the upper receiver is rotatable relative to the lower receiver about a forward take down pin of the firearm unimpeded by the buffer assembly and buffer biasing member.

Apr 14, 2026

US12601559 - Folding firearm stock and related methods

Stocks for a rifle or other firearm transition between a deployed configuration and a stowed configuration. In the stowed configuration, a buttstock of the stock is positioned to at least partially surround the scope within an internal volume of the buttstock. The buttstock covers at least a portion of the rifle scope without needing to contact the scope, and is rigid enough to protect the scope from impacts. When the firearm is ready to be used, the stock may be deployed to reveal the scope and the stock may be positioned to serve in a conventional manner for the user to rest their shoulder against. To fold or unfold the stock, a grip and buttstock of the stock are rotated with respect to a forestock of the stock. Systems include both such a folding stock and a rifle or other firearm to which the stock is coupled.

Apr 14, 2026

US12601560 - Buffer tube apparatus

A buffer tube apparatus for a weapon includes an outer tube defining a longitudinal axis, the outer tube having a first end configured to be coupled to the weapon and a second end opposite the first end, the second end configured to be coupled to a stock. A buffer assembly includes a shock absorber and is disposed within the outer tube. The buffer assembly is configured to absorb an impact of recoil generated by the weapon. An adjustment bar is configured to interact with the stock. The adjustment bar is coupled to the buffer assembly and slidable with respect to the outer tube along the longitudinal axis.

Mar 17, 2026

US12578164 - Firearm stock with adjustable length of pull

A firearm stock includes a stock body slidably mounted on a beam. A lever attached to the stock body can be moved between a locked position and at least one unlocked position, where operating the lever moves a locking mechanism between locked and unlocked positions. For example, when the lever is in a first unlocked position, the locking mechanism permits longitudinal adjustment of the stock body along the beam. When the lever is in a second unlocked position the locking mechanism permits the stock body to be slidably removed from the beam. In one example, the lower portion of the stock body defines a plurality of cam pathways for pins that secure the lever to the stock body. Forward cam pathways permit either a pivoting movement about the rear pin or a downward and forward shifting movement.

Feb 10, 2026

US12546561 - Adjustable comb riser for firearm and non-firearm stock and associated methods

An adjustable comb riser has an elongated stock profile that protrudes above the factory firearm or non-firearm stock, a rear face that clamps between the factory stock backplate and factory recoil pad, using the recoil pad screw holes in the stock backplate without modification. The rear face includes slots that will allow the riser to adjust vertically up and down in order to give the shooter a proper cheek rest on the firearm or non-firearm.

Jan 6, 2026

US12516897 - Compact stock for AR-style firearms

A compact stock for an AR-style firearm includes a receiver extension configured to attach to a lower receiver, a buffer assembly receivable in the receiver extension, a buffer biasing member receivable in the receiver extension, and a buffer locking mechanism. The buffer assembly is configured to reciprocate between a retracted position wherein the buffer assembly is contained within the receiver extension, and an extended position wherein the buffer assembly is in-battery within an upper receiver. The buffer biasing member is configured to bias the buffer assembly toward the extended position. The buffer locking mechanism is configured to selectably retain the buffer assembly and the buffer biasing member within the receiver extension when the buffer assembly is in the retracted position such that the upper receiver is rotatable relative to the lower receiver about a forward take down pin of the firearm unimpeded by the buffer assembly and buffer biasing member.

Dec 2, 2025

US12487052 - Stock for a firearm

A stock for a firearm includes a mount, a first member, and a second member. The mount is configured to be coupled to a main body of the firearm. The first member is configured to move along a longitudinal axis defined by the firearm relative to the mount. The second member is configured to move along the longitudinal axis relative to the first member.

Nov 25, 2025

US12480732 - Gun stock catch

A shooting pocket for stabilizing a firearm includes a frame for securing to equipment worn by a shooter. A pivot plate is pivotally mounted to the frame. A receiving area receives a buttstock of a firearm and pivots with the pivot plate to facilitate directional manipulation and aiming of the firearm. The pivot plate defines a pivot ball support surrounding a central orifice on the inner facing side. The pivot ball support defines a pivot ball engaging surface wherein the pivot ball engaging surface defines a second plane that is offset from the first plane by 30 to 10 degrees. An inner facing said of a catch plate has mating engagement with the outer facing side of the pivot plate. The inner facing side of the catch plate defines a concave pivot ball rotation member a pivot ball. A biasing member returns the pivot plate to a pre-determined position.

Oct 28, 2025

US12453415 - Firearm holder including a stock lock and muzzle holder

In some embodiments, a device includes a firearm holder including a stock lock. The stock lock may include a first jaw, a second jaw, a pivot pin to couple the first jaw to the second jaw. The first jaw may pivot about the pivot pin relative to the second jaw and may open and close about a neck of a stock of a firearm. The stock lock may further include a rotatable element coupled to the first jaw to allow at least a portion of the first jaw to rotate about the rotatable element to move into and out of alignment with the first jaw. In some implementations, the stock lock may include a locking mechanism. In some aspects, the stock lock may include a cowl extending about at least a portion of the locking mechanism.

Oct 7, 2025

US12435948 - Adjustable, pivoting gun stock and method of use

An adjustable shoulder rest for a rear stock for a rifle or shotgun, with features to customize the shoulder to firearm interface, providing diverse adjustment options pursuant to user preference and/or circumstances of use. The present invention further provides a pivotal shoulder rest to facilitate customized position adjustment to the firearms orientation vis-a-vis the operator, including the option to provide a pivotal or swivel connection for adjustment of the firearm during operation as well as the option of providing haptic feedback or pivotal resistance with return-to-center capability to communicate to the user useful feedback, and/or facilitate line of sight alignment of the firearm at various angles relative to the longitudinal axis thereof in line with one or more sighting apparatus mounted thereto.

Jun 17, 2025

US12332015 - Firearm stock with hydraulic dampening

The disclosure relates to the firearms and accessories manufacturing sector, and more specifically to a stock with a hydraulic damping system and anatomical regulation that supports and controls the shooter, allowing them to hold the weapon stably while aiming and firing accurately. This invention discloses a stock with a hydraulic damping system that aims to significantly reduce the impact of firing on firearms. The stock uses an internal hydraulic mechanism that absorbs and disperses some of the energy generated by the impact, providing a smoother and more comfortable shooting experience for the shooter. The hydraulic damping system consists of a piston, oil chamber and valve assembly designed to work together. When the gun is fired, the impact causes the piston to move inside the oil chamber, compressing the hydraulic fluid. This movement creates a controlled resistance, which helps cushion the impact and dissipate the energy of the gun shot.

Jun 17, 2025

US12332016 - Firearm stock or arm brace

This disclosure describes a firearm stock or arm brace with an adjustable length of pull. The stock or arm brace can include a body and lower stock, where the body includes a buffer tube receiving aperture and the lower stock includes a hollow cavity with a plunger and two concentric springs therein. One or more buttons can be affixed to sides of the plunger in the hollow cavity that can be used to depress the plunger against the force of one or both of the springs. One of the two springs may be shorter than the other and have a greater spring constant than the longer spring. Depressing the plunger against the taller spring may allow a user to adjust the length of pull while greater pressure and engagement of the second spring allows the stock or arm brace to be removed from a buffer tube or receiver extension.

May 6, 2025

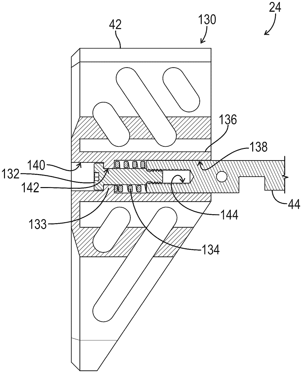
US12292255 - Adjustable stock

A stock has a buttstock. The buttstock includes an adjustable comb. The comb is connected to a body of the buttstock via a rod extending into the body of the buttstock and movable along a first axis. The position of the rod and comb is locked and unlocked by a latch. The buttstock includes an adjustable recoil pad. The recoil pad is connected to the body via a threaded rod mated with a nut embedded within an end of the body. The threaded rod and recoil pad move a direction along a longitudinal axis of the body depending on the rotation of the nut.